TOP
|
特許
|
意匠
|
商標
特許ウォッチ
Twitter
他の特許を見る
10個以上の画像は省略されています。
公開番号
2025154182
公報種別
公開特許公報(A)
公開日
2025-10-10
出願番号
2024057050
出願日
2024-03-29
発明の名称
車両構造
出願人
スズキ株式会社
代理人
個人
,
個人
,
個人
,
個人
,
個人
,
個人
主分類
B62D
25/08 20060101AFI20251002BHJP(鉄道以外の路面車両)
要約
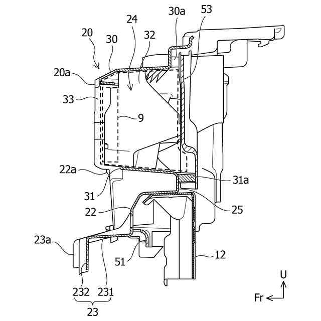
【課題】センサ周辺部の変位を抑制する。
【解決手段】車両構造2は、車両外側の意匠面を構成すると共に車両1の車体構造体3に支持されるアウタパネル4と、アウタパネル4をアウタパネル4の裏面側から補強する補強部材5と、補強部材5に取り付けられ車両の外部環境を検出するセンサ装置9と、車体構造体3の剛性よりも低い剛性を有すると共に補強部材5に隣接して配置される低剛性部材6と、を備え、補強部材5のうちのセンサ装置9の周辺部位であるセンサ周辺部20が低剛性部材6と連結されている。
【選択図】図9
特許請求の範囲
【請求項1】
車両外側の意匠面を構成すると共に車両の車体構造体に支持されるアウタパネルと、
前記アウタパネルを当該アウタパネルの裏面側から補強する補強部材と、
前記補強部材に取り付けられ車両の外部環境を検出するセンサ装置と、
を備えた車両構造であって、
前記車体構造体の剛性よりも低い剛性を有すると共に、前記補強部材に隣接して配置される低剛性部材を備え、
前記補強部材のうちの前記センサ装置の周辺部位であるセンサ周辺部が前記低剛性部材と連結されていることを特徴とする車両構造。
続きを表示(約 1,400 文字)
【請求項2】
前記センサ周辺部は、互いに対向する一対の対向部を有し、
前記低剛性部材は、前記一対の対向部同士を連結する連結部を有することを特徴とする請求項1に記載の車両構造。
【請求項3】
前記センサ周辺部は、前記一対の対向部として、上下方向に対向して配置される上壁及び下壁を有し、
前記センサ装置は、前記上壁と前記下壁との間に配置されており、
前記連結部は、上下方向に延びる連結面部を有し、
前記連結面部は、上下方向に延びる段差部を有することを特徴とする請求項2に記載の車両構造。
【請求項4】
前記センサ周辺部は、前記アウタパネルと対向する側に、前記センサ装置が取り付けられるセンサ取付壁を有し、
前記センサ周辺部は、前記一対の対向部として、上下方向に対向して配置される上壁及び下壁を有し、
前記センサ装置は、前記上壁と前記下壁との間に配置されており、
前記連結部は、前記センサ周辺部の前記アウタパネルと対向する側とは反対側に配置され、
前記センサ取付壁と、前記上壁と、前記下壁と、前記連結部とによって前記センサ装置が収容されるセンサ収容空間が形成され、
前記センサ収容空間の少なくとも一部は、側面視で、前記センサ取付壁と、前記上壁と、前記下壁と、前記連結部とによって囲われていることを特徴とする請求項2に記載の車両構造。
【請求項5】
前記センサ周辺部は、前記アウタパネルと対向する側に、前記センサ装置のセンサブラケットが取り付けられるセンサ取付壁を有し、
前記センサ周辺部は、前記一対の対向部として、車幅方向に対向して配置される第1側部及び第2側部を有し、
前記センサ装置は、前記第1側部と前記第2側部との間に配置されており、
前記連結部は、前記センサ周辺部の前記アウタパネルと対向する側とは反対側に配置され、
前記センサ取付壁と、前記第1側部と、前記第2側部と、前記連結部とによって前記センサ装置が収容されるセンサ収容空間が形成され、
前記センサ収容空間の少なくとも一部は、上面視で、前記センサ取付壁もしくは前記センサブラケットと、前記第1側部と、前記第2側部と、前記連結部とによって囲われていることを特徴とする請求項2に記載の車両構造。
【請求項6】
前記センサ周辺部は、前記アウタパネルと対向する側に、前記センサ装置が取り付けられるセンサ取付壁を有し、
前記センサ取付壁の裏面には、前記センサ装置が固定されるセンサ固定部が設けられ、
前記センサ周辺部は、前記センサ固定部に隣接し前記センサ取付壁の前記裏面から前後方向に延びる隣接部を有し、
前記隣接部に前記低剛性部材が連結されることを特徴とする請求項1に記載の車両構造。
【請求項7】
前記隣接部は、筒状の周壁部と当該周壁部の前記アウタパネルの側の端とは反対側の端に位置する端壁部とを有することを特徴とする請求項6に記載の車両構造。
【請求項8】
前記隣接部は、前記センサ装置の左右のそれぞれに配置され、
左右の前記隣接部のそれぞれに前記低剛性部材が連結されることを特徴とする請求項6または7に記載の車両構造。
発明の詳細な説明
【技術分野】
【0001】
本発明は、自動車などの車両構造に関し、詳しくは、車両の前部または後部の車両構造に関する。
続きを表示(約 1,500 文字)
【背景技術】
【0002】
自動車等の車両の前部や後部には、車両外側の意匠面を形成するバンパやグリルといったアウタパネル(外装部材とも言う)が設けられている。そして、アウタパネルの裏面側には、車両の外部環境をカメラ、レーダ、超音波などを用いて検出するセンサ装置が配置されることがある。
【0003】
車両の前部にセンサ装置を配置するための構造を有する、車両構造の一例として特許文献1に記載された車両構造が知られている。特許文献1に記載された車両構造では、レーダアンテナがフロントグリルのパネル材を裏面側から補強するフレーム材に取り付けられている。
【先行技術文献】
【特許文献】
【0004】
特開2021-59268号公報
【発明の概要】
【発明が解決しようとする課題】
【0005】
ところで、特許文献1に開示された車両構造のように、パネル材を裏面側からフレーム材といった補強部材によって補強する場合には、補強部材は、衝突時における衝撃を吸収するために、金属製薄板材や樹脂成形品などの部材により形成される。その結果、補強部材に対する剛性付与について、制約がある。
【0006】
そして、レーダアンテナが上述の制約を受けるフレーム材に取り付けられる場合、フレーム材におけるレーダアンテナ周辺部が走行時の振動や軽衝突等の衝撃に起因して弾性変形し、レーダアンテナ周辺部の弾性変形によってレーダアンテナの位置が変位する可能性がある。その結果、レーダアンテナの検出精度が低下するおそれがある。
【0007】
本発明は、上記のような実状に鑑みてなされたものであり、その目的は、アウタパネルを補強する補強部材におけるセンサ周辺部の変位を抑制することができる車両構造を提供することである。
【課題を解決するための手段】
【0008】
本発明の一態様によると、車両外側の意匠面を構成すると共に車両の車体構造体に支持されるアウタパネルと、アウタパネルを当該アウタパネルの裏面側から補強する補強部材と、補強部材に取り付けられ車両の外部環境を検出するセンサ装置と、を備えた車両構造であって、車体構造体の剛性よりも低い剛性を有すると共に、補強部材に隣接して配置される低剛性部材を備え、補強部材のうちのセンサ装置の周辺部位であるセンサ周辺部が低剛性部材と連結されている、車両構造が提供される。
【発明の効果】
【0009】
本発明の一態様によれば、アウタパネルを補強する補強部材におけるセンサ周辺部の変位を抑制することのできる車両構造を提供することができる。
【図面の簡単な説明】
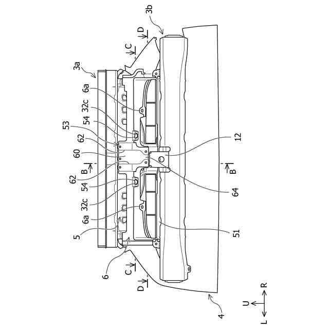
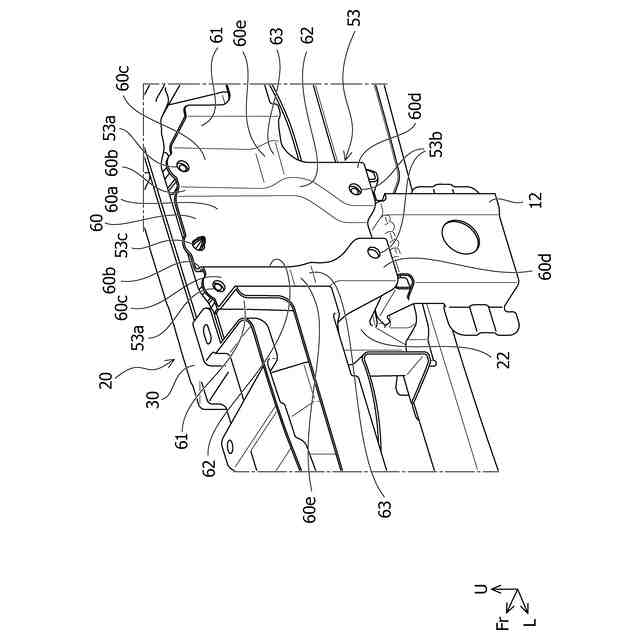
【0010】
本発明の実施形態による車両構造を前方側から視た斜視図である。
車両構造からアウタパネル及びバンパフェイスを除いた状態を前方側から視た斜視図である。
車両構造からアウタパネル及びバンパフェイスを除いた状態の側面図である。
車両構造からアウタパネル及びバンパフェイスを除いた状態を示す正面図である。
車両構造の補強部材を背面側から視た拡大斜視図である。
車両構造の背面図である。
車両構造の低剛性部材を前方側から視た斜視図である。
車両構造を背面側から視た車幅方向中央の拡大斜視図である。
図3におけるA-A位置での断面図である。
図5におけるB-B位置での断面図である。
図5におけるC-C位置での断面図である。
図5におけるD-D位置での断面図である。
【発明を実施するための形態】
(【0011】以降は省略されています)
この特許をJ-PlatPat(特許庁公式サイト)で参照する
関連特許
スズキ株式会社
車両構造
27日前
スズキ株式会社
車両構造
27日前
スズキ株式会社
車両構造
27日前
スズキ株式会社
車両構造
27日前
スズキ株式会社
車両構造
27日前
スズキ株式会社
開閉機構
1日前
スズキ株式会社
車室構造
27日前
スズキ株式会社
車室構造
27日前
スズキ株式会社
車室構造
27日前
スズキ株式会社
車両構造
27日前
スズキ株式会社
車両構造
27日前
スズキ株式会社
車両構造
27日前
スズキ株式会社
シート構造
1日前
スズキ株式会社
シート構造
1日前
スズキ株式会社
車両検査装置
22日前
スズキ株式会社
燃料電池車両
1か月前
スズキ株式会社
車両側部構造
9日前
スズキ株式会社
燃料電池車両
1か月前
スズキ株式会社
車両後部構造
21日前
スズキ株式会社
車両用荷室構造
27日前
スズキ株式会社
車体ルーフ構造
27日前
スズキ株式会社
車両の制御装置
1か月前
スズキ株式会社
車両用送風構造
1か月前
スズキ株式会社
車両用送風構造
1か月前
スズキ株式会社
車両用制御装置
22日前
スズキ株式会社
車両用送風構造
1か月前
スズキ株式会社
車両の制御装置
13日前
スズキ株式会社
車両の制御装置
20日前
スズキ株式会社
車両用制御装置
10日前
スズキ株式会社
車両の可動ゲート
16日前
スズキ株式会社
衝突被害軽減装置
1か月前
スズキ株式会社
車両の速度制御装置
今日
スズキ株式会社
車両の照明制御装置
1か月前
スズキ株式会社
車両の熱害防止構造
1か月前
スズキ株式会社
電動車両の後部構造
21日前
スズキ株式会社
車両の制御システム
1か月前
続きを見る
他の特許を見る