TOP
|
特許
|
意匠
|
商標
特許ウォッチ
Twitter
他の特許を見る
公開番号
2025166600
公報種別
公開特許公報(A)
公開日
2025-11-06
出願番号
2024070744
出願日
2024-04-24
発明の名称
車両の速度制御装置
出願人
スズキ株式会社
代理人
個人
,
個人
,
個人
,
個人
,
個人
,
個人
主分類
B60W
30/08 20120101AFI20251029BHJP(車両一般)
要約
【課題】駐車場への入場と退場とを検知するための外部システムを設けることなく、駐車操作の際にアクセルペダルの誤操作による急加速や急発進を抑制する。
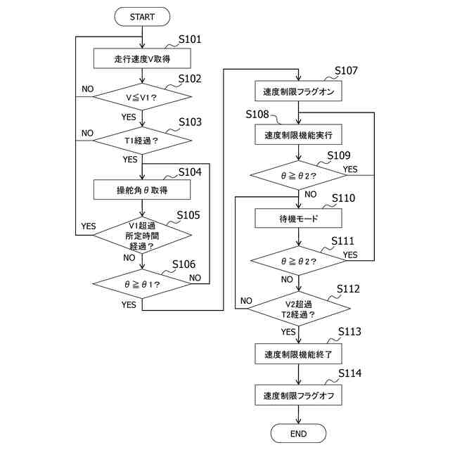
【解決手段】駐車操作の際に速度制限制御を行うための車両の速度制御装置は、走行速度Vと、操舵角検出部から取得される操舵角θとに基づいて、走行速度Vが第1速度V1以下の状態が第1時間T1継続し、かつ、操舵角θが第1角度θ1以上である場合に、速度制限機能を実行するための作動条件を満足すると判定するように構成された条件判定部と、条件判定部によって作動条件を満足すると判定されると、車両の走行速度Vを設定上限値以下に制限する速度制限機能を実行するように構成された速度制限部とを備える。
【選択図】図2
特許請求の範囲
【請求項1】
駐車操作の際に速度制限制御を行うための車両の速度制御装置であって、
前記車両の走行速度を検出するように構成された速度検出部と、
前記車両の操舵角を検出するように構成された操舵角検出部と、
前記速度検出部から取得される前記走行速度と、前記操舵角検出部から取得される前記操舵角とに基づいて、前記走行速度が第1速度以下の状態が第1時間継続し、かつ、前記操舵角が第1角度以上である場合に、速度制限機能を実行するための作動条件を満足すると判定するように構成された条件判定部と、
前記条件判定部によって前記作動条件を満足すると判定されると、前記車両の走行速度を設定上限値以下に制限する前記速度制限機能を実行するように構成された速度制限部と
を備える、車両の速度制御装置。
続きを表示(約 660 文字)
【請求項2】
前記条件判定部は、前記速度制限機能の実行中、前記操舵角検出部から取得される前記操舵角が第2角度を下回ると、待機条件を満足すると判定し、
前記速度制限部は、前記条件判定部によって前記待機条件を満足すると判定されると、前記速度制限機能を待機モードに設定する、請求項1に記載の車両の速度制御装置。
【請求項3】
前記条件判定部は、前記速度制限機能の前記待機モードにおいて、前記速度検出部から取得される前記走行速度が第2速度より大きい状態が第2時間継続すると、終了条件を満足すると判定し、
前記速度制限部は、前記条件判定部によって前記終了条件を満足すると判定されると、前記速度制限機能を終了する、請求項2に記載の車両の速度制御装置。
【請求項4】
前記速度制限部は、前記速度制限機能の前記待機モードにおいて、前記操舵角検出部から取得される前記操舵角が前記第2角度以上となると、前記速度制限機能の実行を再開する、請求項2に記載の車両の速度制御装置。
【請求項5】
前記第2角度は、前記第1角度以下である、請求項2から4のいずれか一項に記載の車両の速度制御装置。
【請求項6】
前記速度制限機能の前記待機モードにおいて前記車両のスタートスイッチがオフされ、その後、前記スタートスイッチがオンされた場合、前記速度制限部は、前記速度制限機能の前記待機モードを維持する、請求項2から4のいずれか一項に記載の車両の速度制御装置。
発明の詳細な説明
【技術分野】
【0001】
本発明は、車両の速度制御装置に関する。
続きを表示(約 2,000 文字)
【背景技術】
【0002】
ドライバがブレーキペダルを踏む意図を有しながら誤ってアクセルペダルを踏み込んだ場合に、車両の急加速や急発進などの車速上昇を抑制する速度制御装置が知られている。例えば、特許文献1には、狭域通信システムを使って自車両の駐車場への入場と退場とを検知する入退場検知手段を備え、自車両の駐車場への入場が検知されてから自車両の駐車場からの退場が検知されるまでの期間中、アクセルペダル操作に応じて発生する自車両の駆動力を抑制する、あるいは自車両の車速を低車速上限値以下に制限するように構成された車両制御システムが開示されている。特許文献1に記載された車両制御システムにおいては、車載機と路側機との間を無線通信で結ぶ狭域通信システムを用いて入退場検知手段を構成している。
【先行技術文献】
【特許文献】
【0003】
特開2021-85375号公報
【発明の概要】
【発明が解決しようとする課題】
【0004】
上述した特許文献1に記載の車両制御システムにおいては、駐車場における速度制限を実行するために、駐車場への入場と退場とを検知するために、車載機と駐車場に設けられた路側機との間の狭いエリアにおける無線通信を行う外部システムを設ける必要があり、システムが複雑かつ高価になってしまう。また、路側機を備えていない駐車場では、駐車場への入場と退場とを検知することができず、駐車場においてアクセルペダルの誤操作による急加速や急発進などを抑制するための車両の速度制限を実行することができない。
【0005】
本発明は、上記のような実状に鑑みてなされたものであり、その目的は、駐車場への入場と退場とを検知するための外部システムを設けることなく、駐車操作の際にアクセルペダルの誤操作による急加速や急発進を抑制する速度制限制御を実行することができる車両の速度制御装置を提供することにある。
【課題を解決するための手段】
【0006】
本発明の一態様によれば、駐車操作の際に速度制限制御を行うための車両の速度制御装置は、前記車両の走行速度を検出するように構成された速度検出部と、前記車両の操舵角を検出するように構成された操舵角検出部と、前記速度検出部から取得される前記走行速度と、前記操舵角検出部から取得される前記操舵角とに基づいて、前記走行速度が第1速度以下の状態が第1時間継続し、かつ、前記操舵角が第1角度以上である場合に、速度制限機能を実行するための作動条件を満足すると判定するように構成された条件判定部と、前記条件判定部によって前記作動条件を満足すると判定されると、前記車両の走行速度を設定上限値以下に制限する前記速度制限機能を実行するように構成された速度制限部とを備える。
【発明の効果】
【0007】
本発明に係る車両の速度制御装置は、駐車場への入場と退場とを検知するための外部システムを設けることなく、駐車操作の際にアクセルペダルの誤操作による急加速や急発進を抑制する速度制限制御を実行することができる。
【図面の簡単な説明】
【0008】
図1は、本発明の一実施の形態における車両の速度制御装置の概略構成を示すブロック図である。
図2は、一実施の形態における速度制限制御の流れを示すフローチャートである。
【発明を実施するための形態】
【0009】
以下、本発明の一実施の形態に係る車両の速度制御装置について、図面を参照しながら詳細に説明する。図1は、本実施の形態における車両の速度制御装置の概略構成を示すブロック図である。本実施の形態における車両の速度制御装置は、速度制限機能を有し、駐車操作の際に速度制限制御を行うように構成されている。具体的には、本実施の形態における車両の速度制御装置は、駐車操作の際にアクセルペダルの誤操作による急加速や急発進を抑制するために車両の走行速度を制限するように構成されている。
【0010】
ここで、駐車操作は、操舵を伴う運転操作であり、具体的には、車両を駐車区画内に移動させるための運転操作、および駐車場内で駐車スペースを探索しながら移動するための運転操作を含む。駐車場は、複数の駐車区画が配置され、車両が走行するための道路とは区別されたエリアであり、入口および出口を備えて駐車場として整備されたエリアには限定されない。駐車場は、車両が通行するための通路を含み、通路同士が交差した交差点も含み得る。アクセルペダルの誤操作は、ドライバがブレーキペダルを踏む意図を有しながら誤ってアクセルペダルを踏み込んだ場合、およびアクセルペダルを軽く踏む意図を有しながら誤ってアクセルペダルを大きく踏み込んだ場合などが考えられる。
(【0011】以降は省略されています)
この特許をJ-PlatPat(特許庁公式サイト)で参照する
関連特許
スズキ株式会社
車両構造
27日前
スズキ株式会社
開閉機構
1日前
スズキ株式会社
車両構造
27日前
スズキ株式会社
車両構造
27日前
スズキ株式会社
車室構造
27日前
スズキ株式会社
車室構造
27日前
スズキ株式会社
車室構造
27日前
スズキ株式会社
車両構造
27日前
スズキ株式会社
車両構造
27日前
スズキ株式会社
車両構造
27日前
スズキ株式会社
車両構造
27日前
スズキ株式会社
車両構造
27日前
スズキ株式会社
シート構造
1日前
スズキ株式会社
シート構造
1日前
スズキ株式会社
車両検査装置
22日前
スズキ株式会社
車両後部構造
21日前
スズキ株式会社
燃料電池車両
1か月前
スズキ株式会社
車両用変速機
1か月前
スズキ株式会社
燃料電池車両
1か月前
スズキ株式会社
モータケース
1か月前
スズキ株式会社
車両側部構造
9日前
スズキ株式会社
車両用バンパ
1か月前
スズキ株式会社
車両前部構造
1か月前
スズキ株式会社
車両用荷室構造
27日前
スズキ株式会社
車両の制御装置
1か月前
スズキ株式会社
車両用送風構造
1か月前
スズキ株式会社
車両用送風構造
1か月前
スズキ株式会社
車両用送風構造
1か月前
スズキ株式会社
車両の制御装置
1か月前
スズキ株式会社
積立金管理装置
1か月前
スズキ株式会社
車両用制御装置
1か月前
スズキ株式会社
車体ルーフ構造
27日前
スズキ株式会社
車両の制御装置
13日前
スズキ株式会社
車両用制御装置
22日前
スズキ株式会社
車両の制御装置
20日前
スズキ株式会社
車両用制御装置
10日前
続きを見る
他の特許を見る