TOP
|
特許
|
意匠
|
商標
特許ウォッチ
Twitter
他の特許を見る
10個以上の画像は省略されています。
公開番号
2025153845
公報種別
公開特許公報(A)
公開日
2025-10-10
出願番号
2024056504
出願日
2024-03-29
発明の名称
車両構造
出願人
スズキ株式会社
代理人
個人
,
個人
,
個人
,
個人
,
個人
,
個人
主分類
B60R
19/52 20060101AFI20251002BHJP(車両一般)
要約
【課題】外装部材の車両内側に設けられるセンサ装置の変位を抑制して所望の検出精度を維持できる車両構造を提供する。
【解決手段】車両構造1は、車両外側の意匠面を形成する外装部材2と、外装部材2の車両内側に設けられ、車外環境を検出するセンサ装置Sを支持するセンサ支持部材3と、を備える。センサ支持部材3は、センサ装置Sを支持する枠状のセンサ支持部31と、外装部材2の通気部23内の通気領域を複数の小領域に仕切る仕切部32と、を含む。仕切部32は、各小領域の境界に配置される仕切壁32Aと、仕切壁32Aを支持する仕切枠32Bと、を有し、センサ支持部31は、仕切枠32Bに接続されている。
【選択図】図5
特許請求の範囲
【請求項1】
車両外側の意匠面を形成する外装部材と、
前記外装部材の車両内側に設けられ、車外環境を検出するセンサ装置を支持するセンサ支持部材と、を備える車両構造であって、
前記外装部材は、車両内外方向に空気が流通する通気部を含み、
前記センサ支持部材は、
前記センサ装置を支持する枠状のセンサ支持部と、
前記通気部内の通気領域を複数の小領域に仕切る仕切部と、を含み、
前記仕切部は、
各小領域の境界に配置される仕切壁と、
前記仕切壁を支持する仕切枠と、を有し、
前記センサ支持部は、前記仕切枠に接続されていることを特徴とする車両構造。
続きを表示(約 910 文字)
【請求項2】
前記外装部材は、車両の前部または後部に設けられ、
前記仕切枠は、車両幅方向に延びる延伸部を有し、
前記センサ支持部は、前記延伸部に接続され、かつ、前記延伸部に対して車両幅方向と交差する方向に突出するように配置されていることを特徴とする請求項1に記載の車両構造。
【請求項3】
前記センサ支持部は、前記延伸部に加えて前記仕切壁にも接続されていることを特徴とする請求項2に記載の車両構造。
【請求項4】
前記センサ支持部は、前記センサ装置が固定されるセンサ固定部を有し、該センサ固定部の車両下方に位置する部分が前記仕切壁に接続されていることを特徴とする請求項1に記載の車両構造。
【請求項5】
前記外装部材は、車両の前部または後部に設けられ、
前記仕切枠は、車両幅方向に延びる延伸部を有し、
前記センサ支持部は、前記センサ装置の車両幅方向両側部が固定される一対の側壁を有し、
前記センサ支持部材は、前記一対の側壁のそれぞれから車両幅方向外側に延出し、前記延伸部に接続される一対のアーム部を含むことを特徴とする請求項1に記載の車両構造。
【請求項6】
前記外装部材は、車両の前部または後部に設けられ、
前記センサ支持部材は、前記センサ支持部と前記仕切枠の外周面とを接続する接続部を含むことを特徴とする請求項1に記載の車両構造。
【請求項7】
前記仕切枠は、車両幅方向に延びる延伸部を有し、
前記センサ支持部は、前記センサ装置が固定されるセンサ固定部を有し、
前記接続部は、
前記センサ固定部の周辺から車両幅方向外側に延出し、前記延伸部の外側面に接続されるアーム部と、
前記アーム部に形成されているリブと、を有していることを特徴とする請求項6に記載の車両構造。
【請求項8】
前記仕切枠および前記接続部は、索状体を保持する索状体保持部をそれぞれ有し、前記索状体を介して互いに接続されていることを特徴とする請求項6に記載の車両構造。
発明の詳細な説明
【技術分野】
【0001】
本発明は、車外環境を検出するセンサ装置をアウタパネルに配置するための構造を含む車両構造に関する。
続きを表示(約 2,300 文字)
【背景技術】
【0002】
一般に、自動車等の車両の前部や後部には、車両外側の意匠面を構成するバンパやグリルなどの外装部材が設けられている。この外装部材の裏面などには、車外環境を検出するセンサ装置が設けられることがある。センサ装置としては、ミリ波やマイクロ波などの電波を検出波として用いるレーダ、レーザ光を検出波として用いるLiDAR(light detection and ranging)、超音波などの音波を検出波として用いる音波センサ(超音波センサ/ソナー)、撮像により車外環境を検出するカメラ(撮像装置)などがある。外装部材のうちセンサ装置に対向する領域は、検出波が透過可能な材料で構成された検出波透過部として形成され、センサカバーとして機能している。そして、検出精度を高めるべく、外装部材の検出波透過部(センサカバー)とセンサ装置との相対的な位置関係(相対距離及び相対角度)について、高い精度が要求される。
【0003】
センサ装置を外装部材に配置するための構造を有する従来の車両構造の一例として、特許文献1には、フロントグリルのパネル材を補強するフレーム材にレーダアンテナを固定する構造が開示されている。このような構造とすることで、検出波透過部(センサカバー)として機能するパネル材とレーダアンテナとの相対的な位置関係が調整し易くなる。
【先行技術文献】
【特許文献】
【0004】
特開2021-59268号公報
【発明の概要】
【発明が解決しようとする課題】
【0005】
ところで、上記特許文献1に開示されているフロントグリルのように、外装部材(パネル材)が車両内外方向に空気を流通させる通気部を有している場合、センサ装置(レーダアンテナ)を支持するセンサ支持部材(フレーム材)の側にも通気部を設けるか、または、外装部材の通気部を避けるようにセンサ支持部材の配置若しくは形状を設計する必要がある。この場合、センサ支持部材の形状や材質によっては、センサ装置周辺の支持部の剛性を十分に確保できなくなる可能性がある。支持部の剛性が不足すると、車両走行時の振動や風圧、軽衝突の外力等により、センサ装置の位置が変化してしまい、センサ装置の検出精度が低下するおそれがある。特に、開口面積の広い通気部が外装部材に設けられている場合に当該問題が生じ易く、センサ装置の変位を抑制して所望の検出精度を維持するという点で、改善の余地があった。
【0006】
本発明は上記の点に着目してなされたもので、外装部材の車両内側に設けられるセンサ装置の変位を抑制して所望の検出精度を維持できる車両構造を提供することを目的とする。
【課題を解決するための手段】
【0007】
上記の目的を達成するため本発明の一態様は、車両外側の意匠面を形成する外装部材と、前記外装部材の車両内側に設けられ、車外環境を検出するセンサ装置を支持するセンサ支持部材と、を備える車両構造を提供する。この車両構造において、前記外装部材は、車両内外方向に空気が流通する通気部を含む。前記センサ支持部材は、前記センサ装置を支持する枠状のセンサ支持部と、前記通気部内の通気領域を複数の小領域に仕切る仕切部と、を含む。前記仕切部は、各小領域の境界に配置される仕切壁と、前記仕切壁を支持する仕切枠と、を有し、前記センサ支持部は、前記仕切枠に接続されている。
【発明の効果】
【0008】
本発明に係る車両構造によれば、外装部材の車両内側に設けられるセンサ装置の変位を抑制して所望の検出精度を維持することができる。
【図面の簡単な説明】
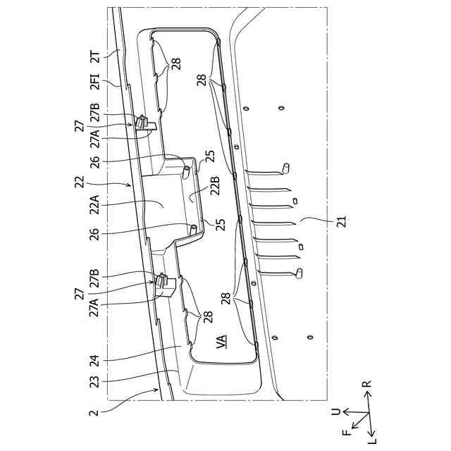
【0009】
本発明の一実施形態に係る車両構造を前方斜め側方から見た斜視図である。
図1の車両構造の分解斜視図である。
図1のA-A線に沿って切断した断面を含む車両構造を後方斜め側方から見た斜視図である。
上記実施形態における外装部材の透過部および通気部の周辺を拡大して後方斜め側方から見た斜視図である。
上記実施形態におけるセンサ支持部材を拡大して前方斜め側方から見た斜視図である。
図5のセンサ支持部材を後方斜め側方から見た斜視図である。
上記実施形態に関連するセンサ支持部材の変形例を前方斜め側方から見た斜視図である。
図7の変形例を後方斜め側方から見た斜視図である。
上記実施形態に関連するセンサ支持部材の他の変形例を示す概略正面図である。
上記実施形態に関連するセンサ支持部材の別の変形例を示す概略斜視図である。
【発明を実施するための形態】
【0010】
以下、本発明の実施形態について添付図面を参照しながら詳細に説明する。
図1~図3は、本発明の一実施形態に係る車両構造1を説明するための図である。図1は、車両構造1を前方斜め側方から見た斜視図であり、図2は、車両構造1の分解斜視図である。また、図3は、図1のA-A線に沿って切断した断面を含む車両構造1を後方斜め側方から見た斜視図である。なお、以下で説明する各図面において、矢印F方向は車両前後方向で前方を示し、矢印U方向は車両上下方向で上方を示し、矢印R方向および矢印L方向は、車室内から車両前方を見たときの右方および左方を示している。
(【0011】以降は省略されています)
この特許をJ-PlatPat(特許庁公式サイト)で参照する
関連特許
スズキ株式会社
車両構造
24日前
スズキ株式会社
車両構造
24日前
スズキ株式会社
車両構造
24日前
スズキ株式会社
車両構造
24日前
スズキ株式会社
車室構造
24日前
スズキ株式会社
車室構造
24日前
スズキ株式会社
車室構造
24日前
スズキ株式会社
車両構造
24日前
スズキ株式会社
車両構造
24日前
スズキ株式会社
車両構造
24日前
スズキ株式会社
車両構造
24日前
スズキ株式会社
車両後部構造
18日前
スズキ株式会社
車両側部構造
6日前
スズキ株式会社
車両検査装置
19日前
スズキ株式会社
車両の制御装置
10日前
スズキ株式会社
車両用荷室構造
24日前
スズキ株式会社
車両の制御装置
17日前
スズキ株式会社
車両用制御装置
7日前
スズキ株式会社
車両用制御装置
19日前
スズキ株式会社
車体ルーフ構造
24日前
スズキ株式会社
車両の可動ゲート
13日前
スズキ株式会社
車両の制御システム
10日前
スズキ株式会社
車両の制御システム
10日前
スズキ株式会社
電動車両の後部構造
18日前
スズキ株式会社
電動車両の後部構造
18日前
スズキ株式会社
梱包対象物の緩衝構造
1か月前
スズキ株式会社
車両用リアバンパ構造
20日前
スズキ株式会社
キャブオーバー型車両
13日前
スズキ株式会社
エンジンの排気ポート構造
24日前
スズキ株式会社
エンジンのベルト伝動装置
19日前
スズキ株式会社
車両用グロメット周辺構造
25日前
スズキ株式会社
運転支援装置及び運転支援方法
12日前
スズキ株式会社
車両用シートベルトバックル固定構造
12日前
スズキ株式会社
内燃機関のオイルレベルゲージの支持構造
12日前
住友電装株式会社
電気接続箱および制御ユニット
26日前
スズキ株式会社
車両構造
20日前
続きを見る
他の特許を見る