TOP
|
特許
|
意匠
|
商標
特許ウォッチ
Twitter
他の特許を見る
10個以上の画像は省略されています。
公開番号
2025168825
公報種別
公開特許公報(A)
公開日
2025-11-12
出願番号
2024073616
出願日
2024-04-30
発明の名称
エンジンの排気浄化装置
出願人
スズキ株式会社
代理人
弁理士法人東京国際特許事務所
主分類
F01N
3/10 20060101AFI20251105BHJP(機械または機関一般;機関設備一般;蒸気機関)
要約
【課題】 より高い排気浄化率を実現可能なエンジンの排気浄化装置を提供する。
【解決手段】
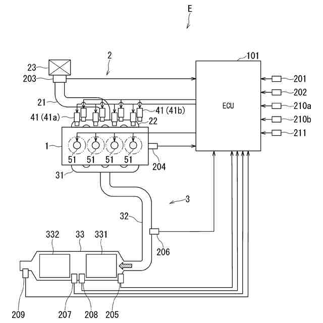
エンジンEの排気浄化装置は、排気浄化触媒331、332と、運転状態センサ201~211と、コントローラ101と、を備える。コントローラ101は、気体燃料によるエンジンEの運転時に、排気の空燃比を、ストイキ相当値に対してリッチ側とリーン側とに振動させる空燃比振動制御を実施する。排気浄化触媒は、排気有害成分の浄化に寄与する触媒成分として、CeZr系触媒とアルミナ系触媒とのうち、CeZr系触媒のみを担持させた第1触媒担持領域(第1排気浄化触媒331)と、排気の流れに関して第1触媒担持領域よりも下流側に設けられ、触媒成分として、CeZr系触媒とアルミナ系触媒とのうち、アルミナ系触媒のみを担持させた第2触媒担持領域(第2排気浄化触媒332)と、を有する。
【選択図】 図1
特許請求の範囲
【請求項1】
燃焼室に気体燃料を供給して運転可能に構成されたエンジンの排気浄化装置であって、
エンジンの排気通路に設置された排気浄化触媒と、
前記エンジンの運転状態に応じた信号を出力可能に構成された運転状態センサと、
前記運転状態センサにより出力された信号に基づき、前記エンジンの運転状態を制御するコントローラと、を備え、
前記コントローラは、前記気体燃料による運転時に、前記排気浄化触媒に流入する排気の空燃比を、ストイキ相当値に対してリッチ側とリーン側とに振動させる空燃比振動制御を実施する空燃比振動制御手段を備え、
前記排気浄化触媒は、
排気有害成分の浄化に寄与する触媒成分として、CeZr系触媒とアルミナ系触媒とのうち、前記CeZr系触媒のみを担持させた第1触媒担持領域と、
排気の流れに関して前記第1触媒担持領域よりも下流側に設けられ、前記触媒成分として、前記CeZr系触媒と前記アルミナ系触媒とのうち、前記アルミナ系触媒のみを担持させた第2触媒担持領域と、を有する、エンジンの排気浄化装置。
続きを表示(約 1,200 文字)
【請求項2】
前記排気浄化触媒は、
前記触媒成分を担持させる担体として、第1担体を有し、前記第1担体に前記第1触媒担持領域が形成された第1排気浄化触媒と、
前記排気の流れに対して前記第1排気浄化触媒よりも下流側に設置され、前記触媒成分を担持させる担体として、前記第1担体とは別体に設けられた第2担体を有し、前記第2担体に前記第2触媒担持領域が形成された第2排気浄化触媒と、を有する、請求項1に記載のエンジンの排気浄化装置。
【請求項3】
前記運転状態センサは、前記排気通路において前記第1排気浄化触媒よりも下流側に設置され、前記第1排気浄化触媒を通過した排気の空燃比を検出する下流側排気センサを含み、
前記コントローラは、前記下流側排気センサにより検出した空燃比に基づき、前記空燃比振動制御により前記空燃比を振動させる際の周波数を制御周波数として特定する制御周波数特定手段をさらに備え、
前記空燃比振動制御手段は、前記制御周波数特定手段により前記制御周波数を特定した後、排気の空燃比を前記制御周波数で振動させる、請求項2に記載のエンジンの排気浄化装置。
【請求項4】
前記下流側排気センサは、前記第1排気浄化触媒と前記第2排気浄化触媒との間で、前記排気通路に設置されている、請求項3に記載のエンジンの排気浄化装置。
【請求項5】
前記制御周波数特定手段は、前記下流側排気センサにより検出した空燃比の最小値または前記空燃比の最大値と最小値との差分が空燃比振動の周波数の対数に対してなす変化の傾きが所定の値に達するときの前記周波数を、前記制御周波数として特定する、請求項3に記載のエンジンの排気浄化装置。
【請求項6】
前記制御周波数特定手段は、前記傾きの絶対値が0.015から0.025までの範囲で予め設定された値に達するときの前記周波数を、前記制御周波数として特定する、請求項5に記載のエンジンの排気浄化装置。
【請求項7】
前記第2排気浄化触媒は、前記第2担体として、排気中の粒子状物質を捕集可能に構成されたフィルタ担体を有する、請求項2に記載のエンジンの排気浄化装置。
【請求項8】
前記コントローラは、
前記第2担体に堆積している粒子状物質が上限堆積量に達したことにより前記第2排気浄化触媒が前記粒子状物質の堆積に対する再生時期にあることを検知する再生時期検知手段と、
前記再生時期検知手段により前記第2排気浄化触媒が前記再生時期にあることを検知した場合に、前記空燃比振動制御を実施する再生実施手段と、をさらに備える、請求項7に記載のエンジンの排気浄化装置。
【請求項9】
前記気体燃料は、メタン系燃料である、請求項1から8のいずれか一項に記載のエンジンの排気浄化装置。
発明の詳細な説明
【技術分野】
【0001】
本発明は、エンジンの排気浄化装置に関する。
続きを表示(約 1,400 文字)
【背景技術】
【0002】
圧縮天然ガス(CNG)を燃料に使用して運転可能なエンジンが存在する。
【0003】
圧縮天然ガスなどの気体燃料以外に液体燃料を使用可能とし、運転時に使用する燃料を液体燃料と気体燃料とで切替可能に構成されたエンジンも存在する。このエンジンは、バイフューエルエンジンと呼ばれ、液体燃料と気体燃料とのそれぞれを貯蔵する燃料タンクが個別に設けられ、燃焼室に供給される燃料が、燃料タンクの残量や運転者による選択に応じて切り替えられる。
【0004】
他方で、排気通路に三元触媒を備えるエンジンにおいて、混合気の空燃比を理論空燃比に対してリッチ側とリーン側とに強制的に振動させることで、触媒による排気浄化率が向上することが知られている。
【0005】
ここで、排気の空燃比がリッチであるとは、排気に含まれる燃料が当量よりも多量であることをいい、リーンであるとは、排気に含まれる燃料が当量よりも少量であることをいう。
【先行技術文献】
【特許文献】
【0006】
特開2023-076990号公報
【発明の概要】
【発明が解決しようとする課題】
【0007】
気体燃料により運転可能なエンジンにおいて、排気浄化率の更なる向上に関する要請が存在する。
【0008】
そこで、本発明は、より高い排気浄化率を実現可能なエンジンの排気浄化装置を提供することを目的とする。
【課題を解決するための手段】
【0009】
前記の課題を解決するため、本発明の一形態に係るエンジンの排気浄化装置は、燃焼室に気体燃料を供給して運転可能に構成されたエンジンの排気浄化装置であって、エンジンの排気通路に設置された排気浄化触媒と、前記エンジンの運転状態に応じた信号を出力可能に構成された運転状態センサと、前記運転状態センサにより出力された信号に基づき、前記エンジンの運転状態を制御するコントローラと、を備える。前記コントローラは、前記気体燃料による運転時に、前記排気浄化触媒に流入する排気の空燃比を、ストイキ相当値に対してリッチ側とリーン側とに振動させる空燃比振動制御を実施する空燃比振動制御手段を備え、前記排気浄化触媒は、排気有害成分の浄化に寄与する触媒成分として、CeZr系触媒とアルミナ系触媒とのうち、前記CeZr系触媒のみを担持させた第1触媒担持領域と、排気の流れに関して前記第1触媒担持領域よりも下流側に設けられ、前記触媒成分として、前記CeZr系触媒と前記アルミナ系触媒とのうち、前記アルミナ系触媒のみを担持させた第2触媒担持領域と、を有する。
【発明の効果】
【0010】
本発明によれば、排気浄化触媒において、第1触媒担持領域と第2触媒担持領域とを、排気の流れの方向に分けて形成し、上流側の第1触媒担持領域には、排気有害成分の浄化に寄与する触媒成分としてCeZr系触媒を、下流側の第2触媒担持領域には、触媒成分としてアルミナ系触媒を夫々担持させたことで、気体燃料によるエンジンの運転時に、空燃比振動制御を実施することにより、低温域での排気浄化性能と高温域での排気浄化性能とを両立させ、より高い排気浄化率の実現を図ることが可能となる。
【図面の簡単な説明】
(【0011】以降は省略されています)
この特許をJ-PlatPat(特許庁公式サイト)で参照する
関連特許
スズキ株式会社
リッド構造
6日前
スズキ株式会社
リッド構造
6日前
スズキ株式会社
車両制御装置
6日前
スズキ株式会社
車両用変速機
6日前
スズキ株式会社
車体下部構造
6日前
スズキ株式会社
電源システム
6日前
スズキ株式会社
車体下部構造
6日前
スズキ株式会社
車両用制御装置
6日前
スズキ株式会社
バイフューエル車両
6日前
スズキ株式会社
内燃機関の制御装置
13日前
スズキ株式会社
操作装置の設置構造
6日前
スズキ株式会社
自動変速機システム
1日前
スズキ株式会社
タイヤ径算出システム
7日前
スズキ株式会社
小型電動車両の動力伝達装置
1日前
スズキ株式会社
車両用スライドボード周辺構造
6日前
スズキ株式会社
ハイブリッド車両の動力伝達装置
1日前
スズキ株式会社
車両のニーエアバッグ取付け構造
1日前
スズキ株式会社
車両用インストルメントパネル構造
1日前
スズキ株式会社
故障解析システム及び情報処理装置
1日前
株式会社三五
排気浄化装置
6日前
株式会社SUBARU
排気浄化装置
13日前
スズキ株式会社
内燃機関の制御装置
13日前
株式会社三五
ハイブリッド車の排気システム
22日前
トヨタ自動車株式会社
エンジン
22日前
トヨタ自動車株式会社
エンジン
13日前
株式会社ミクニ
二次空気供給システム
7日前
トヨタ自動車株式会社
エンジン
21日前
株式会社SUBARU
エンジン制御装置
1か月前
トヨタ自動車株式会社
油量判定装置
1か月前
トヨタ自動車株式会社
異常診断装置
1か月前
トヨタ自動車株式会社
水素エンジン
1か月前
トヨタ自動車株式会社
排気浄化装置
22日前
トヨタ自動車株式会社
車両装置
13日前
株式会社アイシン
冷却モジュール
1か月前
日産自動車株式会社
内燃機関
1か月前
トヨタ自動車株式会社
内燃機関の制御装置
1か月前
続きを見る
他の特許を見る