TOP
|
特許
|
意匠
|
商標
特許ウォッチ
Twitter
他の特許を見る
公開番号
2025174542
公報種別
公開特許公報(A)
公開日
2025-11-28
出願番号
2024080970
出願日
2024-05-17
発明の名称
内燃機関の制御装置
出願人
スズキ株式会社
代理人
個人
主分類
F01N
3/023 20060101AFI20251120BHJP(機械または機関一般;機関設備一般;蒸気機関)
要約
【課題】構造を複雑化させることなくフィルタを再生させることを目的とする。
【解決手段】本発明は、エンジン10に流入する吸気と混合させる燃料を供給する燃料インジェクタ51と、エンジン10において吸気と燃料との混合気が燃焼されることにより発生する排気ガスに含まれる煤を捕集するフィルタ43と、を備える内燃機関の制御装置70であって、所定条件が成立したときに燃料インジェクタ51による燃料の供給を制限する燃料カット部72と、フィルタ43の煤堆積量を推定する推定部73と、フィルタ43の温度がフィルタ43の煤堆積量に応じて定まる可変所定温度よりも高い場合には、所定条件が成立した場合であっても燃料カット部72による燃料の供給の制限を禁止するとともに空燃比をリッチに制御する制御部71と、を有する。
【選択図】図4
特許請求の範囲
【請求項1】
内燃機関に流入する吸気と混合させる燃料を供給する燃料インジェクタと、
前記内燃機関において吸気と燃料との混合気が燃焼されることにより発生する排気ガスに含まれる煤を捕集するフィルタと、を備える内燃機関の制御装置であって、
前記制御装置は、
所定条件が成立したときに前記燃料インジェクタによる燃料の供給を制限する燃料カット手段と、
前記フィルタの煤堆積量を推定する推定手段と、
前記フィルタの温度が前記フィルタの煤堆積量に応じて定まる可変所定温度よりも高い場合には、前記所定条件が成立した場合であっても前記燃料カット手段による燃料の供給の制限を禁止するとともに空燃比をリッチに制御する制御手段と、を有することを特徴とする内燃機関の制御装置。
続きを表示(約 400 文字)
【請求項2】
前記制御手段は、
前記フィルタの温度が前記可変所定温度よりも低い第1の所定温度よりも低い場合には、空燃比をリーンに制御することを特徴とする請求項1に記載の内燃機関の制御装置。
【請求項3】
前記制御手段は、
前記フィルタの煤堆積量が第1の所定量よりも大きい場合には、前記所定条件が成立した場合であっても前記燃料カット手段による燃料の供給の制限を禁止するとともに空燃比をリーンに制御することを特徴とする請求項1または2に記載の内燃機関の制御装置。
【請求項4】
前記制御手段は、
前記フィルタの温度が前記第1の所定温度以上であって、かつ前記フィルタの煤堆積量が前記第1の所定量以下であって前記第1の所定量よりも小さい第2の所定量以上の場合には、空燃比をリーンに制御することを特徴とする請求項3に記載の内燃機関の制御装置。
発明の詳細な説明
【技術分野】
【0001】
本発明は、内燃機関の制御装置に関するものである。
続きを表示(約 1,600 文字)
【背景技術】
【0002】
従来から、内燃機関から排出される排気ガスに含まれる微粒子を捕集するためのフィルタを備えた車両が知られている。
特許文献1に開示された内燃機関は、機関本体の排気ポートから排気管を介してパティキュレートフィルタを内蔵したケーシングが連結され、さらに排気管には二次空気供給装置が接続されている。この二次空気供給装置はパティキュレートフィルタに流入する排気ガス中に二次空気を供給する。
【0003】
特許文献1の内燃機関における制御装置は、機関本体から排出される排気ガスの空燃比がリッチ空燃比になるように内燃機関を制御すると共に二次空気供給装置から空気を供給することによりフィルタ温度を昇温させる処理を実行する。また、制御装置は、機関本体から排出される排気ガスの空燃比が理論空燃比になるように内燃機関を制御すると共にフィルタに流入する排気ガスの空燃比がリーン空燃比になるように二次空気供給装置から空気を供給することによりフィルタに堆積している煤を燃焼させる再生処理を実行する。
【先行技術文献】
【特許文献】
【0004】
特開2020-60137号公報
【発明の概要】
【発明が解決しようとする課題】
【0005】
しかしながら、特許文献1の内燃機関は、二次空気供給装置を備える必要があることからフィルタを再生するための構造が複雑化してしまうという問題がある。
【0006】
本発明は、上述したような問題点に鑑みてなされたものであり、構造を複雑化させることなくフィルタを再生させることを目的とする。
【課題を解決するための手段】
【0007】
本発明は、内燃機関に流入する吸気と混合させる燃料を供給する燃料インジェクタと、前記内燃機関において吸気と燃料との混合気が燃焼されることにより発生する排気ガスに含まれる煤を捕集するフィルタと、を備える内燃機関の制御装置であって、前記制御装置は、所定条件が成立したときに前記燃料インジェクタによる燃料の供給を制限する燃料カット手段と、前記フィルタの煤堆積量を推定する推定手段と、前記フィルタの温度が前記フィルタの煤堆積量に応じて定まる可変所定温度よりも高い場合には、前記所定条件が成立した場合であっても前記燃料カット手段による燃料の供給の制限を禁止するとともに空燃比をリッチに制御する制御手段と、を有することを特徴とする。
【発明の効果】
【0008】
本発明によれば、構造を複雑化させることなくフィルタを再生させることができる。
【図面の簡単な説明】
【0009】
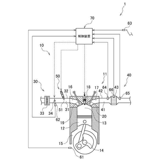
車両の概略構成の一例を示す図である。
制御装置の機能構成の一例を示す図である。
フィルタ温度と煤堆積量とを関連付けたマップの一例を示す図である。
フィルタの再生処理の一例を示すフローチャートである。
【発明を実施するための形態】
【0010】
本発明に係る実施形態は、エンジン10に流入する吸気と混合させる燃料を供給する燃料インジェクタ51と、エンジン10において吸気と燃料との混合気が燃焼されることにより発生する排気ガスに含まれる煤を捕集するフィルタ43と、を備える内燃機関の制御装置70であって、所定条件が成立したときに燃料インジェクタ51による燃料の供給を制限する燃料カット部72と、フィルタ43の煤堆積量を推定する推定部73と、フィルタ43の温度がフィルタ43の煤堆積量に応じて定まる可変所定温度よりも高い場合には、所定条件が成立した場合であっても燃料カット部72による燃料の供給の制限を禁止するとともに空燃比をリッチに制御する制御部71と、を有する。したがって、構造を複雑化させることなくフィルタ43を再生させることができる。
【実施例】
(【0011】以降は省略されています)
この特許をJ-PlatPat(特許庁公式サイト)で参照する
関連特許
株式会社豊田自動織機
エンジン式産業車両
1か月前
スズキ株式会社
内燃機関の制御装置
今日
株式会社SUBARU
排気浄化装置
今日
トヨタ自動車株式会社
計測システム
1か月前
トヨタ自動車株式会社
エンジン
今日
トヨタ自動車株式会社
エンジン
9日前
本田技研工業株式会社
排気装置
1か月前
トヨタ自動車株式会社
エンジン
8日前
本田技研工業株式会社
排気装置
1か月前
株式会社三五
ハイブリッド車の排気システム
9日前
本田技研工業株式会社
排気装置
1か月前
株式会社クボタ
多目的車両
1か月前
株式会社クボタ
多目的車両
1か月前
株式会社SUBARU
エンジン制御装置
21日前
トヨタ自動車株式会社
油量判定装置
22日前
トヨタ自動車株式会社
排気浄化装置
9日前
トヨタ自動車株式会社
水素エンジン
1か月前
トヨタ自動車株式会社
異常診断装置
29日前
三浦工業株式会社
船舶用発電システム
1か月前
マレリ株式会社
消音器
1か月前
トヨタ自動車株式会社
車両装置
今日
株式会社アイシン
冷却モジュール
21日前
トヨタ自動車株式会社
内燃機関の制御装置
1か月前
日産自動車株式会社
内燃機関
21日前
トヨタ自動車株式会社
内燃機関の制御装置
1か月前
マツダ株式会社
排気システム
1か月前
株式会社アイシン
弁開閉時期制御装置
1か月前
マツダ株式会社
排気システム
1か月前
本田技研工業株式会社
冷却液タンク
今日
三菱重工業株式会社
主蒸気管洗浄方法
1か月前
三菱重工業株式会社
メタン酸化触媒装置
1か月前
株式会社豊田自動織機
排気浄化装置
1か月前
トヨタ自動車株式会社
車両のエンジンルーム構造
1か月前
株式会社豊田自動織機
排気管
1か月前
トヨタ自動車株式会社
オイルタンク
9日前
井関農機株式会社
エンジン
8日前
続きを見る
他の特許を見る