TOP
|
特許
|
意匠
|
商標
特許ウォッチ
Twitter
他の特許を見る
10個以上の画像は省略されています。
公開番号
2025153500
公報種別
公開特許公報(A)
公開日
2025-10-10
出願番号
2024056014
出願日
2024-03-29
発明の名称
メタン酸化触媒装置
出願人
三菱重工業株式会社
代理人
SSIP弁理士法人
主分類
F01N
3/24 20060101AFI20251002BHJP(機械または機関一般;機関設備一般;蒸気機関)
要約
【課題】内燃機関の低負荷運転時におけるメタン酸化触媒の熱劣化を抑制できるメタン酸化触媒装置を提供する。
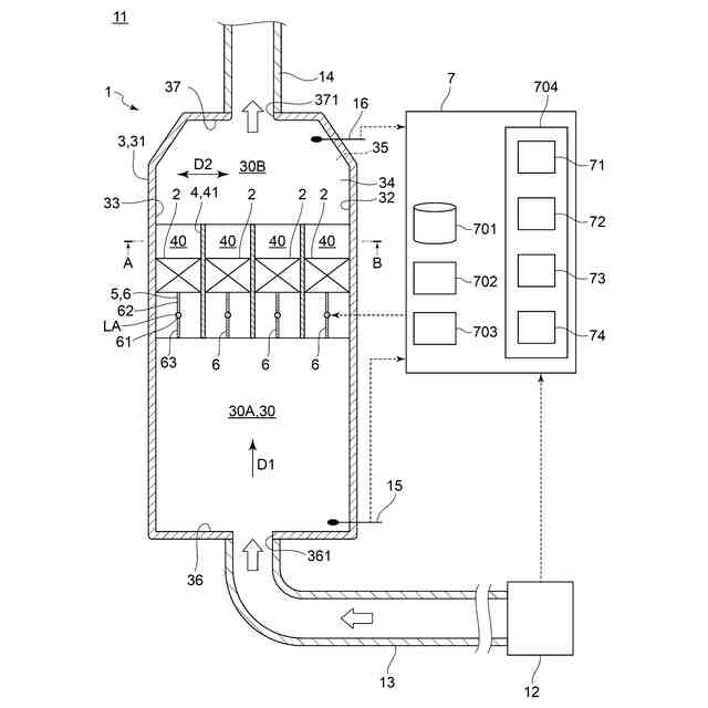
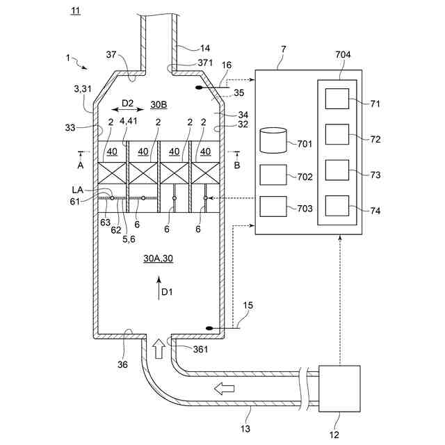
【解決手段】メタン酸化触媒装置は、内燃機関から排出された排ガスが流れる排ガス流路を内部に形成する触媒ケーシングと、触媒ケーシングの内部に形成された排ガス流路を複数の並列流路に分割する仕切り部と、排ガスに含まれるメタンの酸化を促進させるためのメタン酸化触媒を含むとともに、複数の並列流路にそれぞれ配置された複数のメタン酸化触媒反応器と、複数の並列流路を流れる排ガスの流量を制御するように構成された流量制御装置であって、内燃機関の低負荷運転時には、内燃機関の高負荷運転時に比べて、排ガスを流通可能な並列流路の本数を減らすように構成された流量制御装置と、を備える。
【選択図】図1
特許請求の範囲
【請求項1】
内燃機関から排出された排ガスが流れる排ガス流路を内部に形成する触媒ケーシングと、
前記触媒ケーシングの内部に形成された前記排ガス流路を複数の並列流路に分割する仕切り部と、
前記排ガスに含まれるメタンの酸化を促進させるためのメタン酸化触媒を含むとともに、前記複数の並列流路にそれぞれ配置された複数のメタン酸化触媒反応器と、
前記複数の並列流路を流れる前記排ガスの流量を制御するように構成された流量制御装置であって、前記内燃機関の低負荷運転時には、前記内燃機関の高負荷運転時に比べて、前記排ガスを流通可能な前記並列流路の本数を減らすように構成された流量制御装置と、を備える、
メタン酸化触媒装置。
続きを表示(約 860 文字)
【請求項2】
前記流量制御装置は、
前記並列流路を開閉可能な複数のダンパを含むとともに、
前記内燃機関の負荷が、前記ダンパの不使用時の前記触媒ケーシングの出口の排ガス温度が前記メタン酸化触媒の耐熱温度を超える所定負荷になった場合に、前記排ガスを流通可能な前記並列流路の本数を減らすように構成された、
請求項1に記載のメタン酸化触媒装置。
【請求項3】
前記流量制御装置は、
前記複数の並列流路における前記メタン酸化触媒反応器よりも前記排ガスの流れ方向の上流側にそれぞれ配置され、前記並列流路を開閉可能な複数のダンパを含む、
請求項1又は2に記載のメタン酸化触媒装置。
【請求項4】
前記流量制御装置は、
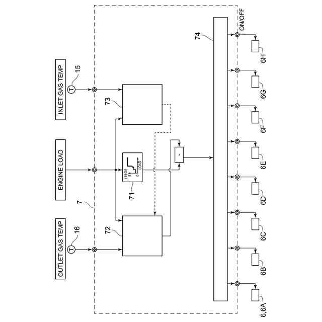
前記内燃機関の負荷と前記複数のダンパの開閉数とを関連付ける関連付け情報に基づいて、前記内燃機関の負荷から前記複数のダンパの開閉数を決定するように構成された開閉数決定部を含む、
請求項2に記載のメタン酸化触媒装置。
【請求項5】
前記流量制御装置は、
前記触媒ケーシングの出口の排ガス温度を考慮して、前記開閉数決定部において決定された前記ダンパの前記開閉数を補正するように構成された第1補正部を含む、
請求項4に記載のメタン酸化触媒装置。
【請求項6】
前記流量制御装置は、
前記触媒ケーシングの入口の排ガス温度を考慮して、前記開閉数決定部において決定された前記ダンパの前記開閉数を補正するように構成された第2補正部を含む、
請求項4に記載のメタン酸化触媒装置。
【請求項7】
前記流量制御装置は、
前記開閉数決定部において決定された前記ダンパの前記開閉数及び前記ダンパ毎の開時の合計運転時間に基づいて、複数の前記ダンパのそれぞれについての開閉を決定するように構成された開閉決定部を含む、
請求項4に記載のメタン酸化触媒装置。
発明の詳細な説明
【技術分野】
【0001】
本開示は、メタン酸化触媒装置に関する。
続きを表示(約 1,700 文字)
【背景技術】
【0002】
メタンを含む燃料ガスを使用燃料として燃焼させる内燃機関から排出される排ガス中には、未燃のメタン(メタンスリップ)が含まれることがある。内燃機関から排出される排ガスの経路には、メタンを酸化できるメタン酸化触媒が収容された触媒ケーシング(メタン酸化触媒装置)が設けられることがある(例えば、特許文献1参照)。
【先行技術文献】
【特許文献】
【0003】
特開2018-135809号公報
【発明の概要】
【発明が解決しようとする課題】
【0004】
メタン酸化時の熱によりメタン酸化触媒内部の排ガス温度が急激に上昇し、メタン酸化触媒の熱劣化を招く虞がある。内燃機関の低負荷時は、高負荷時に比べて、排ガス中のメタン含有量が多くなるため、酸化反応が促進され、排ガス温度が急上昇するので、特に問題となる。
【0005】
なお、排ガス温度の上昇への対策として、排ガスをメタン酸化触媒に対してバイパスさせることが考えられるが、スリップメタンを含む排ガスが系外に排出されてしまうので好ましくない。また、メタン酸化触媒の上流側に熱交換器等を設け、メタン酸化触媒に導かれる排ガスの温度を下げる対策も考えられるが、排ガスの温度を下げるための追加の設備が必要となり、設置スペースの課題もあるため、採用は難しい。
【0006】
上述の事情に鑑みて、本開示の少なくとも一実施形態は、内燃機関の低負荷運転時におけるメタン酸化触媒の熱劣化を抑制できるメタン酸化触媒装置を提供することを目的とする。
【課題を解決するための手段】
【0007】
本開示の少なくとも一実施形態に係るメタン酸化触媒装置は、
内燃機関から排出された排ガスが流れる排ガス流路を内部に形成する触媒ケーシングと、
前記触媒ケーシングの内部に形成された前記排ガス流路を複数の並列流路に分割する仕切り部と、
前記排ガスに含まれるメタンの酸化を促進させるためのメタン酸化触媒を含むとともに、前記複数の並列流路にそれぞれ配置された複数のメタン酸化触媒反応器と、
前記複数の並列流路を流れる前記排ガスの流量を制御するように構成された流量制御装置であって、前記内燃機関の低負荷運転時には、前記内燃機関の高負荷運転時に比べて、前記排ガスを流通可能な前記並列流路の本数を減らすように構成された流量制御装置と、を備える。
【発明の効果】
【0008】
本開示の少なくとも一実施形態によれば、内燃機関の低負荷運転時におけるメタン酸化触媒の熱劣化を抑制できるメタン酸化触媒装置が提供される。
【図面の簡単な説明】
【0009】
本開示の一実施形態に係るメタン酸化触媒装置を備える内燃機関システムの概略図である。
本開示の一実施形態に係るメタン酸化触媒装置を備える内燃機関システムの概略図である。
本開示の一実施形態に係るメタン酸化触媒装置の概略斜視図である。
図1に示されるA-B線矢視の概略断面図である。
内燃機関の負荷とメタン酸化率とダンパの開閉数の関係を説明するための説明図である。
メタン酸化触媒の触媒体積当たりの排ガス量とメタン酸化率とメタン酸化触媒の触媒容積との関係を説明するための説明図である。
内燃機関の負荷と排ガス温度とメタン含有量とダンパの開閉数の関係を説明するための説明図である。
本開示の一実施形態におけるダンパ開閉制御装置の制御フロー図である。
並列流路を閉じるダンパの選定方法を説明するための説明図である。
【発明を実施するための形態】
【0010】
以下、添付図面を参照して本開示の幾つかの実施形態について説明する。ただし、実施形態として記載されている又は図面に示されている構成部品の寸法、材質、形状、その相対的配置等は、本開示の範囲をこれに限定する趣旨ではなく、単なる説明例にすぎない。
(【0011】以降は省略されています)
この特許をJ-PlatPat(特許庁公式サイト)で参照する
関連特許
三菱重工業株式会社
加熱装置
17日前
三菱重工業株式会社
ボイラ壁
10日前
三菱重工業株式会社
動力装置
13日前
三菱重工業株式会社
皮膜形成装置
24日前
三菱重工業株式会社
ポンプシステム
24日前
三菱重工業株式会社
超音波探傷方法
24日前
三菱重工業株式会社
洗浄水噴射ノズル
26日前
三菱重工業株式会社
バッテリ交換装置
25日前
三菱重工業株式会社
燃焼筒の取付方法
10日前
三菱重工業株式会社
メタン酸化触媒装置
24日前
三菱重工業株式会社
ガスタービン制御方法
17日前
三菱重工業株式会社
蒸気タービンシステム
6日前
三菱重工業株式会社
ガスタービン起動方法
6日前
三菱重工業株式会社
炭化炉及びその制御方法
24日前
三菱重工業株式会社
燃焼設備および制御方法
12日前
三菱重工業株式会社
電解セル、及び電解装置
25日前
三菱重工業株式会社
デジタル入力モジュール
26日前
三菱重工業株式会社
ガス処理装置および方法
4日前
三菱重工業株式会社
計測システムおよび計測方法
4日前
三菱重工業株式会社
バーナ及びこれを備えたボイラ
24日前
三菱重工業株式会社
バーナ及びこれを備えたボイラ
24日前
三菱重工業株式会社
レドックスフロー電池システム
10日前
三菱重工業株式会社
水素吸蔵材料および原子力設備
5日前
三菱重工業株式会社
インバータ装置及びその保護方法
4日前
三菱重工業株式会社
水素製造システム及び水素製造方法
24日前
三菱重工業株式会社
インバータ基板及びインバータ装置
4日前
三菱重工業株式会社
燃料噴射装置および往復動内燃機関
18日前
三菱重工業株式会社
電動ファンおよび電動垂直離着陸機
7日前
三菱重工業株式会社
演算方法、プログラム及び演算装置
12日前
三菱重工業株式会社
洗浄装置、分離システム及び洗浄方法
24日前
三菱重工業株式会社
RPB装置及び酸性ガス回収システム
4日前
三菱重工業株式会社
渦電流探傷装置、及び渦電流探傷方法
24日前
三菱重工業株式会社
炉壁及びガス化炉並びに炉壁の製造方法
13日前
三菱重工業株式会社
シール構造の製造方法およびシール構造
26日前
三菱重工業株式会社
蓄圧システム及び蓄圧システムの運転方法
25日前
三菱重工業株式会社
電解セルカートリッジおよびその製造方法
19日前
続きを見る
他の特許を見る