TOP
|
特許
|
意匠
|
商標
特許ウォッチ
Twitter
他の特許を見る
公開番号
2025166562
公報種別
公開特許公報(A)
公開日
2025-11-06
出願番号
2024070668
出願日
2024-04-24
発明の名称
油量判定装置
出願人
トヨタ自動車株式会社
代理人
個人
,
個人
主分類
F01M
11/12 20060101AFI20251029BHJP(機械または機関一般;機関設備一般;蒸気機関)
要約
【課題】油種が異なる場合でも、油量低下の誤判定を抑える。
【解決手段】油量判定装置は、内燃機関10のオイルパン24に貯留されているオイルを吸入するストレーナ15と、ストレーナ15を介してオイルが導入される固定容量型のオイルポンプ30と、オイルポンプ30から吐出されるオイルの油圧を検出する油圧センサ51と、制御装置100とを有する。制御装置100は、油圧センサ51が検出する油圧が既定の判定油圧以下である場合にオイルパン24に貯留されているオイルの油量が低下していると判定する処理と、オイルの粘度に関与するパラメータを機関運転中に取得してその取得したパラメータを基づいて判定油圧を設定する処理とを実行する。
【選択図】図1
特許請求の範囲
【請求項1】
内燃機関のオイルパンに貯留されているオイルを吸入するストレーナと、前記ストレーナを介して前記オイルが導入される固定容量型のオイルポンプと、前記オイルポンプから吐出されるオイルの油圧を検出する油圧センサと、制御装置と、を有する油量判定装置であって、
前記制御装置は、
前記油圧センサが検出する前記油圧が既定の判定油圧以下である場合に、前記オイルパンに貯留されている前記オイルの油量が低下していると判定する処理と、
前記オイルの粘度に関与するパラメータを機関運転中に取得して、その取得した前記パラメータを基づいて前記判定油圧を設定する処理と、を実行する
油量判定装置。
発明の詳細な説明
【技術分野】
【0001】
本発明は、油量判定装置に関する。
続きを表示(約 1,400 文字)
【背景技術】
【0002】
例えば特許文献1に記載の油量判定装置は、オイルポンプから吐出されるオイルの油圧が既定の判定油圧よりも低下している場合には、オイルパンに貯留されている油量が低下していると判定するようにしている。
【先行技術文献】
【特許文献】
【0003】
特開2022-182457号公報
【発明の概要】
【発明が解決しようとする課題】
【0004】
ところで、固定容量型のオイルポンプの場合には、オイルポンプの回転速度及びオイルの粘度によって吐出圧が決まる。ここで、オイルの粘度は油種によって異なるため、オイルパンに貯留されているオイルの油種が異なると、検出される油圧も異なったものになる。従って、上記判定油圧を適切に設定しないと、油量低下の判定に際して誤判定が生じるおそれがある。
【課題を解決するための手段】
【0005】
上記課題を解決する油量判定装置は、内燃機関のオイルパンに貯留されているオイルを吸入するストレーナと、前記ストレーナを介して前記オイルが導入される固定容量型のオイルポンプと、前記オイルポンプから吐出されるオイルの油圧を検出する油圧センサと、制御装置と、を有する。前記制御装置は、前記油圧センサが検出する前記油圧が既定の判定油圧以下である場合に、前記オイルパンに貯留されている前記オイルの油量が低下していると判定する処理と、前記オイルの粘度に関与するパラメータを機関運転中に取得して、その取得した前記パラメータを基づいて前記判定油圧を設定する処理と、を実行する。
【発明の効果】
【0006】
この油量判定装置は、油種が異なる場合でも油量低下の誤判定を抑えることができる。
【図面の簡単な説明】
【0007】
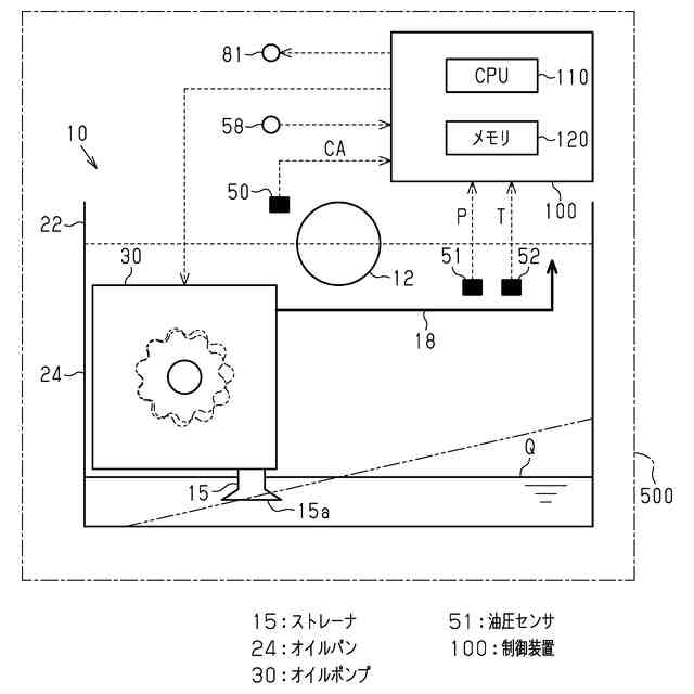
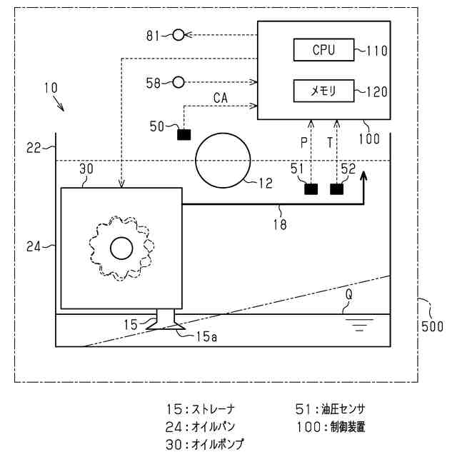
図1は、油量判定装置が適用された内燃機関の概略図である。
図2は、同実施形態の制御装置が実行する処理の手順を示すフローチャートである。
図3は、同実施形態の判定油圧設定マップにおける機関回転速度及び判定油圧の対応関係を示す図である。
【発明を実施するための形態】
【0008】
以下、油量判定装置が適用された内燃機関の一実施形態を、図面を参照して説明する。
<内燃機関及びオイル供給系の構成について>
図1に示すように、車両500には、当該車両500の駆動源となる内燃機関10が搭載されている。内燃機関10のクランクシャフト12の近傍には、当該クランクシャフト12の回転位置CAを検出するクランク角センサ50が配置されている。
【0009】
内燃機関10のシリンダブロック22の下端面には、クランクシャフト12を挟んでオイルパン24が固定されている。
オイルパン24の内部には、内燃機関10を潤滑するためのオイルが貯留されている。また、オイルパン24の内部には、オイルを吸入するストレーナ15が配置されている。
【0010】
ストレーナ15の吸入口15aは、オイルパン24の底面に向かって開いている。
ストレーナ15における吸入口15aとは反対側の端部は、オイルを圧送するオイルポンプ30に接続されている。
(【0011】以降は省略されています)
この特許をJ-PlatPat(特許庁公式サイト)で参照する
関連特許
トヨタ自動車株式会社
電池
7日前
トヨタ自動車株式会社
電池
13日前
トヨタ自動車株式会社
配管
8日前
トヨタ自動車株式会社
車両
7日前
トヨタ自動車株式会社
車両
8日前
トヨタ自動車株式会社
電動車
8日前
トヨタ自動車株式会社
電動車
7日前
トヨタ自動車株式会社
ロータ
8日前
トヨタ自動車株式会社
判定装置
7日前
トヨタ自動車株式会社
制御装置
8日前
トヨタ自動車株式会社
制御装置
7日前
トヨタ自動車株式会社
制御装置
8日前
トヨタ自動車株式会社
学習装置
7日前
トヨタ自動車株式会社
蓄電セル
15日前
トヨタ自動車株式会社
エンジン
7日前
トヨタ自動車株式会社
反応容器
7日前
トヨタ自動車株式会社
コネクタ
7日前
トヨタ自動車株式会社
蓄電装置
7日前
トヨタ自動車株式会社
エンジン
8日前
トヨタ自動車株式会社
蓄電装置
7日前
トヨタ自動車株式会社
蓄電装置
7日前
トヨタ自動車株式会社
蓄電装置
今日
トヨタ自動車株式会社
蓄電装置
今日
トヨタ自動車株式会社
制御装置
20日前
トヨタ自動車株式会社
制御装置
7日前
トヨタ自動車株式会社
監視装置
13日前
トヨタ自動車株式会社
制御装置
8日前
トヨタ自動車株式会社
製造設備
13日前
トヨタ自動車株式会社
蓄電装置
20日前
トヨタ自動車株式会社
電気自動車
7日前
トヨタ自動車株式会社
熱利用回路
1日前
トヨタ自動車株式会社
正極活物質
1日前
トヨタ自動車株式会社
正極活物質
1日前
トヨタ自動車株式会社
操舵制御装置
15日前
トヨタ自動車株式会社
車両駆動装置
15日前
トヨタ自動車株式会社
燃料電池セル
8日前
続きを見る
他の特許を見る