TOP
|
特許
|
意匠
|
商標
特許ウォッチ
Twitter
他の特許を見る
公開番号
2025168714
公報種別
公開特許公報(A)
公開日
2025-11-12
出願番号
2024073378
出願日
2024-04-30
発明の名称
車両駆動装置
出願人
トヨタ自動車株式会社
代理人
弁理士法人中部国際特許事務所
主分類
F02B
37/18 20060101AFI20251105BHJP(燃焼機関;熱ガスまたは燃焼生成物を利用する機関設備)
要約
【課題】 実用性の高い車両駆動装置を提供する。
【解決手段】 エンジン10と、ターボチャージャ12と、ウェストゲートバルブ14と、水冷式の冷却装置16と、コントローラ18とを備えた車両駆動装置において、冷却水の温度を比較的高温に保つ高水温モードと、比較的低温に保つ低水温モードとを選択的に切り換えるとともに、通常域においてウェストゲートバルブを開状態にするノーマルオープンモードと、通常域においてウェストゲートバルブを閉状態にするノーマルクローズモードとの切換えを、高水温モードと低水温モードとの切換えに対応して実行する。適切なモードの切換えにより、燃費と信頼性、過給レスポンスの好適な両立が実現する。
【選択図】 図1
特許請求の範囲
【請求項1】
エンジンと、ターボチャージャと、開状態において前記エンジンからの排気ガスを前記ターボチャージャから迂回させるためのバイパス通路に設けられたウェストゲートバルブと、冷却水によって前記エンジンを冷却する冷却装置と、前記ウェストゲートバルブの開閉および前記冷却装置における冷却水の温度を制御するためのコントローラとを備えた車両駆動装置であって、
前記コントローラが、
冷却水の温度を比較的高温に保つ高水温モードと、比較的低温に保つ低水温モードとを選択的に切り換えるとともに、通常域において前記ウェストゲートバルブを開状態にするノーマルオープンモードと、通常域においてウェストゲートバルブを閉状態にするノーマルクローズモードとの切換えを、前記高水温モードと前記低水温モードとの切換えに対応して実行するように構成された車両駆動装置。
発明の詳細な説明
【技術分野】
【0001】
本発明は、エンジンを備えた車両駆動装置に関する。
続きを表示(約 2,100 文字)
【背景技術】
【0002】
エンジンを備えた車両駆動装置では、例えば、ターボチャージャが備わることもあり、、そのターボチャージャに対しては、ウェストゲートバルブを併設することが一般的である。ウェストゲートバルブの開閉に関して、下記特許文献に記載された技術が存在する。
【先行技術文献】
【特許文献】
【0003】
特開2009-228486
【発明の概要】
【発明が解決しようとする課題】
【0004】
上記特許文献に記載された技術では、排気ガスエミッションを低減する目的で、通常域においてウェストゲートバルブを開状態にするモードが採用されている。ウェストゲートバルブは、ターボチャージャによる効果を発揮させる場合に、閉状態とし、発揮させない場合に、開状態とすることができる。本願発明者は、考察の結果、ウェストゲートバルブの開閉に関して、当該車両駆動装置の実用性を向上させるための新たな知見を得た。本発明は、その知見に基づくものであり、実用性の高い車両駆動装置を提供することを課題とする。
【課題を解決するための手段】
【0005】
上記課題を解決するために、本発明の車両駆動装置は、
エンジンと、ターボチャージャと、開状態において前記エンジンからの排気ガスを前記ターボチャージャから迂回させるためのバイパス通路に設けられたウェストゲートバルブと、冷却水によって前記エンジンを冷却する冷却装置と、前記ウェストゲートバルブの開閉および前記冷却装置における冷却水の温度を制御するためのコントローラとを備えた車両駆動装置であって、
前記コントローラが、
冷却水の温度を比較的高温に保つ高水温モードと、比較的低温に保つ低水温モードとを選択的に切り換えるとともに、通常域において前記ウェストゲートバルブを開状態にするノーマルオープンモードと、通常域においてウェストゲートバルブを閉状態にするノーマルクローズモードとの切換えを、前記高水温モードと前記低水温モードとの切換えに対応して実行するように構成される。
【発明の効果】
【0006】
本車両駆動装置では、通常域においてターボを効かせる場合には、ウェストゲートバルブが閉状態とされ、効かせない場合には、ウェストゲートバルブが開状態とされる。一方で、冷却装置の冷却水の温度に関する上記「高温水モード」は、エンジンパワーよりも燃費を優先させる場合のモードであり、上記「低温水モード」は、燃費よりもエンジンパワーを優先させる場合のモードと考えることができる。つまり、本発明によれば、ターボチャージャの有効/無効の切換えが、冷却水温度の切換えに同期して行われるため、ターボチャージャを備えた車両駆動装置の制御を適切に行うことができる。詳しく言えば、燃費と信頼性、過給レスポンスの好適な両立が実現する。
【図面の簡単な説明】
【0007】
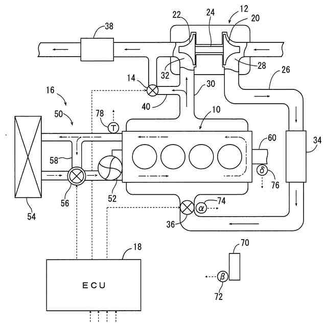
実施例の車両駆動装置の構成を模式的に示す図である。
ウェストゲートバルブに関するノーマルクローズモードを説明するためのグラフである。
コントローラにおいて実行されるモード切換えプログラムのフローチャートである。
【発明を実施するための形態】
【0008】
以下、本発明を実施するための形態として、本発明の実施例である車両駆動装置を、図を参照しつつ詳しく説明する。なお、本発明は、下記実施例の他、当業者の知識に基づいて種々の変更、改良を施した種々の形態で実施することができる。
【実施例】
【0009】
[A]車両駆動装置の構成
実施例の車両駆動装置は、図1に模式的に示すように、エンジン10と、ターボチャージャ12と、ウェストゲートバルブ14と、冷却水によってエンジン10を冷却するための冷却装置16と、ウェストゲートバルブ14の開閉および冷却装置16における冷却水の温度を制御するためのコントローラである駆動電子制御ユニット(以下、「駆動ECU」という場合がある)18とを含んで構成されている。
【0010】
ターボチャージャ12は、一般的な構造のものであり、コンプレッサホイール20とタービンホイール22とを有している。それらコンプレッサホイール20,タービンホイール22は、シャフト24によって連結されており、一体的に回転する。コンプレッサホイール20は、吸気通路26の一部を構成するコンプレッサハウジング28内に配設され、タービンホイール22は、排気通路30の一部を構成するタービンハウジング32内に配設されている。ちなみに、吸気通路26には、コンプレッサハウジング28の下流側において、インタクーラ34とスロットルバルブ36とが設けられ、排気通路30には、タービンハウジング32の下流側において、排ガス浄化触媒38が設けられている。なお、図1では、吸気,排気の流れが、実線の矢印で示されている。
(【0011】以降は省略されています)
この特許をJ-PlatPat(特許庁公式サイト)で参照する
関連特許
トヨタ自動車株式会社
配管
17日前
トヨタ自動車株式会社
電池
8日前
トヨタ自動車株式会社
電池
16日前
トヨタ自動車株式会社
車両
16日前
トヨタ自動車株式会社
方法
1日前
トヨタ自動車株式会社
電池
8日前
トヨタ自動車株式会社
車両
2日前
トヨタ自動車株式会社
車両
17日前
トヨタ自動車株式会社
電動車
17日前
トヨタ自動車株式会社
タンク
1日前
トヨタ自動車株式会社
ロータ
17日前
トヨタ自動車株式会社
電動車
16日前
トヨタ自動車株式会社
塗工装置
8日前
トヨタ自動車株式会社
車両装置
8日前
トヨタ自動車株式会社
制御装置
1日前
トヨタ自動車株式会社
蓄電装置
8日前
トヨタ自動車株式会社
蓄電装置
8日前
トヨタ自動車株式会社
制御装置
17日前
トヨタ自動車株式会社
蓄電装置
8日前
トヨタ自動車株式会社
蓄電装置
16日前
トヨタ自動車株式会社
蓄電装置
8日前
トヨタ自動車株式会社
蓄電装置
8日前
トヨタ自動車株式会社
蓄電装置
8日前
トヨタ自動車株式会社
蓄電装置
8日前
トヨタ自動車株式会社
反応容器
16日前
トヨタ自動車株式会社
蓄電装置
8日前
トヨタ自動車株式会社
コネクタ
16日前
トヨタ自動車株式会社
蓄電装置
16日前
トヨタ自動車株式会社
制御装置
17日前
トヨタ自動車株式会社
蓄電装置
8日前
トヨタ自動車株式会社
蓄電装置
8日前
トヨタ自動車株式会社
学習装置
16日前
トヨタ自動車株式会社
制御装置
17日前
トヨタ自動車株式会社
エンジン
17日前
トヨタ自動車株式会社
蓄電装置
16日前
トヨタ自動車株式会社
蓄電装置
9日前
続きを見る
他の特許を見る