TOP
|
特許
|
意匠
|
商標
特許ウォッチ
Twitter
他の特許を見る
公開番号
2025170929
公報種別
公開特許公報(A)
公開日
2025-11-20
出願番号
2024075795
出願日
2024-05-08
発明の名称
コネクタ
出願人
トヨタ自動車株式会社
代理人
弁理士法人 快友国際特許事務所
主分類
H01R
13/631 20060101AFI20251113BHJP(基本的電気素子)
要約
【課題】相手端子を接続端子に接続し易いコネクタの構造を提案する。
【解決手段】コネクタでは、相手コネクタの相手端子を挿入可能な収容部を有するハウジングと、前記収容部内に固定されている接続端子と、を備え、前記ハウジングは、前記接続端子の両側に、前記相手端子の挿入方向において前記接続端子よりも突出している突出部を備え、前記各突出部の前記接続端子側の側面が、前記各突出部の間の間隔が前記突出部の先端側に向かうにしたがって広くなるように傾斜している。コネクタでは、ハウジングは、接続端子の両側に突出部を有している。また、各突出部の接続端子側の側面が、各突出部の間の間隔が突出部の先端側に向かうにしたがって広くなるように傾斜している。このため、好適に相手端子を収容部に挿入することができる。このため、相手端子を接続端子に接続し易い。
【選択図】図1
特許請求の範囲
【請求項1】
コネクタであって、
相手コネクタの相手端子を挿入可能な収容部を有するハウジングと、
前記収容部内に固定されている接続端子と、
を備え、
前記ハウジングは、前記接続端子の両側に、前記相手端子の挿入方向において前記接続端子よりも突出している突出部を備え、
前記各突出部の前記接続端子側の側面が、前記各突出部の間の間隔が前記突出部の先端側に向かうにしたがって広くなるように傾斜している、
コネクタ。
発明の詳細な説明
【技術分野】
【0001】
本明細書に開示の技術は、コネクタに関する。
続きを表示(約 1,500 文字)
【背景技術】
【0002】
特許文献1に開示のコネクタは、ハウジングと、ハウジング内に配置されている接続端子を有している。接続端子は、ハウジング内で片持ち梁状に配置されている。ハウジングに相手側コネクタの相手端子が挿入されると、相手端子が接続端子に接続される。
【先行技術文献】
【特許文献】
【0003】
特開2022-103927号公報
【発明の概要】
【発明が解決しようとする課題】
【0004】
特許文献1のコネクタでは、接続端子が、ハウジング内において遊びを設けた状態で配置されている。このため、接続端子に繋がっている配線のねじれ等により、ハウジング内で接続端子の位置がずれ、相手端子を接続端子に接続し難くなる場合がある。本明細書では、相手端子を接続端子に接続し易いコネクタの構造を提案する。
【課題を解決するための手段】
【0005】
本明細書が開示するコネクタは、相手コネクタの相手端子を挿入可能な収容部を有するハウジングと、前記収容部内に固定されている接続端子と、を備え、前記ハウジングは、前記接続端子の両側に、前記相手端子の挿入方向において前記接続端子よりも突出している突出部を備え、前記各突出部の前記接続端子側の側面が、前記各突出部の間の間隔が前記突出部の先端側に向かうにしたがって広くなるように傾斜している。
【0006】
上記のコネクタでは、ハウジングは、接続端子の両側に突出部を有している。また、各突出部の接続端子側の側面が、各突出部の間の間隔が突出部の先端側に向かうにしたがって広くなるように傾斜している。このため、好適に相手端子を収容部に挿入することができる。このため、相手端子を接続端子に接続し易い。
【図面の簡単な説明】
【0007】
コネクタの断面図である。
コネクタと相手端子が接続している状態を示す断面図である。
【発明を実施するための形態】
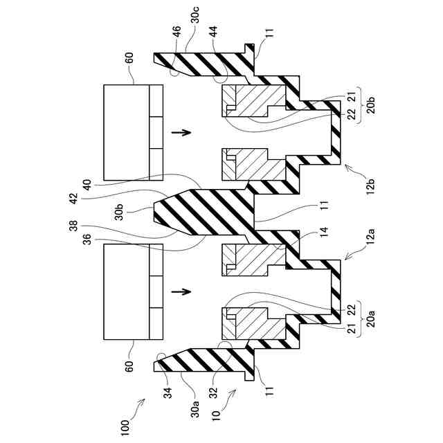
【0008】
図1に示すコネクタ100は、機器に設けられており、機器を高電圧コネクタと接続するのに用いられる。コネクタ100は、ハウジング10を有している。ハウジング10は、例えば、絶縁性の樹脂材料によって構成されている。ハウジング10は、プレート部11と、プレート部11に設けられた2つの収容部12a、12bを有している。以下では、収容部12a、12bをまとめて収容部12という場合がある。各収容部12は、相手コネクタの端子60(以下、相手端子60という)を挿入可能な凹部である。
【0009】
コネクタ100は、2つの接続端子20a、20bを有している。以下では、接続端子20a、20bをまとめて接続端子20という場合がある。各接続端子20は、対応する収容部12内に固定されている。接続端子20は、ナット21と接触端子22を有している。ナット21は、収容部12の側壁部14に沿って固定されている。接触端子22は、ナット21の上部に設けられている。接触端子22は、プレート部11よりも上側に設けられている。
【0010】
ハウジング10は、プレート部11から上側に突出する突出部30a、30b、30cを有している。以下では、突出部30a、30b、30cをまとめて突出部30という場合がある。収容部12aは、突出部30aと突出部30bの間に配置されている。収容部12bは、突出部30bと突出部30cの間に配置されている。突出部30a、30b、30cは、各接続端子20の接触端子22の上面よりも上側に突出している。
(【0011】以降は省略されています)
この特許をJ-PlatPat(特許庁公式サイト)で参照する
関連特許
トヨタ自動車株式会社
配管
2日前
トヨタ自動車株式会社
車両
2日前
トヨタ自動車株式会社
車両
1日前
トヨタ自動車株式会社
電池
7日前
トヨタ自動車株式会社
電池
1日前
トヨタ自動車株式会社
ロータ
2日前
トヨタ自動車株式会社
電動車
2日前
トヨタ自動車株式会社
電動車
1日前
トヨタ自動車株式会社
制御装置
14日前
トヨタ自動車株式会社
蓄電装置
14日前
トヨタ自動車株式会社
蓄電セル
9日前
トヨタ自動車株式会社
監視装置
7日前
トヨタ自動車株式会社
製造設備
7日前
トヨタ自動車株式会社
制御装置
2日前
トヨタ自動車株式会社
制御装置
1日前
トヨタ自動車株式会社
蓄電装置
1日前
トヨタ自動車株式会社
エンジン
2日前
トヨタ自動車株式会社
コネクタ
1日前
トヨタ自動車株式会社
学習装置
1日前
トヨタ自動車株式会社
制御装置
2日前
トヨタ自動車株式会社
エンジン
1日前
トヨタ自動車株式会社
制御装置
2日前
トヨタ自動車株式会社
蓄電装置
1日前
トヨタ自動車株式会社
蓄電装置
1日前
トヨタ自動車株式会社
路側装置
14日前
トヨタ自動車株式会社
反応容器
1日前
トヨタ自動車株式会社
路側装置
14日前
トヨタ自動車株式会社
路側装置
14日前
トヨタ自動車株式会社
電動車両
14日前
トヨタ自動車株式会社
推定装置
14日前
トヨタ自動車株式会社
路側装置
14日前
トヨタ自動車株式会社
制御装置
1日前
トヨタ自動車株式会社
判定装置
1日前
トヨタ自動車株式会社
電気自動車
1日前
トヨタ自動車株式会社
排気浄化装置
2日前
トヨタ自動車株式会社
作業計画装置
2日前
続きを見る
他の特許を見る