TOP
|
特許
|
意匠
|
商標
特許ウォッチ
Twitter
他の特許を見る
10個以上の画像は省略されています。
公開番号
2025171628
公報種別
公開特許公報(A)
公開日
2025-11-20
出願番号
2024077150
出願日
2024-05-10
発明の名称
反応容器
出願人
トヨタ自動車株式会社
,
国立大学法人山梨大学
代理人
弁理士法人明成国際特許事務所
主分類
C01B
35/12 20060101AFI20251113BHJP(無機化学)
要約
【課題】容器の破損を抑制しつつ、水素を発生させる反応容器の技術の提供。
【解決手段】水素化ホウ素ナトリウムと水と酸とから、水素と四ホウ酸ナトリウムとを生成させる反応容器が提供される。この反応容器は、前記四ホウ酸ナトリウムが収容される反応容器であって、水和によって体積が膨張した前記四ホウ酸ナトリウムを許容する許容構造を有する反応容器。
【選択図】図2
特許請求の範囲
【請求項1】
水素化ホウ素ナトリウムと水と酸とから、水素と四ホウ酸ナトリウムとを生成させるための反応容器であって、
前記四ホウ酸ナトリウムが収容される反応容器であって、水和によって体積が膨張した前記四ホウ酸ナトリウムを許容する許容構造を有する反応容器を備える、反応容器。
続きを表示(約 620 文字)
【請求項2】
請求項1に記載の反応容器であって、
前記反応容器は、
前記反応容器の外殻を構成する収容部と、
前記許容構造として、前記収容部の内側に接して配される変形部材であって、膨張した前記四ホウ酸ナトリウムによって圧縮されることが可能な素材によって形成されている変形部材と、
を備える、反応容器。
【請求項3】
請求項1に記載の反応容器であって、
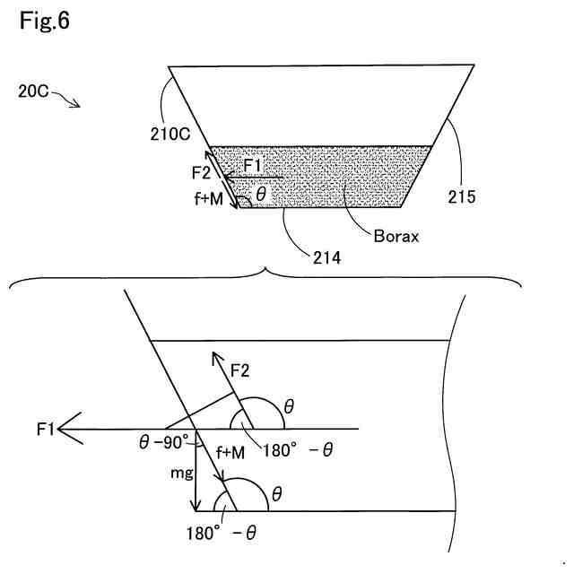
前記許容構造として、前記反応容器の、下から上に向かうにつれて、先太りとなるテーパ状の側面を備える、反応容器。
【請求項4】
請求項3に記載の反応容器であって、
前記反応容器の底面と、前記側面とのなす角度が、
体積が変化する前記四ホウ酸ナトリウムの任意の部分に発生する前記側面と平行な方向な力の大きさが、前記側面の静止摩擦力と前記側面に沿った重力との和よりも大きくなるように、構成されている、反応容器。
【請求項5】
請求項4に記載の反応容器であって、
前記反応容器は、
前記許容構造を備え、前記反応容器の外殻を構成する収容部と、
前記収容部の側面に接して配される低減部材であって、前記四ホウ酸ナトリウムとの静止摩擦係数が、前記四ホウ酸ナトリウムと前記収容部との静止摩擦係数よりも小さい素材によって形成されている低減部材と、
を備える、反応容器。
発明の詳細な説明
【技術分野】
【0001】
本開示は、反応容器に関する。
続きを表示(約 4,100 文字)
【背景技術】
【0002】
特許文献1において、水素化ホウ素ナトリウムと、水と、酸性薬品と、を反応させることで、水素を発生させる製造方法が開示されている。反応は、タンク内において行われる。
【先行技術文献】
【特許文献】
【0003】
特開2022-35006号公報
【発明の概要】
【発明が解決しようとする課題】
【0004】
一般に、水素化ホウ素ナトリウムと、水と、酸とを反応させると、水素と、熱に加えて、四ホウ酸ナトリウムが生成されることが知られている。反応の結果、容器内で発生した水素を回収するまでの間に、容器内の温度が50℃以下となることがある。四ホウ酸ナトリウムは50℃以上において五水和物の状態で安定しているが、50℃以下においては十水和物に変化する。本願の発明者らは、四ホウ酸ナトリウムが十水和物に変化する際に、四ホウ酸ナトリウムが、周囲に広がりながら膨張することを見出した。四ホウ酸ナトリウムは、容器を内側から外側に向かって押しながら、容器内において膨張する。容器の種類によっては、四ホウ酸ナトリウムが膨張しながら容器を押すことにより、容器が破損する可能性がある。容器の破損を抑制しつつ、水素を発生させる上記の反応に使用できる反応容器が望まれる。
【課題を解決するための手段】
【0005】
本開示は、以下の形態として実現することが可能である。
【0006】
(1)本開示の一形態によれば、水素化ホウ素ナトリウムと水と酸とから、水素と四ホウ酸ナトリウムとを生成させる反応容器が提供される。この反応容器は、前記四ホウ酸ナトリウムが収容される反応容器であって、水和によって体積が膨張した前記四ホウ酸ナトリウムを許容する許容構造を有する反応容器を備える。
一般に、四ホウ酸ナトリウムは、水和による膨張により、体積が変化することが知られている。四ホウ酸ナトリウムは、反応容器を、内側から外側に向かって押しながら膨張する。この形態の反応容器によれば、反応容器が、体積が変化した四ホウ酸ナトリウムを許容する許容構造を有している。四ホウ酸ナトリウムが反応容器を押すことで、反応容器が破損することを防止することができる。
(2)上記形態の反応容器において、前記反応容器は、前記反応容器の外殻を構成する収容部と、前記許容構造として、前記収容部の内側に接して配される変形部材であって、膨張した前記四ホウ酸ナトリウムによって圧縮されることが可能な素材によって形成されている変形部材と、を備えていてもよい。
この形態の反応容器によれば、膨張した四ホウ酸ナトリウムの体積の増分を、変形部材が圧縮されることで緩和することができる。簡易な構成によって、四ホウ酸ナトリウムが反応容器を押すことで反応容器が破損することを防止することができる。
(3)上記形態の反応容器において、前記許容構造として、前記反応容器の、下から上に向かうにつれて、先太りとなるテーパ状の側面を備えていてもよい。
この形態の反応容器によれば、四ホウ酸ナトリウムに発生する力が、反応容器を押す力と、側面に平行な力と、に分散される。四ホウ酸ナトリウムが反応容器を押すことで、反応容器が破損することを抑制することができる。
(4)上記形態の反応容器において、前記反応容器の底面と、前記側面とのなす角度が、体積が変化する前記四ホウ酸ナトリウムの任意の部分に発生する前記側面と平行な方向な力の大きさが、前記側面の静止摩擦力と前記側面に沿った重力との和よりも大きくなるように、構成されていてもよい。
この形態の反応容器によれば、四ホウ酸ナトリウムが、反応容器の側面を、下から上に向かって滑りながら膨張する。側面と平行な方向な力の大きさが、側面の静止摩擦力と側面に沿った重力との和以下である態様と比較して、四ホウ酸ナトリウムが膨張の際に、反応容器の底面を押すことを抑制することができ、より、反応容器が破損することを抑制することができる。
(5)上記形態の反応容器において、前記反応容器は、前記許容構造を備え、前記反応容器の外殻を構成する収容部と、前記収容部の側面に接して配される低減部材であって、前記四ホウ酸ナトリウムとの静止摩擦係数が、前記四ホウ酸ナトリウムと前記収容部との静止摩擦係数よりも小さい素材によって形成されている低減部材と、を備えていてもよい。
この形態の反応容器によれば、反応容器の静止摩擦力が小さくなることで、四ホウ酸ナトリウムが、下から上に向かって、より側面を滑りやすくなる。
本開示は、反応容器以外の種々の形態で実現することも可能である。例えば、水素発生器、水素発生装置、ならびにそれら反応容器、水素発生器、および水素発生装置の製造方法やその製造方法を実現するコンピュータプログラム、そのコンピュータプログラムを記録した一時的でない記録媒体等の形態で実現することができる。
【図面の簡単な説明】
【0007】
第1実施形態の水素発生装置を表した図。
反応容器の内部の状態を説明するための図。
十水和物の四ホウ酸ナトリウムが、変形部材を圧縮している状態を表した図。
第2実施形態の反応容器を説明する図。
第3実施形態の反応容器を表した図。
四ホウ酸ナトリウムが側面に与える力を説明する図。
第4実施形態の反応容器を表した図。
他の実施形態の水素発生装置を説明する図。
【発明を実施するための形態】
【0008】
A.第1実施形態:
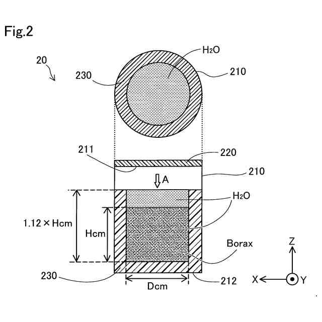
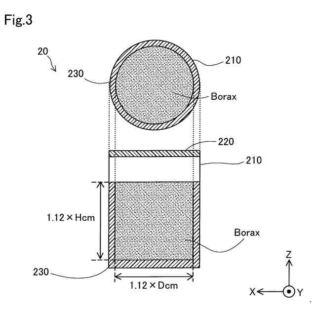
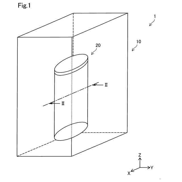
図1は、第1実施形態の水素発生装置1を表した図である。図1において、互いに直交するX軸とY軸とZ軸を表している。Z軸は鉛直方向であり、X軸およびY軸は水平方向である。図2以降においても同様である。水素発生装置1は、水素化ホウ素ナトリウムと、酸と、水と、を反応させることにより水素を発生させる。また、水素発生装置1は、発生させた水素を、図示しない管を介して燃料電池システムに供給する。燃料電池システムは、車両や船舶や、航空機等の移動体に搭載される。水素発生装置1は、ケース10と、反応容器20と、を備える。ケース10は、反応容器20を収容し、反応容器20を外部から保護する。図1において、ケース10の内部を透かして表している。図1においては反応容器20がケース10内で浮いているように見えるが、実際は、ケース10内に、反応容器20を収容可能なスペースが形成されており、反応容器20がユーザによってスペースに設置されることにより、図1の状態となる。
【0009】
図2は、反応容器20の内部の状態を説明するための図である。図2の下図は、図1のII-II断面図である。図2の上図は、下図の白抜き矢印A方向に反応容器20を見た図である。なお、図2において、説明のために上図および下図の反応容器20の形状を簡略化して表している。反応容器20は、水素化ホウ素ナトリウムと水と酸とから、水素と四ホウ酸ナトリウムとを生成させるための容器である。反応容器20は、生成した四ホウ酸ナトリウムを収容する。酸は塩酸、ギ酸、クエン酸、ホウ酸等から一つ選択される。図2において、発生した水素は図示しない管によって燃料電池システムに供給された後であり、四ホウ酸ナトリウムと水とが反応容器20に残された状態である。図2において、水にH
2
O、四ホウ酸ナトリウムにBoraxの符号を付している。図3以降においても同様である。図2においては、反応容器20内の温度は50℃以上である。反応容器20の構成の説明の前に、四ホウ酸ナトリウムの性質について説明する。
【0010】
一般に、水酸化ホウ素ナトリウムと水と酸とを反応させると、水素と、四ホウ酸ナトリウムと、が生成する。また、反応熱が発生する。水酸化ホウ素ナトリウムと水と酸との反応においては、100℃以上の熱が発生することが知られている。そのため、密封された容器内で水素化ホウ素ナトリウムと水と酸とを反応させると、容器内は50℃以上の状態となる。四ホウ酸ナトリウムは、50℃以上の環境下においては五水和物で安定し、50℃以下の環境下においては、周囲の水を吸収することで、十水和物に変化する。十水和物の四ホウ酸ナトリウムは、溶融後に温度が下がって固まるため、流動しにくい。そのため、十水和物の四ホウ酸ナトリウムは、容器内を、全方向に均等に広がりながら膨張する。十水和物の四ホウ酸ナトリウムの体積は、五水和物の四ホウ酸ナトリウムの体積の1.4倍に膨張する。この際に、四ホウ酸ナトリウムは、容器を内側から外側に向かって押しながら、容器内において膨張する。そのため、押された容器が破損する可能性がある。なお、一般に、水素化ホウ素ナトリウムを酸と完全に反応させるためには、反応に必要な量以上の水が容器内に混在することが望ましいことが知られている。水酸化ホウ素ナトリウムの質量に対して必要な水の量よりも多い水が、反応容器内に入れられた状態で反応が行われることで、水素の収率が向上する。本実施形態においては、五水和物の四ホウ酸ナトリウムが生成した際に、五水和物の四ホウ酸ナトリウムの周囲に、十水和物の四ホウ酸ナトリウムに変化するために必要な量の水が混在した状態で、反応が行われる。このように、本実施形態において、十水和物の四ホウ酸ナトリウムが生成しやすいが、水素の収率が高い状態で反応が行われる。以下において、予め定められた質量の水素化ホウ素ナトリウムと、水と、酸が反応容器20に入れられることで、水素と四ホウ酸ナトリウムと、が生成することを前提として説明する。
(【0011】以降は省略されています)
この特許をJ-PlatPat(特許庁公式サイト)で参照する
関連特許
トヨタ自動車株式会社
方法
1か月前
トヨタ自動車株式会社
電池
21日前
トヨタ自動車株式会社
車両
1か月前
トヨタ自動車株式会社
電池
27日前
トヨタ自動車株式会社
車両
7日前
トヨタ自動車株式会社
方法
6日前
トヨタ自動車株式会社
方法
今日
トヨタ自動車株式会社
車両
1か月前
トヨタ自動車株式会社
車両
1日前
トヨタ自動車株式会社
車両
21日前
トヨタ自動車株式会社
電池
13日前
トヨタ自動車株式会社
車体
1か月前
トヨタ自動車株式会社
車両
22日前
トヨタ自動車株式会社
電池
13日前
トヨタ自動車株式会社
配管
22日前
トヨタ自動車株式会社
モータ
1か月前
トヨタ自動車株式会社
ロータ
22日前
トヨタ自動車株式会社
電動車
21日前
トヨタ自動車株式会社
電動車
22日前
トヨタ自動車株式会社
蓄電池
1か月前
トヨタ自動車株式会社
タンク
6日前
トヨタ自動車株式会社
エンジン
22日前
トヨタ自動車株式会社
鋳造装置
1か月前
トヨタ自動車株式会社
制御装置
22日前
トヨタ自動車株式会社
蓄電装置
21日前
トヨタ自動車株式会社
蓄電装置
21日前
トヨタ自動車株式会社
蓄電装置
21日前
トヨタ自動車株式会社
蓄電装置
1日前
トヨタ自動車株式会社
蓄電セル
29日前
トヨタ自動車株式会社
エンジン
13日前
トヨタ自動車株式会社
エンジン
21日前
トヨタ自動車株式会社
電動車両
1か月前
トヨタ自動車株式会社
路側装置
1か月前
トヨタ自動車株式会社
制御装置
1か月前
トヨタ自動車株式会社
蓄電装置
2日前
トヨタ自動車株式会社
学習装置
21日前
続きを見る
他の特許を見る