TOP
|
特許
|
意匠
|
商標
特許ウォッチ
Twitter
他の特許を見る
公開番号
2025159952
公報種別
公開特許公報(A)
公開日
2025-10-22
出願番号
2024062845
出願日
2024-04-09
発明の名称
モータ
出願人
トヨタ自動車株式会社
代理人
弁理士法人 快友国際特許事務所
主分類
H02K
1/20 20060101AFI20251015BHJP(電力の発電,変換,配電)
要約
【課題】 ステータのコイルを効率的に冷却する。
【解決手段】 モータであって、ステータが、軸方向において第1端面と第2端面を有するステータコアと、前記ステータコアに巻回されたコイルであって前記第1端面に設けられた第1コイルエンドと前記第2端面に設けられた第2コイルエンドとを有する前記コイル、を有する。ケースが、前記ステータコアの前記第1端面に当接する当接面を有している。前記当接面に、前記ステータの中心軸回りに環状に伸びる環状溝が設けられている。前記環状溝と前記第1端面によって囲まれた空間によって、冷却液が流れる環状冷却液流路が構成されている。前記ステータに、前記第1端面から前記第2端面まで伸びるとともに前記環状冷却液流路に繋がっている複数の第1内部冷却液流路と、前記第1内部冷却液流路から分岐して前記第1端面まで伸びる第2内部冷却液流路、が設けられている。
【選択図】図3
特許請求の範囲
【請求項1】
モータであって、
ステータと、
前記ステータを収容するケース、
を有し、
前記ステータが、
筒形状を有し、軸方向において第1端面と前記第1端面の反対側に位置する第2端面を有するステータコアと、
前記ステータコアに巻回されたコイルであって、前記第1端面に設けられた第1コイルエンドと前記第2端面に設けられた第2コイルエンドとを有する前記コイル、
を有し、
前記ケースが、前記ステータコアの前記第1端面に当接する当接面を有しており、
前記当接面に、前記ステータの中心軸回りに環状に伸びる環状溝が設けられており、
前記環状溝と前記第1端面によって囲まれた空間によって、冷却液が流れる環状冷却液流路が構成されており、
前記ステータに、
前記第1端面から前記第2端面まで伸びるとともに前記環状冷却液流路に繋がっている複数の第1内部冷却液流路と、
前記第1内部冷却液流路から分岐して前記第1端面まで伸びる第2内部冷却液流路、
が設けられている、モータ。
発明の詳細な説明
【技術分野】
【0001】
本明細書に開示の技術は、モータに関する。
続きを表示(約 1,800 文字)
【0002】
特許文献1に開示のモータは、内部にオイル流路が設けられたステータコアを有している。オイル流路にオイルを流すことで、ステータコアを冷却することができる。
【先行技術文献】
【特許文献】
【0003】
特開2020-114085号公報
【発明の概要】
【発明が解決しようとする課題】
【0004】
本明細書では、ステータのコイルを効率的に冷却する技術を提案する。
【課題を解決するための手段】
【0005】
本明細書が開示するモータは、ステータと、前記ステータを収容するケース、を有する。前記ステータが、ステータコアとコイルを有する。前記ステータコアは、筒形状を有し、軸方向において第1端面と前記第1端面の反対側に位置する第2端面を有する。前記コイルは、前記ステータコアに巻回されている。前記コイルは、前記第1端面に設けられた第1コイルエンドと前記第2端面に設けられた第2コイルエンドとを有する。前記ケースが、前記ステータコアの前記第1端面に当接する当接面を有している。前記当接面に、前記ステータの中心軸回りに環状に伸びる環状溝が設けられている。前記環状溝と前記第1端面によって囲まれた空間によって、冷却液が流れる環状冷却液流路が構成されている。前記ステータに、前記第1端面から前記第2端面まで伸びるとともに前記環状冷却液流路に繋がっている複数の第1内部冷却液流路と、前記第1内部冷却液流路から分岐して前記第1端面まで伸びる第2内部冷却液流路、が設けられている。
【0006】
このモータでは、環状冷却液流路から各第1内部冷却液流路に冷却液が流れる。第1内部流路内の冷却液によって、ステータコアとコイルが冷却される。第1内部流路内の冷却液は、第2端面から第2コイルエンドに向けて吐出される。このため、第2コイルエンドが冷却される。また、第1内部流路内の冷却液の一部は、第2内部冷却液流路を介して第1端面から第1コイルエンドに向けて吐出される。このため、第1コイルエンドが冷却される。このように、このモータによれば、ステータのコイルを効率的に冷却できる。
【図面の簡単な説明】
【0007】
実施例のモータの分解斜視図。
実施例のモータの部分断面図(図2a)と環状溝58の平面図(図2b)。
実施例のモータの拡大断面図。
【発明を実施するための形態】
【0008】
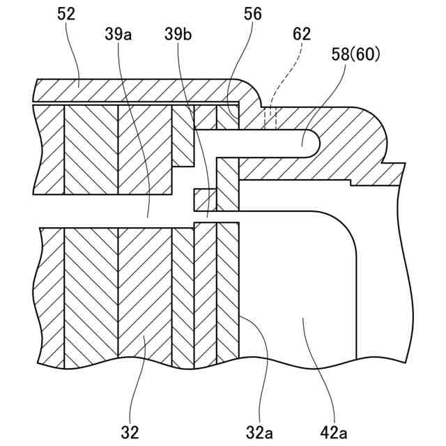
図1、2に示す実施例1のモータ10は、ロータ20、ステータ30、及び、ケース50を有している。ロータ20は、シャフト24を有している。ステータ30は、筒形状を有している。ロータ20は、シャフト24の中心軸とステータ30の中心軸AXが一致するように、ステータ30の中心孔内に配置されている。ロータ20とステータ30は、ケース50内に収容されている。以下では、モータ軸(すなわち、中心軸AX)に平行な方向を軸方向といい、モータ軸を中心とする円に沿う方向を周方向という。
【0009】
ステータ30は、ステータコア32とコイル40を有している。コイル40は、ステータコア32に巻回されている。
【0010】
ステータコア32は、軸方向に積層された複数の電磁鋼板により構成されている。ステータコア32は、中心軸AXと同心状の筒形状を有している。ステータコア32は、軸方向の両側に第1端面32aと第2端面32bを有している。第1端面32aは、第2端面32bの反対側に位置している。図示していないが、ステータコア32は、その内周面に複数のティースを有している。コイル40は、ステータコア32の各ティースに巻回されている。コイル40は、コイルエンド42aとコイルエンド42bを有している。コイルエンド42a、42bは、ステータコア32に巻回されたコイル40の折り曲げ部分である。コイルエンド42aは、第1端面32aに設けられている。コイルエンド42aは、第1端面32aから突出している。コイルエンド42bは第2端面32bに設けられている。コイルエンド42bは、第2端面32bから突出している。図1に示すように、コイルエンド42bは、第2端面32bにおいて環状に分布している。同様に、コイルエンド42aは、第1端面32aにおいて環状に分布している。
(【0011】以降は省略されています)
この特許をJ-PlatPat(特許庁公式サイト)で参照する
関連特許
個人
高圧電気機器の開閉器
19日前
株式会社アイドゥス企画
減反モータ
19日前
株式会社デンソー
端子台
12日前
株式会社デンソー
回転電機
3日前
株式会社ダイヘン
送配電装置
3日前
株式会社不二越
空冷式油圧装置
3日前
富士電機株式会社
電力変換装置
3日前
富士電機株式会社
電力変換装置
3日前
ローム株式会社
半導体集積回路
10日前
本田技研工業株式会社
回転電機
5日前
矢崎総業株式会社
電源回路
18日前
株式会社TMEIC
制御装置
11日前
株式会社日立製作所
回転電機
10日前
矢崎総業株式会社
給電装置
11日前
大和ハウス工業株式会社
敷設用機器
11日前
日産自動車株式会社
ロータシャフト
26日前
個人
非対称鏡像力を有する4層PWB電荷搬送体
26日前
ローム株式会社
モータドライバ回路
26日前
日産自動車株式会社
ロータシャフト
26日前
株式会社イノコンバンク
無線給電システム
3日前
サンデン株式会社
モータ
4日前
京商株式会社
模型用非接触電力供給システム
19日前
サンデン株式会社
モータ
4日前
株式会社TMEIC
電力変換装置
11日前
株式会社土井製作所
ケーブル保護管路
10日前
ジヤトコ株式会社
治具
3日前
ローム株式会社
半導体装置
10日前
Astemo株式会社
充電制御装置
10日前
ローム株式会社
半導体装置
10日前
株式会社日立産機システム
回転電機
10日前
トヨタ自動車株式会社
熱利用回路
12日前
矢崎総業株式会社
電気接続箱
5日前
本田技研工業株式会社
回転電機用ロータ
19日前
多摩川精機株式会社
モータ
3日前
日動電工株式会社
壁内配線用のブランクプレート
18日前
河村電器産業株式会社
車両充電装置
3日前
続きを見る
他の特許を見る