TOP
|
特許
|
意匠
|
商標
特許ウォッチ
Twitter
他の特許を見る
10個以上の画像は省略されています。
公開番号
2025176429
公報種別
公開特許公報(A)
公開日
2025-12-04
出願番号
2024082590
出願日
2024-05-21
発明の名称
モータ
出願人
サンデン株式会社
代理人
個人
,
個人
,
個人
,
個人
主分類
H02K
21/16 20060101AFI20251127BHJP(電力の発電,変換,配電)
要約
【課題】従来技術に比べて磁石磁束を有効に活用することが可能なモータを提供する。
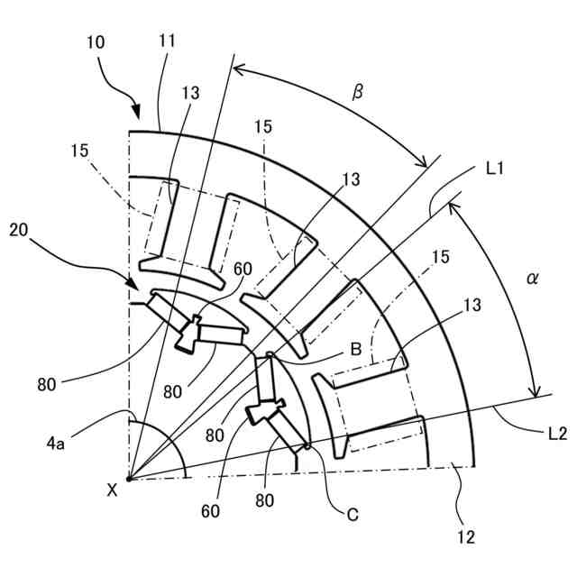
【解決手段】モータは、径方向に延びるティース13を周方向に複数有するステータコア11及びティース13に集中巻で巻回されたステータコイル(巻線)15を有する円筒状のステータ10と、ステータ10の内側に設けられて複数の磁極を有するロータ20とを含み、ロータ20の複数の磁極のそれぞれの角度幅αがステータ10におけるティース13の角度間隔βに対応している。
【選択図】図6
特許請求の範囲
【請求項1】
径方向に延びるティースを周方向に複数有するステータコア及び前記ティースに集中巻で巻回された巻線を有する円筒状のステータと、前記ステータの内側に設けられて複数の磁極を有するロータとを含み、
前記ロータの複数の磁極のそれぞれの角度幅が前記ステータにおける前記ティースの角度間隔に対応している、モータ。
続きを表示(約 890 文字)
【請求項2】
前記ロータの複数の磁極のそれぞれは、ロータコア内に外側が開いたV字状に設けられた一対の永久磁石によって形成されている、請求項1に記載のモータ。
【請求項3】
前記ロータの複数の磁極のそれぞれの角度幅は、前記一対の永久磁石の一方の径方向最外部と前記ロータの回転中心を結ぶ第1仮想直線と、前記一対の永久磁石の他方の径方向最外部と前記ロータの回転中心を結ぶ第2仮想直線とで形成される角度である、請求項2に記載のモータ。
【請求項4】
前記ロータにおいて、前記一対の永久磁石の間には非磁性部が設けられ、及び前記複数の磁極のうちの隣り合う二つの磁極の間には空間部又は非磁性部が形成されている、請求項2に記載のモータ。
【請求項5】
前記ロータコアは、
磁性材料で形成されて回転軸に一体に設けられたコア本体部と、
磁性材料で形成されて前記コア本体部の外側に周方向に間隔をあけて配置された複数のコア外側部と、
非磁性材料で形成されて前記コア本体部と前記複数のコア外側部のそれぞれとを径方向に間隔をあけて連結する複数の非磁性ブリッジ部材と、
を含み、
前記コア本体部と前記複数のコア外側部のそれぞれとの間には、それらを連結している非磁性ブリッジ部材を挟むとともにV字状をなす一対の磁石取付部が形成されており、
前記ロータにおいて、前記一対の永久磁石が前記一対の磁石取付部に配置されている、
請求項4に記載のモータ。
【請求項6】
前記ロータの磁極数と前記ステータのティース数との比が2:3となるように構成された永久磁石同期モータである、請求項1に記載のモータ。
【請求項7】
請求項1~6のいずれか一つに記載のモータが駆動源として用いられた電動圧縮機。
【請求項8】
前記モータにおいて、前記ロータの複数の磁極のそれぞれの角度幅が前記ステータにおける前記ティースの角度間隔以下に設定されている、請求項7に記載の電動圧縮機。
発明の詳細な説明
【技術分野】
【0001】
本発明は、永久磁石を用いたモータに関し、特に、電動圧縮機等の駆動源として好適に用いられ得るモータに関する。
続きを表示(約 1,500 文字)
【背景技術】
【0002】
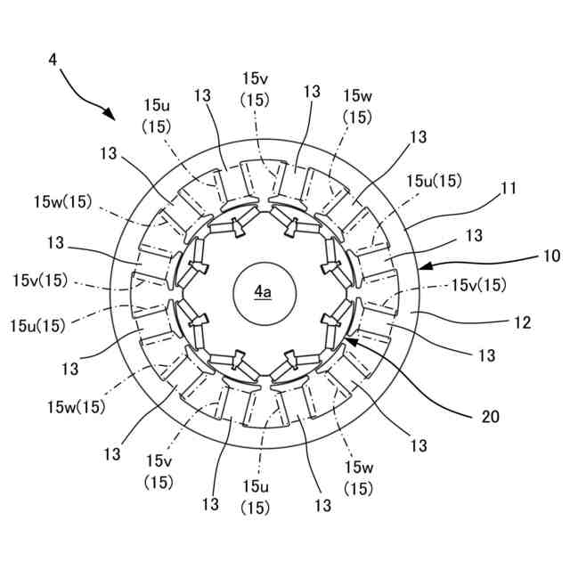
特許文献1には、径方向に延びるティースを周方向に複数有するステータコア及び前記ティースに巻回された巻線を有するステータと、複数の磁極を有するロータとを備えたモータが記載されている。特許文献1に記載されたモータは、前記巻線が前記ティースに集中巻で巻回されており、前記ロータの極数と前記ステータのスロット数(巻線数)との比が2:3となるように構成されている。
【先行技術文献】
【特許文献】
【0003】
特開2014-143886号公報
【発明の概要】
【発明が解決しようとする課題】
【0004】
特許文献1に記載されたモータのように巻線がティースに集中巻で巻回される場合、ステータにおけるティース(巻線)の角度間隔に比べてロータの複数の磁極のそれぞれの角度幅の方が大きくなることが多い。そのため、トルク発生時に、磁極を形成する永久磁石の端部が、巻線が巻回されたティースの被巻回部の範囲からはみ出して被巻回部に対向しない状態となり得る。このような永久磁石の端部及びその近傍の磁束は、隣の極へと漏れてしまいトルクの発生に寄与しない漏れ磁束となるため、磁石磁束が有効に活用されていないという課題があった。
【0005】
そこで、本発明は、従来技術に比べて磁石磁束を有効に活用することが可能なモータを提供することを目的とする。
【課題を解決するための手段】
【0006】
本発明によると新規なモータが提供される。提供されるモータは、径方向に延びるティースを周方向に複数有するステータコア及び前記ティースに集中巻で巻回された巻線を有する円筒状のステータと、前記ステータの内側に設けられて複数の磁極を有するロータとを含み、前記ロータの複数の磁極のそれぞれの角度幅が前記ステータにおける前記ティースの角度間隔に対応している。
【発明の効果】
【0007】
本発明によれば、従来技術に比べて磁石磁束を有効に活用することが可能なモータを提供することができる。
【図面の簡単な説明】
【0008】
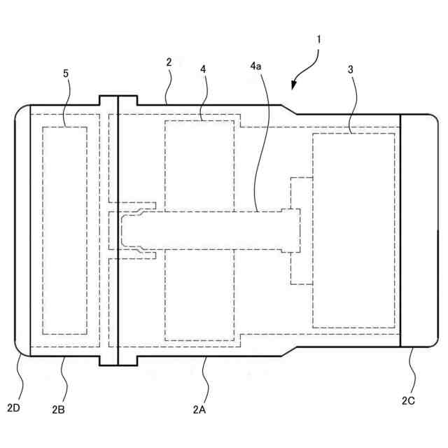
電動圧縮機の一例を示す図である。
電動圧縮機の駆動源としてのモータの一例を示す平面図である。
モータのステータのティースを示す図である。
モータのロータを示す平面図である。
ロータコアを示す平面図である。
ステータ及びロータの要部拡大図である。
ロータコアを構成するコア本体部と複数のコア外側部を示す平面図である。
図7のD部拡大図である。
ロータコアを構成する非磁性ブリッジ部材を示す平面図である。
図3のA部拡大図である。
モータの効果の一つを説明するための図である。
ステータにおけるティースの角度間隔に対するロータの各磁極の角度幅とモータのトルクとの関係を示す図である。
【発明を実施するための形態】
【0009】
以下、本発明の実施の形態を添付図面に基づいて説明する。
【0010】
図1は、電動圧縮機の一例を示す図である。図1に示された電動圧縮機1は、いわゆるインバータ一体型の電動圧縮機である。電動圧縮機1は、ハウジング2を有する。ハウジング2は、メインハウジング2A、インバータハウジング2B、ハウジングカバー2C及びインバータカバー2Dを含み、これらが図示省略のボルトなどによって一体的に締結されて構成されている。
(【0011】以降は省略されています)
この特許をJ-PlatPat(特許庁公式サイト)で参照する
関連特許
サンデン株式会社
モータ
今日
サンデン株式会社
モータ
今日
サンデン株式会社
情報処理装置
1か月前
サンデン株式会社
電力変換装置
3か月前
サンデン株式会社
車両用空調装置
1日前
サンデン株式会社
車両用空調装置
6日前
サンデン株式会社
車両用空調装置
6日前
サンデン株式会社
車両用空調装置
6日前
サンデン株式会社
車両用空調装置
6日前
サンデン株式会社
車両用空調装置
6日前
サンデン株式会社
車両用空調装置
1日前
サンデン株式会社
インバータ装置
今日
サンデン株式会社
車両用空調装置
1日前
サンデン株式会社
可変容量型圧縮機
1か月前
サンデン株式会社
スクロール圧縮機
2か月前
サンデン株式会社
スクロール圧縮機
2か月前
サンデン株式会社
スクロール圧縮機
2か月前
サンデン株式会社
車両用熱管理装置
6日前
サンデン株式会社
車両用空気調和装置
1か月前
サンデン株式会社
車両用空気調和装置
1か月前
サンデン株式会社
車両用空気調和装置
1か月前
サンデン株式会社
ヘリカルコンプレッサ
1日前
サンデン株式会社
ヘリカルコンプレッサ
1日前
サンデン株式会社
ヘリカルコンプレッサ
1日前
サンデン株式会社
熱マネジメントシステム
1か月前
サンデン株式会社
スクロール式コンプレッサ
2か月前
サンデン株式会社
車両用熱マネジメントシステム
2か月前
サンデン株式会社
車両用熱マネジメントシステム
2か月前
サンデン株式会社
車両用熱マネジメントシステム
2か月前
サンデン株式会社
車両用熱マネジメントシステム
2か月前
サンデン株式会社
車両用熱マネジメントシステム
2か月前
サンデン株式会社
充電制御システム及び配車管理システム
1か月前
サンデン株式会社
電動圧縮機用モータ及びそれを備えた電動圧縮機
2か月前
個人
単極モータ
1か月前
個人
電気を重力で発電装置
28日前
個人
高圧電気機器の開閉器
15日前
続きを見る
他の特許を見る