TOP
|
特許
|
意匠
|
商標
特許ウォッチ
Twitter
他の特許を見る
公開番号
2025175467
公報種別
公開特許公報(A)
公開日
2025-12-03
出願番号
2024081607
出願日
2024-05-20
発明の名称
ヘリカルコンプレッサ
出願人
サンデン株式会社
代理人
個人
主分類
F04C
18/344 20060101AFI20251126BHJP(液体用容積形機械;液体または圧縮性流体用ポンプ)
要約
【課題】運転効率を改善しながら寸法の小型化も図ることができるヘリカルコンプレッサを提供する。
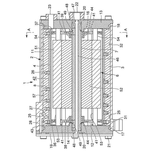
【解決手段】ヘリカルコンプレッサ1は、シリンダ3と、ローラ4と、シリンダ3とローラ4の間の圧縮室42を区画するブレード8備え、圧縮室42の容積が、ローラ4の公転によって圧縮室42の冷媒が圧縮される。ローラ4内に設けられたモータ6と、シャフト7を軸支するケーシング側板12、13と、ローラ4のローラホイール36、37を備える。モータ6の固定子51をケーシング側板12、13に保持して給電する固定脚53、54があり、ローラホイール36、37には固定脚53、54を通過させる通過部41がある。
【選択図】図1
特許請求の範囲
【請求項1】
シリンダと、該シリンダの内側に配置され、当該シリンダに対して自転すること無く公転されるローラと、前記シリンダと前記ローラの間に構成される圧縮室を区画する螺旋状のブレードを備え、前記圧縮室の容積が、前記ローラの公転によって前記シリンダのスラスト方向に進行しながら減少することで、前記圧縮室に吸入された作動流体が圧縮されるヘリカルコンプレッサにおいて、
前記ローラ内に設けられ、当該ローラ内を通過するシャフトを介して前記ローラを駆動するモータと、
前記シャフトのスラスト方向両端に位置して当該シャフトを軸支する軸受部材と、
前記ローラのスラスト方向両端に位置し、前記シャフトが貫通するローラホイールを備え、
前記モータは、固定子と、前記シャフトに取り付けられて前記固定子の内側で回転する回転子を有し、
前記固定子を前記軸受部材に保持し、前記固定子に給電する固定脚が設けられ、
前記ローラホイールには、前記固定脚を通過させる通過部が形成されていることを特徴とするヘリカルコンプレッサ。
続きを表示(約 460 文字)
【請求項2】
前記ローラホイールの通過部と、該通過部を通過する前記固定脚により、前記ローラの自転防止機構が構成されることを特徴とする請求項1に記載のヘリカルコンプレッサ。
【請求項3】
前記シャフトに設けられ、前記ローラホイールに摺動自在に当接して前記ローラを公転させるカムリングを備えたことを特徴とする請求項1に記載のヘリカルコンプレッサ。
【請求項4】
前記シリンダの内面に形成された螺旋状溝を備え、
前記ブレードは、前記螺旋状溝に出没可能に嵌め込まれていることを特徴とする請求項1乃至請求項3のうちの何れかに記載のヘリカルコンプレッサ。
【請求項5】
前記シリンダ及び前記ローラを内部に密閉収容する外側ケーシングを備え、
該外側ケーシングは、スラスト方向両端に位置するケーシング側板を有し、
各ケーシング側板は、前記シャフトの軸受部をそれぞれ有して前記軸受部材を構成することを特徴とする請求項1に記載のヘリカルコンプレッサ。
発明の詳細な説明
【技術分野】
【0001】
本発明は、シリンダと、このシリンダの内側で公転するローラとの間の圧縮室を螺旋状のブレードで区画することで作動流体を圧縮するヘリカルコンプレッサに関するものである。
続きを表示(約 1,500 文字)
【背景技術】
【0002】
従来よりヘリカルコンプレッサは、シリンダと、このシリンダの内側に設けられたローラと、シリンダとローラの間の圧縮室を区画するブレードを有しており、シリンダに対してローラを公転させ、それにより圧縮室の容積をシリンダのスラスト方向に進行しながら減少させることで、圧縮室に吸入された作動流体を圧縮する構造とされていた(例えば、特許文献1参照)。
【0003】
その場合、シリンダの内面に螺旋状溝を形成し、この螺旋状溝にブレードを出没可能に嵌め込むものや(例えば、特許文献2参照)、逆にローラの外面に螺旋状溝を形成して、ブレードを出没可能に嵌め込むものが開発されていた(例えば、特許文献3参照)。
【先行技術文献】
【特許文献】
【0004】
特許第6024487号公報
特開2003-28084号公報
特開2006-77745号公報
【発明の概要】
【発明が解決しようとする課題】
【0005】
しかしながら、前記特許文献3ではローラを駆動するモータがシリンダの外側に配置されているため、全体寸法が大型化してしまう。一方、前記特許文献2ではモータをローラ内に配置しているため、全体寸法の小型化を図ることが可能となるが、シャフトに固定子を取り付け、その周囲で回転子を回転させ、回転子をローラに取り付けてローラを自転しながら公転させる構造となっており、特殊なモータを使用しなければならなくなると共に、ローラとブレード間の摺動速度が速くなり、ブレードが摩耗し、動力ロスも発生する問題があった。
【0006】
本発明は、係る従来の技術的課題を解決するために成されたものであり、運転効率を改善しながら寸法の小型化も図ることができるヘリカルコンプレッサを提供することを目的とする。
【課題を解決するための手段】
【0007】
本発明のヘリカルコンプレッサは、シリンダと、このシリンダの内側に配置され、当該シリンダに対して自転すること無く公転されるローラと、シリンダとローラの間に構成される圧縮室を区画する螺旋状のブレードを備え、圧縮室の容積が、ローラの公転によってシリンダのスラスト方向に進行しながら減少することで、圧縮室に吸入された作動流体が圧縮されるものであって、ローラ内に設けられ、当該ローラ内を通過するシャフトを介してローラを駆動するモータと、シャフトのスラスト方向両端に位置して当該シャフトを軸支する軸受部材と、ローラのスラスト方向両端に位置し、シャフトが貫通するローラホイールを備え、モータは、固定子と、シャフトに取り付けられて固定子の内側で回転する回転子を有し、固定子を軸受部材に保持し、固定子に給電する固定脚が設けられ、ローラホイールには、固定脚を通過させる通過部が形成されていることを特徴とする。
【0008】
請求項2の発明のヘリカルコンプレッサは、上記発明においてローラホイールの通過部と、この通過部を通過する固定脚により、ローラの自転防止機構が構成されることを特徴とする。
【0009】
請求項3の発明のヘリカルコンプレッサは、請求項1の発明においてシャフトに設けられ、ローラホイールに摺動自在に当接してローラを公転させるカムリングを備えたことを特徴とする。
【0010】
請求項4の発明のヘリカルコンプレッサは、上記各発明においてシリンダの内面に形成された螺旋状溝を備え、ブレードは、螺旋状溝に出没可能に嵌め込まれていることを特徴とする。
(【0011】以降は省略されています)
この特許をJ-PlatPat(特許庁公式サイト)で参照する
関連特許
サンデン株式会社
モータ
今日
サンデン株式会社
モータ
今日
サンデン株式会社
情報処理装置
1か月前
サンデン株式会社
車両用空調装置
1日前
サンデン株式会社
車両用空調装置
6日前
サンデン株式会社
車両用空調装置
1日前
サンデン株式会社
車両用空調装置
6日前
サンデン株式会社
車両用空調装置
6日前
サンデン株式会社
車両用空調装置
6日前
サンデン株式会社
インバータ装置
今日
サンデン株式会社
車両用空調装置
6日前
サンデン株式会社
車両用空調装置
1日前
サンデン株式会社
スクロール圧縮機
2か月前
サンデン株式会社
スクロール圧縮機
2か月前
サンデン株式会社
スクロール圧縮機
2か月前
サンデン株式会社
可変容量型圧縮機
1か月前
サンデン株式会社
車両用熱管理装置
6日前
サンデン株式会社
車両用空気調和装置
1か月前
サンデン株式会社
車両用空気調和装置
1か月前
サンデン株式会社
車両用空気調和装置
1か月前
サンデン株式会社
ヘリカルコンプレッサ
1日前
サンデン株式会社
ヘリカルコンプレッサ
1日前
サンデン株式会社
ヘリカルコンプレッサ
1日前
サンデン株式会社
熱マネジメントシステム
1か月前
サンデン株式会社
スクロール式コンプレッサ
2か月前
サンデン株式会社
車両用熱マネジメントシステム
2か月前
サンデン株式会社
車両用熱マネジメントシステム
2か月前
サンデン株式会社
車両用熱マネジメントシステム
2か月前
サンデン株式会社
車両用熱マネジメントシステム
2か月前
サンデン株式会社
車両用熱マネジメントシステム
2か月前
サンデン株式会社
充電制御システム及び配車管理システム
1か月前
サンデン株式会社
電動圧縮機用モータ及びそれを備えた電動圧縮機
2か月前
個人
海流製造装置。
2か月前
株式会社スギノマシン
圧縮機
1か月前
株式会社ツインバード
送風装置
2か月前
株式会社ツインバード
送風装置
2か月前
続きを見る
他の特許を見る