TOP
|
特許
|
意匠
|
商標
特許ウォッチ
Twitter
他の特許を見る
10個以上の画像は省略されています。
公開番号
2025176427
公報種別
公開特許公報(A)
公開日
2025-12-04
出願番号
2024082587
出願日
2024-05-21
発明の名称
モータ
出願人
サンデン株式会社
代理人
個人
,
個人
,
個人
,
個人
主分類
H02K
1/276 20220101AFI20251127BHJP(電力の発電,変換,配電)
要約
【課題】従来技術に比べて漏れ磁束を抑制することができるモータを提供する。
【解決手段】モータは、円筒状のステータと前記ステータの内側に設けられて複数の磁極を有するロータ20とを含む。ロータ20において、複数の磁極のそれぞれを形成する一対の永久磁石80,80がロータコア30内に非磁性部としての非磁性ブリッジ部材60を挟んでV字状に設けられ、一対の永久磁石80,80はそれらの間にある非磁性ブリッジ部材60に接触した状態で固定されている。
【選択図】図3
特許請求の範囲
【請求項1】
径方向に延びるティースを周方向に複数有するステータコア及び前記ティースに巻回された巻線を有する円筒状のステータと、前記ステータの内側に設けられて複数の磁極を有するロータとを含み、
前記ロータにおいて、前記複数の磁極のそれぞれを形成する一対の永久磁石がロータコア内に非磁性部を挟んでV字状に設けられ、前記一対の永久磁石はそれらの間にある前記非磁性部に接触した状態で固定されている、
モータ。
続きを表示(約 990 文字)
【請求項2】
前記ロータにおいて、前記複数の磁極のうちの隣り合う二つの磁極の間には空間部又は非磁性部が形成されている、請求項1に記載のモータ。
【請求項3】
前記ロータコアは、
磁性材料で形成されて回転軸に一体に設けられたコア本体部と、
磁性材料で形成されて前記コア本体部の外側に周方向に間隔をあけて配置された複数のコア外側部と、
非磁性材料で形成されて前記コア本体部と前記複数のコア外側部のそれぞれとを径方向に間隔をあけて連結する複数の非磁性ブリッジ部材と、
を含み、
前記コア本体部と前記複数のコア外側部のそれぞれとの間には、それらを連結している非磁性ブリッジ部材を挟むとともにV字状をなす一対の磁石取付部が形成されており、
前記ロータにおいて、前記一対の永久磁石が前記一対の磁石取付部に配置され、前記一対の永久磁石はそれらの間にある非磁性ブリッジ部材に接触した状態で固定されている、
請求項2に記載のモータ。
【請求項4】
前記非磁性ブリッジ部材は、
前記一対の永久磁石の間に配置されて前記一対の永久磁石が接触する胴部と、
前記胴部から内側に延びて前記コア本体部に形成された第1被収容溝に収容された内側延長部と、
前記胴部から外側に延びて前記コア外側部に形成された第2被収容溝に収容された外側延長部と、
を有し、
前記第1被収容溝及び前記内側延長部は、外側から内側に向かって拡張されており、
前記第2被収容溝及び前記外側延長部は、内側から外側に向かって拡張されている、
請求項3に記載のモータ。
【請求項5】
前記胴部は、前記非磁性ブリッジ部材の内側に向かう移動を規制する第1規制部と、前記非磁性ブリッジ部材の外側に向かう移動を規制する第2規制部とを有する、請求項4に記載のモータ。
【請求項6】
前記複数のコア外側部のそれぞれは、前記一対の永久磁石の前記非磁性ブリッジ部材に接触する端面とは反対側の端面に係合するように内側に突出した一対の突出部を有する、請求項3に記載のモータ。
【請求項7】
請求項1~6のいずれか一つに記載のモータが駆動源として用いられた電動圧縮機。
発明の詳細な説明
【技術分野】
【0001】
本発明は、永久磁石を用いたモータに関し、特に、電動圧縮機等の駆動源として好適に用いられ得るモータに関する。
続きを表示(約 1,300 文字)
【背景技術】
【0002】
従来からモータにおける永久磁石の配置に関して様々な提案がなされている。例えば特許文献1には永久磁石がV字型に配置されたモータが記載されている。特許文献1に記載されたモータでは、ロータコアに設けられた複数のスロットのそれぞれが止めリブによって仕切られて二つのチャンバが形成され、この二つのチャンバのそれぞれに永久磁石が挿入されている。
【先行技術文献】
【特許文献】
【0003】
特開2022-535245号公報
【発明の概要】
【発明が解決しようとする課題】
【0004】
しかし、特許文献1に記載されたモータでは、二つの永久磁石の間に位置する前記止めリブを介して漏れ磁束が発生し、トルク性能の低下を招くという課題があった。
【0005】
そこで、本発明は、従来技術に比べて漏れ磁束を抑制することができるモータを提供することを目的とする。
【課題を解決するための手段】
【0006】
本発明によると新規なモータが提供される。提供されるモータは、径方向に延びるティースを周方向に複数有するステータコア及び前記ティースに巻回された巻線を有する円筒状のステータと、前記ステータの内側に設けられた複数の磁極を有するロータとを含み、前記ロータにおいて、複数の磁極のそれぞれを形成する一対の永久磁石がロータコア内に非磁性部を挟んでV字状に設けられ、前記一対の永久磁石はそれらの間にある非磁性部に接触した状態で固定されている。
【発明の効果】
【0007】
本発明によれば、従来技術に比べて漏れ磁束を抑制することができるモータを提供することができる。
【図面の簡単な説明】
【0008】
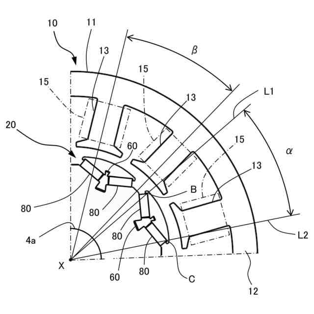
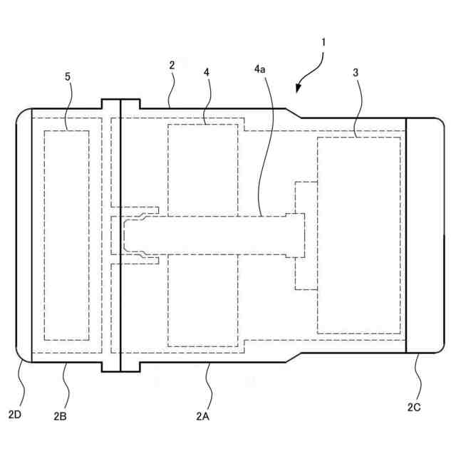
電動圧縮機の一例を示す図である。
電動圧縮機の駆動源としてのモータの一例を示す平面図である
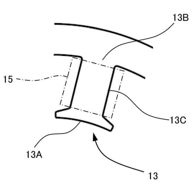
モータのステータのティースを示す図である。
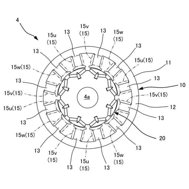
モータのロータを示す平面図である。
ロータコアを示す平面図である。
ステータ及びロータの要部拡大図である。
ロータコアを構成するコア本体部と複数のコア外側部を示す平面図である。
図7のB部拡大図である。
ロータコアを構成する非磁性ブリッジ部材を示す平面図である。
図3のA部拡大図である。
モータの効果の一つを説明するための図である。
ステータにおけるティースの角度間隔に対するロータの各磁極の角度幅とモータのトルクとの関係を示す図である。
【発明を実施するための形態】
【0009】
以下、本発明の実施の形態を添付図面に基づいて説明する。
【0010】
図1は、電動圧縮機の一例を示す図である。図1に示された電動圧縮機1は、いわゆるインバータ一体型の電動圧縮機である。電動圧縮機1は、ハウジング2を有する。ハウジング2は、メインハウジング2A、インバータハウジング2B、ハウジングカバー2C及びインバータカバー2Dを含み、これらが図示省略のボルトなどによって一体的に締結されて構成されている。
(【0011】以降は省略されています)
この特許をJ-PlatPat(特許庁公式サイト)で参照する
関連特許
サンデン株式会社
モータ
今日
サンデン株式会社
モータ
今日
サンデン株式会社
電力変換装置
4か月前
サンデン株式会社
電力変換装置
4か月前
サンデン株式会社
電力変換装置
3か月前
サンデン株式会社
情報処理装置
1か月前
サンデン株式会社
車両用空調装置
6日前
サンデン株式会社
車両用空調装置
5か月前
サンデン株式会社
車両用空調装置
6日前
サンデン株式会社
車両用空調装置
6日前
サンデン株式会社
車両用空調装置
5か月前
サンデン株式会社
車両用空調装置
6日前
サンデン株式会社
インバータ装置
今日
サンデン株式会社
車両用空調装置
1日前
サンデン株式会社
車両用空調装置
1日前
サンデン株式会社
車両用空調装置
1日前
サンデン株式会社
車両用空調装置
6日前
サンデン株式会社
スクロール圧縮機
2か月前
サンデン株式会社
車両用熱管理装置
6日前
サンデン株式会社
スクロール圧縮機
2か月前
サンデン株式会社
可変容量型圧縮機
1か月前
サンデン株式会社
スクロール圧縮機
2か月前
サンデン株式会社
車両用空気調和装置
1か月前
サンデン株式会社
車両用空気調和装置
1か月前
サンデン株式会社
車両用空気調和装置
1か月前
サンデン株式会社
ヘリカルコンプレッサ
1日前
サンデン株式会社
ヘリカルコンプレッサ
1日前
サンデン株式会社
ヘリカルコンプレッサ
1日前
サンデン株式会社
熱マネジメントシステム
1か月前
サンデン株式会社
横置型ロータリー圧縮機
5か月前
サンデン株式会社
横置型ロータリー圧縮機
5か月前
サンデン株式会社
スクロール式コンプレッサ
2か月前
サンデン株式会社
車両用熱マネジメントシステム
2か月前
サンデン株式会社
車両用熱マネジメントシステム
2か月前
サンデン株式会社
車両用熱マネジメントシステム
2か月前
サンデン株式会社
車両用熱マネジメントシステム
2か月前
続きを見る
他の特許を見る