TOP
|
特許
|
意匠
|
商標
特許ウォッチ
Twitter
他の特許を見る
10個以上の画像は省略されています。
公開番号
2025175548
公報種別
公開特許公報(A)
公開日
2025-12-03
出願番号
2024081717
出願日
2024-05-20
発明の名称
車両用空調装置
出願人
サンデン株式会社
代理人
個人
,
個人
,
個人
主分類
B60H
1/00 20060101AFI20251126BHJP(車両一般)
要約
【課題】 乗員の快適性を向上させるとともに、無駄なエネルギー消費を抑えることが可能な車両用空調装置を提供する。
【解決手段】 車両用空調装置1は、第1通風口11と第2通風口12を有するHVACユニット10を有し、HVACユニット10は、冷房時に車室2内に冷房時空気流れを形成し、暖房時に車室2内に暖房時空気流れを形成するものであり、冷房時空気流れは、第1通風口11からシート上部51に向けて吹き出されて下降し、シート下部53を経由して第2通風口12に向かう空気の流れを含み、暖房時空気流れは、第2通風口12からシート下部53に向けて吹き出されて上昇し、第1通風口11に向かう空気の流れを含む。
【選択図】図1
特許請求の範囲
【請求項1】
第1通風口と第2通風口を有するHVACユニットを有し、シートが供えられた車室内の空気調和を行う車両用空調装置であって、
前記HVACユニットは、
冷房時に前記車室内に冷房時空気流れを形成し、
暖房時に前記車室内に暖房時空気流れを形成するものであり、
前記冷房時空気流れは、
前記第1通風口から前記シートの上部(以下、「シート上部」という。)に向けて吹き出されて下降し、該シートの下部(以下、「シート下部」という。)を経由して前記第2通風口に向かう空気の流れを含み、
前記暖房時空気流れは、
前記第2通風口から前記シート下部に向けて吹き出されて上昇し、前記第1通風口に向かう空気の流れを含む、
ことを特徴とする車両用空調装置。
続きを表示(約 1,000 文字)
【請求項2】
前記シートは、前記シート上部の表面領域である第1領域と、該第1領域以外の表面領域である第2領域を有し、
前記第1領域に第1通気孔が設けられ、
前記第2領域に第2通気孔が設けられ、
前記冷房時空気流れは、前記車室内から前記第1通気孔および前記第2通気孔を経由して前記シート内に吸い込まれる空気の流れを含み、
前記暖房時空気流れは、前記シート内から前記第2通気孔を経由して前記車室内に吹き出す空気の流れを含む、
ことを特徴とする請求項1に記載の車両用空調装置。
【請求項3】
前記第2領域は、第3領域と第4領域に区画され、
前記第3領域は、前記シートに着座する乗員の脹脛付近に対向する領域であり、
前記第4領域は、前記第3領域以外の領域であり、
暖房時に前記第3領域から吹き出す空気の量は、前記第4領域から吹き出す空気の量より多い、
ことを特徴とする請求項2に記載の車両用空調装置。
【請求項4】
前記第1通気孔を開閉する開閉手段と、
前記開閉手段を制御する制御装置を有し、
暖房時に前記開閉手段により前記第1通気孔を閉止する、
ことを特徴とする請求項2に記載の車両用空調装置。
【請求項5】
前記第1領域および前記第2領域における通気量をそれぞれ変更可能である、
ことを特徴とする請求項2に記載の車両用空調装置。
【請求項6】
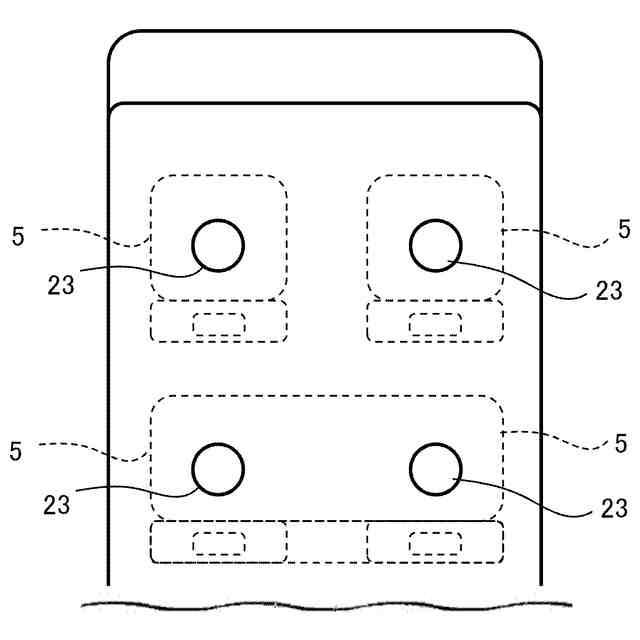
前記シート上部は、前記シートに着座する乗員の少なくとも頭部付近に対応する部位であり、
前記シート下部は、前記シートに着座する乗員の少なくとも膝下付近に対応する部位である、
ことを特徴とする請求項1に記載の車両用空調装置。
【請求項7】
前記シートに乗員が着座したことを検知する検知手段と、
制御装置を有し、
前記制御装置は、前記検知手段の検知結果に応じて、
前記シート毎に、前記冷房時空気流れおよび/または前記暖房時空気流れの形成を制御する、
ことを特徴とする請求項1に記載の車両用空調装置。
【請求項8】
前記第1通風口と接続し、前記車室の天井に設けられる第1車室側通風口と、
前記第2通風口と接続し、前記シートの下方に設けられる第2車室通風口を有する、
ことを特徴とする請求項1に記載の車両用空調装置。
発明の詳細な説明
【技術分野】
【0001】
本発明は、車両用空調装置に関する。
続きを表示(約 1,100 文字)
【背景技術】
【0002】
従来、車両用空調装置として、天井に設けた送風装置を備える構成が知られている(例えば、特許文献1参照)。
【0003】
また、暖房時に、天井に設置された空調装置から温めた空気を横方向に吹き出す様に吹出部を設け、車両の前方側に吸込部を設ける装置も知られている(例えば、特許文献2参照)。
【先行技術文献】
【特許文献】
【0004】
特開2021-066242号公報
特開2020-172138号公報
【発明の概要】
【発明が解決しようとする課題】
【0005】
しかしながら、従来技術では、乗員の快適性向上、あるいは消費エネルギーを低減の観点において十分とは言えない問題があった。
【0006】
具体的には、暖房時においては、吹き出した温風は上流、すなわち乗員の頭部付近が最も高温で、下流に行くに従い熱交換により温度が低下する。また、下方へ流れた空気が暖かい場合には再び上昇し、上部に溜まりやすくなる。このため、特許文献1、2に記載のように、天井から送風される構成では、特に暖房時において、乗員にとって好適とされる頭寒足熱とは逆の温度状態となってしまう。
【0007】
また、冷房時においては乗員とシートの接地面との間に熱がこもり易く、乗員の快適性が損なわれる問題がある。
【0008】
また、従来技術のように助手席や後部座席など乗員がいない領域にも空調風を送風する構成では、エネルギーを無駄に消費する問題もあった。
【0009】
本発明は、斯かる実情に鑑み、乗員の快適性を向上させるとともに、無駄なエネルギー消費を抑えることが可能な車両用空調装置を提供しようとするものである。
【課題を解決するための手段】
【0010】
本発明は、第1通風口と第2通風口を有するHVACユニットを有し、シートが供えられた車室内の空気調和を行う車両用空調装置であって、前記HVACユニットは、冷房時に前記車室内に冷房時空気流れを形成し、暖房時に前記車室内に暖房時空気流れを形成するものであり、前記冷房時空気流れは、前記第1通風口から前記シートの上部(以下、「シート上部」という。)に向けて吹き出されて下降し、該シートの下部(以下、「シート下部」という。)を経由して前記第2通風口に向かう空気の流れを含み、 前記暖房時空気流れは、前記第2通風口から前記シート下部に向けて吹き出されて上昇し、前記第1通風口に向かう空気の流れを含む、ことを特徴とする車両用空調装置にかかるものである。
【発明の効果】
(【0011】以降は省略されています)
この特許をJ-PlatPat(特許庁公式サイト)で参照する
関連特許
サンデン株式会社
モータ
今日
サンデン株式会社
モータ
今日
サンデン株式会社
情報処理装置
1か月前
サンデン株式会社
電力変換装置
4か月前
サンデン株式会社
電力変換装置
4か月前
サンデン株式会社
電力変換装置
3か月前
サンデン株式会社
車両用空調装置
6日前
サンデン株式会社
車両用空調装置
6日前
サンデン株式会社
車両用空調装置
6日前
サンデン株式会社
車両用空調装置
6日前
サンデン株式会社
車両用空調装置
6日前
サンデン株式会社
車両用空調装置
1日前
サンデン株式会社
車両用空調装置
1日前
サンデン株式会社
車両用空調装置
1日前
サンデン株式会社
インバータ装置
今日
サンデン株式会社
可変容量型圧縮機
1か月前
サンデン株式会社
車両用熱管理装置
6日前
サンデン株式会社
スクロール圧縮機
2か月前
サンデン株式会社
スクロール圧縮機
2か月前
サンデン株式会社
スクロール圧縮機
2か月前
サンデン株式会社
車両用空気調和装置
1か月前
サンデン株式会社
車両用空気調和装置
1か月前
サンデン株式会社
車両用空気調和装置
1か月前
サンデン株式会社
ヘリカルコンプレッサ
1日前
サンデン株式会社
ヘリカルコンプレッサ
1日前
サンデン株式会社
ヘリカルコンプレッサ
1日前
サンデン株式会社
熱マネジメントシステム
1か月前
サンデン株式会社
横置型ロータリー圧縮機
5か月前
サンデン株式会社
スクロール式コンプレッサ
2か月前
サンデン株式会社
車両用熱マネジメントシステム
2か月前
サンデン株式会社
車両用熱マネジメントシステム
2か月前
サンデン株式会社
車両用熱マネジメントシステム
2か月前
サンデン株式会社
車両用熱マネジメントシステム
2か月前
サンデン株式会社
車両用熱マネジメントシステム
2か月前
サンデン株式会社
充電制御システム及び配車管理システム
1か月前
サンデン株式会社
電動圧縮機用モータ及びそれを備えた電動圧縮機
2か月前
続きを見る
他の特許を見る