TOP
|
特許
|
意匠
|
商標
特許ウォッチ
Twitter
他の特許を見る
公開番号
2025175458
公報種別
公開特許公報(A)
公開日
2025-12-03
出願番号
2024081591
出願日
2024-05-20
発明の名称
ヘリカルコンプレッサ
出願人
サンデン株式会社
代理人
個人
主分類
F04C
18/344 20060101AFI20251126BHJP(液体用容積形機械;液体または圧縮性流体用ポンプ)
要約
【課題】摺動部へのオイルの供給を円滑に行うことができるようにしたヘリカルコンプレッサを提供する。
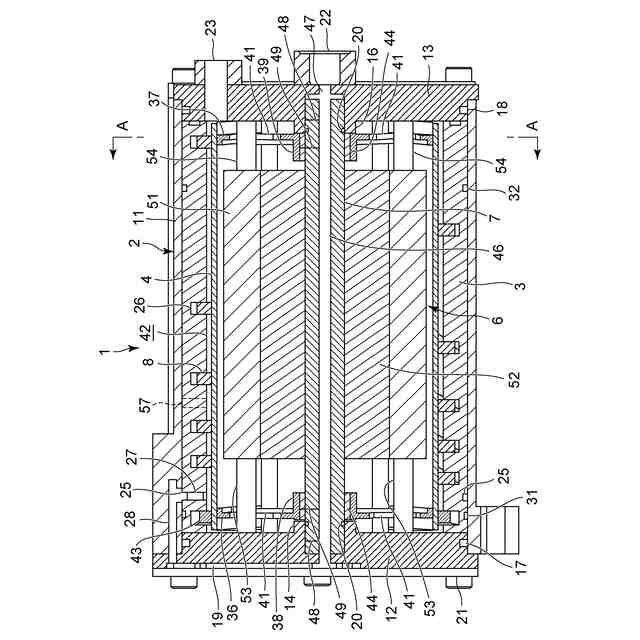
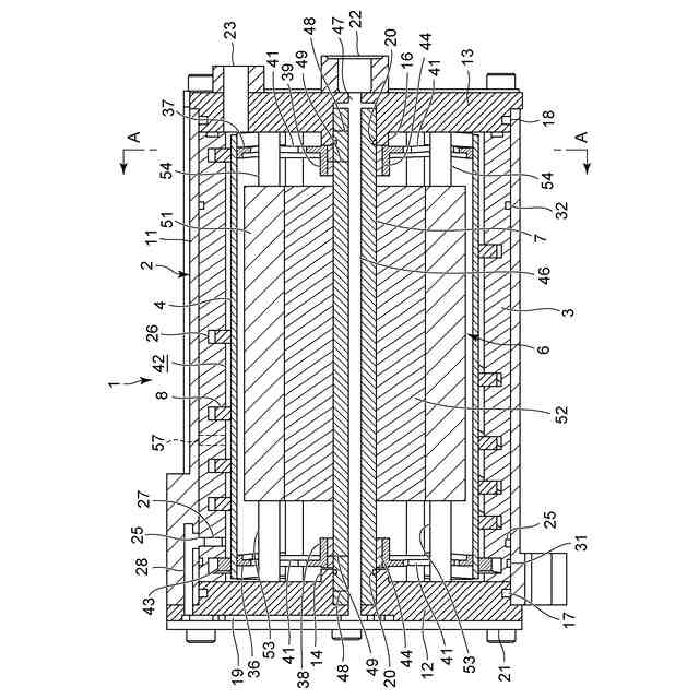
【解決手段】ヘリカルコンプレッサ1は、シリンダ3と、ローラ4と、シリンダ4とローラ4の間の圧縮室42を区画する螺旋状のブレード8を備え、圧縮室42の容積が、ローラ4の公転によってスラスト方向に進行しながら減少することで、圧縮室42で冷媒が圧縮される。シャフト7を介してローラ4を駆動するモータ6と、シャフト7をスラスト方向両端で軸支する軸受部38、39を有するケーシング側板12、13を備え、シャフト7には、圧縮室42にて圧縮された冷媒が通過する吐出ガス経路46と、吐出ガス経路46と軸受部38、39を連通する給油用オリフィス48が形成されている。
【選択図】図1
特許請求の範囲
【請求項1】
シリンダと、該シリンダの内側に配置され、当該シリンダに対して公転されるローラと、前記シリンダと前記ローラの間に構成される圧縮室を区画する螺旋状のブレードを備え、前記圧縮室の容積が、前記ローラの公転によって前記シリンダのスラスト方向に進行しながら減少することで、前記圧縮室に吸入された作動流体が圧縮されるヘリカルコンプレッサにおいて、
前記ローラ内を通過するシャフトを介して前記ローラを駆動するモータと、
前記シャフトのスラスト方向両端に位置して当該シャフトを軸支する軸受部を有する軸受部材を備え、
前記シャフトには、前記圧縮室にて圧縮された作動流体が通過する吐出ガス経路と、該吐出ガス経路と前記軸受部を連通する給油用オリフィスが形成されていることを特徴とするヘリカルコンプレッサ。
続きを表示(約 990 文字)
【請求項2】
前記ローラのスラスト方向両端に位置し、前記シャフトが貫通するローラホイールと、
前記シャフトに設けられ、前記ローラホイールに摺動自在に当接して前記ローラを公転させるカムリングを備え、
前記シャフトには、前記吐出ガス経路と前記カムリングの摺動部を連通する給油用オリフィスが形成されていることを特徴とする請求項1に記載のヘリカルコンプレッサ。
【請求項3】
前記シリンダ及び前記ローラを内部に密閉収容する外側ケーシングを備え、
該外側ケーシングは、スラスト方向両端に位置するケーシング側板を有し、各ケーシング側板は、前記シャフトの軸受部をそれぞれ有して前記軸受部材を構成することを特徴とする請求項1に記載のヘリカルコンプレッサ。
【請求項4】
前記ケーシング側板に形成され、前記シリンダ及び前記ローラ間の圧縮室と前記シャフトの吐出ガス経路とを連通するオイル分離用の吐出ガス経路を備えたことを特徴とする請求項3に記載のヘリカルコンプレッサ。
【請求項5】
前記オイル分離用の吐出ガス経路は、何れか一方の前記ケーシング側板に形成されると共に、
前記作動流体を前記シリンダ及び前記ローラ間の圧縮室に吸入する吸入ポートと、前記シャフトの吐出ガス経路から作動流体を吐出する吐出ポートは、他方の前記ケーシング側板に設けられていることを特徴とする請求項4に記載のヘリカルコンプレッサ。
【請求項6】
前記シリンダ及び前記ローラを内部に密閉収容する外側ケーシングと、
前記ローラのスラスト方向両端に位置し、前記シャフトが貫通するローラホイールを備え、
前記モータは前記ローラ内に設けられ、固定子と、前記シャフトに取り付けられて前記固定子の内側で回転する回転子を有し、
前記固定子を前記外側ケーシングに保持し、前記固定子に給電する固定脚が設けられ、
前記ローラホイールには、前記固定脚を通過させる通過部が形成されていることを特徴とする請求項1に記載のヘリカルコンプレッサ。
【請求項7】
前記ローラホイールの通過部と、該通過部を通過する前記固定脚により、前記ローラの自転防止機構が構成されることを特徴とする請求項6に記載のヘリカルコンプレッサ。
発明の詳細な説明
【技術分野】
【0001】
本発明は、シリンダと、このシリンダの内側で公転するローラとの間の圧縮室を螺旋状のブレードで区画することで作動流体を圧縮するヘリカルコンプレッサに関するものである。
続きを表示(約 1,500 文字)
【背景技術】
【0002】
従来よりヘリカルコンプレッサは、シリンダと、このシリンダの内側に設けられたローラと、シリンダとローラの間の圧縮室を区画するブレードを有しており、シリンダに対してローラを公転させ、それにより圧縮室の容積をシリンダのスラスト方向に進行しながら減少させることで、圧縮室に吸入された作動流体を圧縮する構造とされていた(例えば、特許文献1参照)。
【0003】
その場合、シリンダの内面に螺旋状溝を形成し、この螺旋状溝にブレードを出没可能に嵌め込むものや(例えば、特許文献2参照)、逆にローラの外面に螺旋状溝を形成して、ブレードを出没可能に嵌め込むものが開発されていた(例えば、特許文献3参照)。
【先行技術文献】
【特許文献】
【0004】
特許第6024487号公報
特開2003-28084号公報
特開2006-77745号公報
【発明の概要】
【発明が解決しようとする課題】
【0005】
しかしながら、係る従来の構成ではモータによりローラを駆動するためのシャフト軸受部やローラを公転させるカム等の摺動部への給油をどのように行うかが問題となっており、潤滑不良による動力ロスや焼き付きの解消を効果的に行える構造の開発が望まれていた。
【0006】
本発明は、係る従来の技術的課題を解決するために成されたものであり、摺動部へのオイルの供給を円滑に行うことができるようにしたヘリカルコンプレッサを提供することを目的とする。
【課題を解決するための手段】
【0007】
本発明のヘリカルコンプレッサは、シリンダと、このシリンダの内側に配置され、当該シリンダに対して公転されるローラと、シリンダとローラの間に構成される圧縮室を区画する螺旋状のブレードを備え、圧縮室の容積が、ローラの公転によってシリンダのスラスト方向に進行しながら減少することで、圧縮室に吸入された作動流体が圧縮されるものであって、ローラ内を通過するシャフトを介してローラを駆動するモータと、シャフトのスラスト方向両端に位置して当該シャフトを軸支する軸受部を有する軸受部材を備え、シャフトには、圧縮室にて圧縮された作動流体が通過する吐出ガス経路と、この吐出ガス経路と軸受部を連通する給油用オリフィスが形成されていることを特徴とする。
【0008】
請求項2の発明のヘリカルコンプレッサは、上記発明においてローラのスラスト方向両端に位置し、シャフトが貫通するローラホイールと、シャフトに設けられ、ローラホイールに摺動自在に当接してローラを公転させるカムリングを備え、シャフトには、吐出ガス経路とカムリングの摺動部を連通する給油用オリフィスが形成されていることを特徴とする。
【0009】
請求項3の発明のヘリカルコンプレッサは、請求項1の発明においてシリンダ及びローラを内部に密閉収容する外側ケーシングを備え、この外側ケーシングは、スラスト方向両端に位置するケーシング側板を有し、各ケーシング側板は、シャフトの軸受部をそれぞれ有して軸受部材を構成することを特徴とする。
【0010】
請求項4の発明のヘリカルコンプレッサは、上記発明においてケーシング側板に形成され、シリンダ及びローラ間の圧縮室とシャフトの吐出ガス経路とを連通するオイル分離用の吐出ガス経路を備えたことを特徴とする。
(【0011】以降は省略されています)
この特許をJ-PlatPat(特許庁公式サイト)で参照する
関連特許
サンデン株式会社
モータ
今日
サンデン株式会社
モータ
今日
サンデン株式会社
情報処理装置
1か月前
サンデン株式会社
電力変換装置
3か月前
サンデン株式会社
車両用空調装置
1日前
サンデン株式会社
車両用空調装置
6日前
サンデン株式会社
車両用空調装置
6日前
サンデン株式会社
車両用空調装置
6日前
サンデン株式会社
車両用空調装置
6日前
サンデン株式会社
車両用空調装置
6日前
サンデン株式会社
車両用空調装置
1日前
サンデン株式会社
インバータ装置
今日
サンデン株式会社
車両用空調装置
1日前
サンデン株式会社
可変容量型圧縮機
1か月前
サンデン株式会社
スクロール圧縮機
2か月前
サンデン株式会社
スクロール圧縮機
2か月前
サンデン株式会社
スクロール圧縮機
2か月前
サンデン株式会社
車両用熱管理装置
6日前
サンデン株式会社
車両用空気調和装置
1か月前
サンデン株式会社
車両用空気調和装置
1か月前
サンデン株式会社
車両用空気調和装置
1か月前
サンデン株式会社
ヘリカルコンプレッサ
1日前
サンデン株式会社
ヘリカルコンプレッサ
1日前
サンデン株式会社
ヘリカルコンプレッサ
1日前
サンデン株式会社
熱マネジメントシステム
1か月前
サンデン株式会社
スクロール式コンプレッサ
2か月前
サンデン株式会社
車両用熱マネジメントシステム
2か月前
サンデン株式会社
車両用熱マネジメントシステム
2か月前
サンデン株式会社
車両用熱マネジメントシステム
2か月前
サンデン株式会社
車両用熱マネジメントシステム
2か月前
サンデン株式会社
車両用熱マネジメントシステム
2か月前
サンデン株式会社
充電制御システム及び配車管理システム
1か月前
サンデン株式会社
電動圧縮機用モータ及びそれを備えた電動圧縮機
2か月前
個人
海流製造装置。
2か月前
株式会社スギノマシン
圧縮機
1か月前
株式会社ツインバード
送風装置
2か月前
続きを見る
他の特許を見る