TOP
|
特許
|
意匠
|
商標
特許ウォッチ
Twitter
他の特許を見る
10個以上の画像は省略されています。
公開番号
2025144863
公報種別
公開特許公報(A)
公開日
2025-10-03
出願番号
2024044757
出願日
2024-03-21
発明の名称
スクロール圧縮機
出願人
サンデン株式会社
代理人
個人
主分類
F04C
29/02 20060101AFI20250926BHJP(液体用容積形機械;液体または圧縮性流体用ポンプ)
要約
【課題】同一パッケージ、若しくは、寸法を縮小させながら、渦巻容積を増加させた場合にも、吐出脈動の低減を図り、若しくは、吐出脈動の増大を防止することができるスクロール圧縮機を提供する。
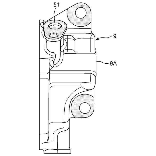
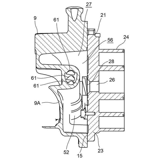
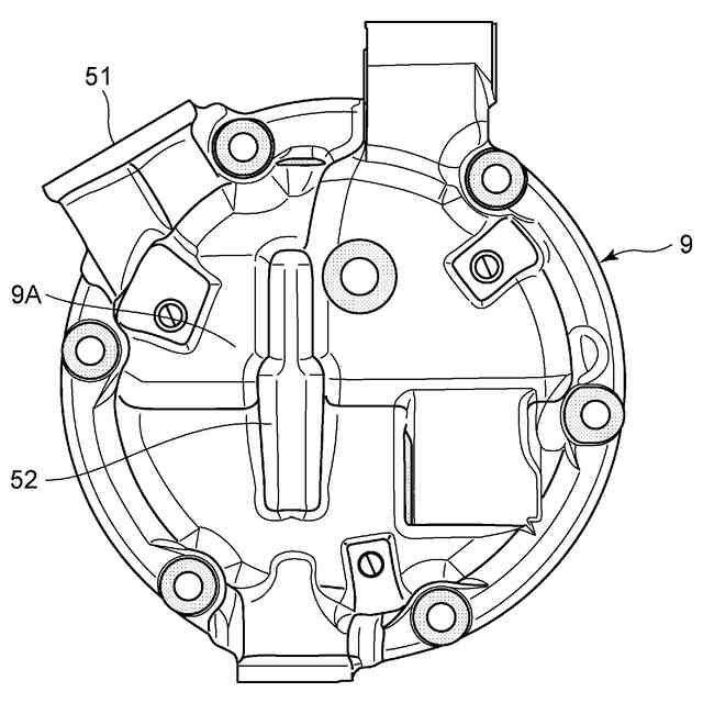
【解決手段】オイルセパレータ52は、冷媒が流入する入口孔61を有して、固定スクロールの吐出孔が対向するリアケーシング9の背壁9Aに構成され、入口孔61から流入した冷媒からオイルを遠心分離すると共に、入口孔61は、固定スクロールの吐出孔から離間する方向に指向するよう形成されている。
【選択図】図5
特許請求の範囲
【請求項1】
固定スクロールとリアケーシングとの間に吐出室が構成され、前記固定スクロールの吐出孔から前記吐出室に吐出された作動流体が、オイルセパレータを経て吐出ポートより前記リアケーシング外に吐出されるスクロール圧縮機において、
前記オイルセパレータは、前記作動流体が流入する入口孔を有して、前記固定スクロールの吐出孔が対向する前記リアケーシングの壁に構成され、前記入口孔から流入した作動流体からオイルを遠心分離すると共に、
前記入口孔は、前記固定スクロールの吐出孔から離間する方向に指向するよう形成されていることを特徴とするスクロール圧縮機。
続きを表示(約 620 文字)
【請求項2】
前記オイルセパレータは、前記固定スクロールの吐出孔に近接して設けられていることを特徴とする請求項1に記載のスクロール圧縮機。
【請求項3】
前記オイルセパレータは、前記吐出室内において前記リアケーシングの壁に上下方向に、且つ、前記吐出孔から見て一側方に偏位した位置に設けられ、
前記オイルセパレータの入口孔は、当該オイルセパレータの内面に接する接線方向に指向するように形成されていることを特徴とする請求項2に記載のスクロール圧縮機。
【請求項4】
前記吐出ポートは、前記リアケーシングの上部に設けられ、
前記吐出室は、第一チャンバと、第二チャンバから成り、該第二チャンバは、前記第一チャンバの上方にて前記吐出ポートに隣接する位置に画成されており、
前記オイルセパレータは、前記第一チャンバ内に設けられ、
前記固定スクロールの吐出孔から前記第一チャンバに吐出された前記作動流体が、前記オイルセパレータを経て前記第二チャンバに流入し、該第二チャンバを経て前記吐出ポートに至ることを特徴とする請求項1乃至請求項3のうちの何れかに記載のスクロール圧縮機。
【請求項5】
前記オイルセパレータを経ること無く前記第一チャンバと前記第二チャンバを連通するバイパス通路を備えたことを特徴とする請求項1乃至請求項3のうちの何れかに記載のスクロール圧縮機。
発明の詳細な説明
【技術分野】
【0001】
本発明は、固定スクロールから吐出室に吐出された作動流体が、オイルセパレータを経て吐出ポートより吐出されるスクロール圧縮機に関する。
続きを表示(約 1,400 文字)
【背景技術】
【0002】
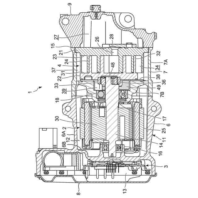
従来よりこの種スクロール圧縮機は、鏡板の表面に渦巻き状のラップを備えた固定スクロールと、鏡板の表面に渦巻き状のラップを備えた可動スクロールから成る圧縮機構を備え、各スクロールのラップを対向させてラップ間に圧縮室を形成し、固定スクロールに対して可動スクロールを公転旋回運動させることにより、圧縮室で作動流体(冷媒)を圧縮するように構成されている。
【0003】
そして、圧縮された作動流体は、固定スクロールの吐出孔から吐出室内に吐出され、オイルセパレータの入口孔から内部に流入し、当該オイルセパレータ内でオイルが遠心分離された後、吐出ポートから吐出される構成とされていた(例えば、特許文献1、特許文献2、特許文献3参照)。
【先行技術文献】
【特許文献】
【0004】
特開2020-20280号公報
特開2023-108766号公報
特開2020-153339号公報
【発明の概要】
【発明が解決しようとする課題】
【0005】
ここで、この種のスクロール圧縮機では騒音や振動の低減、配管耐久性の観点から、吐出される作動流体の脈動(吐出脈動)の低減が求められている。この吐出脈動をスクロール圧縮機内部で減衰させるには、特許文献1のように吐出経路に絞りを設けることが考えられるが、吐出圧損が増加する問題がある。
【0006】
また、特許文献2のように吐出室の容積を拡大したり、特許文献3のようにマフラ室を構成することで吐出脈動の低減が期待できるが、何れの場合もパッケージ(寸法)に余裕があることが必要であり、渦巻容積が大きく、且つ、小さいパッケージが要求される場合には、採用することが困難となる。
【0007】
本発明は、係る従来の技術的課題を解決するために成されたものであり、同一パッケージ、若しくは、寸法を縮小させながら、渦巻容積を増加させた場合にも、吐出脈動の低減を図り、若しくは、吐出脈動の増大を防止することができるスクロール圧縮機を提供することを目的とする。
【課題を解決するための手段】
【0008】
本発明のスクロール圧縮機は、固定スクロールとリアケーシングとの間に吐出室が構成され、固定スクロールの吐出孔から吐出室に吐出された作動流体が、オイルセパレータを経て吐出ポートよりリアケーシング外に吐出されるものであって、オイルセパレータは、作動流体が流入する入口孔を有して、固定スクロールの吐出孔が対向するリアケーシングの壁に構成され、入口孔から流入した作動流体からオイルを遠心分離すると共に、入口孔は、固定スクロールの吐出孔から離間する方向に指向するよう形成されていることを特徴とする。
【0009】
請求項2の発明のスクロール圧縮機は、上記発明においてオイルセパレータは、固定スクロールの吐出孔に近接して設けられていることを特徴とする。
【0010】
請求項3の発明のスクロール圧縮機は、上記発明においてオイルセパレータは、吐出室内においてリアケーシングの壁に上下方向に、且つ、吐出孔から見て一側方に偏位した位置に設けられ、オイルセパレータの入口孔は、当該オイルセパレータの内面に接する接線方向に指向するように形成されていることを特徴とする。
(【0011】以降は省略されています)
この特許をJ-PlatPat(特許庁公式サイト)で参照する
関連特許
サンデン株式会社
情報処理装置
11日前
サンデン株式会社
可変容量型圧縮機
11日前
サンデン株式会社
スクロール圧縮機
1か月前
サンデン株式会社
スクロール圧縮機
1か月前
サンデン株式会社
スクロール圧縮機
1か月前
サンデン株式会社
車両用空気調和装置
11日前
サンデン株式会社
車両用空気調和装置
11日前
サンデン株式会社
車両用空気調和装置
11日前
サンデン株式会社
熱マネジメントシステム
11日前
サンデン株式会社
スクロール式コンプレッサ
1か月前
サンデン株式会社
車両用熱マネジメントシステム
1か月前
サンデン株式会社
車両用熱マネジメントシステム
1か月前
サンデン株式会社
車両用熱マネジメントシステム
1か月前
サンデン株式会社
車両用熱マネジメントシステム
1か月前
サンデン株式会社
車両用熱マネジメントシステム
1か月前
サンデン株式会社
充電制御システム及び配車管理システム
11日前
サンデン株式会社
電動圧縮機用モータ及びそれを備えた電動圧縮機
1か月前
個人
海流製造装置。
1か月前
株式会社スギノマシン
圧縮機
1か月前
株式会社ツインバード
送風装置
1か月前
株式会社ツインバード
送風装置
1か月前
カヤバ株式会社
電動ポンプ
3日前
日機装株式会社
遠心ポンプ
24日前
カヤバ株式会社
電動ポンプ
3か月前
株式会社不二越
蓄圧装置
3か月前
ビッグボーン株式会社
送風装置
2か月前
株式会社ノーリツ
ロータリ圧縮機
2か月前
株式会社酉島製作所
ポンプ
4か月前
樫山工業株式会社
真空ポンプ
1か月前
サンデン株式会社
スクロール圧縮機
1か月前
サンデン株式会社
可変容量型圧縮機
11日前
株式会社ノーリツ
ロータリー圧縮機
4か月前
サンデン株式会社
スクロール圧縮機
1か月前
サンデン株式会社
スクロール圧縮機
1か月前
株式会社坂製作所
スクロール圧縮機
4か月前
株式会社不二越
ベーンポンプ
3か月前
続きを見る
他の特許を見る