TOP
|
特許
|
意匠
|
商標
特許ウォッチ
Twitter
他の特許を見る
公開番号
2025148043
公報種別
公開特許公報(A)
公開日
2025-10-07
出願番号
2024048616
出願日
2024-03-25
発明の名称
往復ポンプ
出願人
有限会社 宮脇工房
代理人
めぶき弁理士法人
主分類
F04B
39/00 20060101AFI20250930BHJP(液体用容積形機械;液体または圧縮性流体用ポンプ)
要約
【課題】従来の往復ポンプと比較してピストンの往復動の高速化により時間当たりの圧送量及び吸引量を向上させることができる往復ポンプを提供する。
【解決手段】筒状の形状からなるシリンダ10と、シリンダ10の内部を往復動可能なピストン20と、ピストン20に固定され外周がシリンダ10の内壁に接触しているピストンリング30とを備える往復ポンプ1。ピストンリング30は、少なくともシリンダ10の内壁に接触している部分が天然由来樹脂を用いた材料からなる。往復ポンプ1は、熱特性及び破断特性に優れる天然由来樹脂を用いることで、従来の往復ポンプと比較してピストンの往復動の高速化により時間当たりの圧送量及び吸引量を向上させることができる往復ポンプとなる。
【選択図】図1
特許請求の範囲
【請求項1】
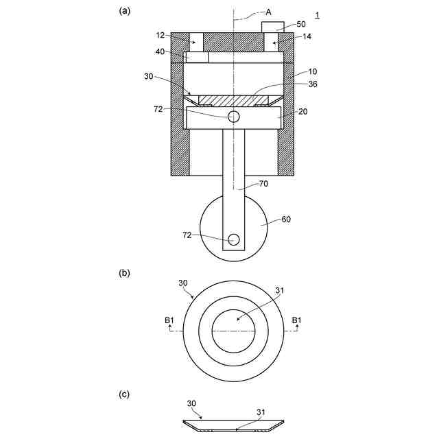
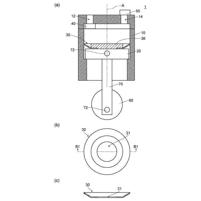
筒状の形状からなるシリンダと、前記シリンダの内部を往復動可能なピストンと、前記ピストンに固定され外周が前記シリンダの内壁に接触しているピストンリングとを備える往復ポンプであって、
前記ピストンリングは、少なくとも前記シリンダの前記内壁に接触している部分が天然由来樹脂を用いた材料からなることを特徴とする往復ポンプ。
続きを表示(約 580 文字)
【請求項2】
前記ピストンリングは、全体が前記天然由来樹脂を用いた材料からなることを特徴とする請求項1に記載の往復ポンプ。
【請求項3】
前記天然由来樹脂がカシュー系樹脂を主成分として含むことを特徴とする請求項1に記載の往復ポンプ。
【請求項4】
前記天然由来樹脂が漆系樹脂を主成分として含むことを特徴とする請求項1に記載の往復ポンプ。
【請求項5】
前記天然由来樹脂を用いた材料は、前記天然由来樹脂にシリコーン系材料を加えたものであることを特徴とする請求項1に記載の往復ポンプ。
【請求項6】
前記天然由来樹脂を用いた材料は、前記天然由来樹脂にカーボン粉末を加えたものであることを特徴とする請求項1に記載の往復ポンプ。
【請求項7】
前記天然由来樹脂を用いた材料は、マトリクス材として前記天然由来樹脂を用いた炭素繊維強化プラスチックであることを特徴とする請求項1に記載の往復ポンプ。
【請求項8】
前記マトリクス材は、前記天然由来樹脂にシリコーン系材料を加えた樹脂からなることを特徴とする請求項7に記載の往復ポンプ。
【請求項9】
前記マトリクス材は、前記天然由来樹脂にカーボン粉末を加えた樹脂からなることを特徴とする請求項7に記載の往復ポンプ。
発明の詳細な説明
【技術分野】
【0001】
本発明は、往復ポンプに関する。
続きを表示(約 1,900 文字)
【背景技術】
【0002】
従来、筒状の形状からなるシリンダと、シリンダの内部を往復動可能なピストンと、ピストンに固定され外周がシリンダの内壁に接触しているピストンリングとを備える往復ポンプが知られている(例えば、特許文献1参照。)。
【0003】
上記のような構成を有する往復ポンプ自体は以前から広く知られているが、近年における技術の進展により往復ポンプ及びその付帯装置の小型化及び高性能化が進み、一層多様な分野で用いられるようになってきている。例えば、圧縮装置としての往復ポンプは、タイヤ用空気入れ、空気スプレー、酸素濃縮器、人工呼吸器、車載用コンプレッサー、電気自動車(EV)の熱マネジメントシステム(特に、空調、バッテリー、駆動制御回路等に関連する、熱交換技術による温度制御に関するもの)等の一部として、又は、これらに接続して用いられている。
【先行技術文献】
【特許文献】
【0004】
特開2001-280250号公報
【発明の概要】
【発明が解決しようとする課題】
【0005】
ところで、往復ポンプの高性能化へのアプローチとして、ピストンの往復動を高速化することで時間当たりの圧送量又は吸引量を増加させることが考えられる。しかしながら、ピストンの往復動を単純に高速化すると、摩擦熱及び圧縮熱の増加によりピストンリングが大きく(場合によっては不可逆的に)変形し、シリンダ内の気密を保持できなくなってしまう場合がある。このため、従来の往復ポンプにおいてはピストンの往復動の高速化に制約があり、時間当たりの圧送量及び吸引量(ひいては得られる圧力)の向上が困難であった。
【0006】
そこで、本発明は上記課題に鑑みてなされたものであり、従来の往復ポンプと比較してピストンの往復動の高速化により時間当たりの圧送量及び吸引量を向上させることができる往復ポンプを提供することを目的とする。
【課題を解決するための手段】
【0007】
ところで、一般的な往復ポンプにおいては、コストや入手性等の観点から、主に石油系又はケイ素系の合成樹脂や合成ゴムからなるピストンリングが用いられている。一方、樹脂としては、合成樹脂の他にカシュー系樹脂や漆系樹脂のような天然由来樹脂が知られている。しかし、天然由来樹脂は、主に塗料の成分として工芸品の分野で用いられ、性質(例えば、アレルギーや硬化時間等)の問題や入手性の問題等により、往復ポンプのような工業的に大量生産される製品における部材の材料としてはほとんど検討されてこなかった。
【0008】
ここで、天然由来樹脂についてさらに詳しく説明する。よく知られている天然由来樹脂である漆系樹脂は、主に漆工芸における塗料の成分として用いられている。漆工芸は、天然樹脂である漆を含む塗料を、刷毛を用いて木材に塗り重ねて製品を製造する技術価値を重視する文化である。実用的な観点からは、漆を含む塗料を木材に塗布する目的は、木材の欠点を補うために撥水性や耐久性を得ることである。工業製品の分野では、技術の進展により利用できるようになった新材料、特に、木材よりも撥水性や耐久性に優れ、安く加工性の良い石油系合成樹脂が持てはやされ、木材を用いた製品は衰退していると言える。これに伴い、漆工芸は技術価値までもが衰退している状況である。
【0009】
また、漆を含む塗料を工業製品の製造に使用しようとする場合、生産効率等の観点から塗布方法として手塗りを選択することは現実的ではない。工業製品の分野における塗布方法としてはスプレーガン等を用いた噴霧塗布が一般的であるが、漆を含む塗料を噴霧塗布する場合には、漆のアレルギー性による作業者規制の問題が発生する。また、漆を含む塗料には、乾燥・硬化条件の調整(酵素酸化による硬化のためには温度及び温度管理が必要)、乾燥・硬化時間の長さ(基本的には自然乾燥)といった問題もある。このため、材料及び製造方法のハンドリングやコストを重視する工業製品の分野において、漆系樹脂は受け入れられてこなかった。
【0010】
また、天然由来樹脂としてカシュー系樹脂も存在するが、もともとカシュー系樹脂は漆系樹脂の生産性等に関する課題(例えば、植林減退、作業者不足、価格高騰)を鑑み、これを置き換えるために開発されたものである。このため、カシュー系樹脂は漆系樹脂の代用品として主に工芸品の分野で使用されるに留まり、やはり工業製品の分野においては受け入れられてこなかった。
(【0011】以降は省略されています)
この特許をJ-PlatPat(特許庁公式サイト)で参照する
関連特許
有限会社 宮脇工房
往復ポンプ
1か月前
有限会社 宮脇工房
モーター挙動音発生装置
29日前
有限会社 宮脇工房
電気機械装置及び繊維強化プラスチック部材の製造方法
2か月前
有限会社 宮脇工房
被試験モーターの特性を試験する方法、特性試験装置、及び、コンピュータープログラム
1か月前
有限会社 宮脇工房
被試験モーターの特性を試験する方法、特性試験装置、及び、コンピュータープログラム
1か月前
有限会社 宮脇工房
被試験モーターの特性を試験する方法、特性試験装置、及び、コンピュータープログラム
1か月前
有限会社 宮脇工房
被試験モーターの特性を試験する方法、特性試験装置、及び、コンピュータープログラム
4か月前
有限会社 宮脇工房
極異方性磁石の製造方法、磁石集合体の製造方法、極異方性磁石、磁石集合体及び複合磁石集合体
13日前
個人
海流製造装置。
2か月前
株式会社スギノマシン
圧縮機
1か月前
株式会社ツインバード
送風装置
2か月前
株式会社ツインバード
送風装置
2か月前
カヤバ株式会社
電動ポンプ
20日前
カヤバ株式会社
電動ポンプ
3か月前
日機装株式会社
遠心ポンプ
1か月前
株式会社不二越
蓄圧装置
3か月前
ビッグボーン株式会社
送風装置
3か月前
株式会社ノーリツ
ロータリ圧縮機
2か月前
小倉クラッチ株式会社
ルーツブロア
4か月前
株式会社不二越
ベーンポンプ
4か月前
サンデン株式会社
スクロール圧縮機
1か月前
サンデン株式会社
スクロール圧縮機
1か月前
サンデン株式会社
スクロール圧縮機
1か月前
樫山工業株式会社
真空ポンプ
1か月前
サンデン株式会社
可変容量型圧縮機
28日前
株式会社チロル
送風機、送風機付衣服
3か月前
株式会社島津製作所
真空ポンプ
3か月前
株式会社豊田自動織機
流体機械
2か月前
株式会社島津製作所
真空ポンプ
2か月前
株式会社クボタ
作業機
21日前
エドワーズ株式会社
真空ポンプ
2か月前
株式会社アイシン
ポンプケース
2か月前
株式会社ナノバブル研究所
気液駆動装置
2か月前
株式会社豊田自動織機
電動圧縮機
3か月前
株式会社豊田自動織機
電動圧縮機
4か月前
株式会社豊田自動織機
電動圧縮機
2か月前
続きを見る
他の特許を見る