TOP
|
特許
|
意匠
|
商標
特許ウォッチ
Twitter
他の特許を見る
公開番号
2025124211
公報種別
公開特許公報(A)
公開日
2025-08-26
出願番号
2024020106
出願日
2024-02-14
発明の名称
送風機、送風機付衣服
出願人
株式会社チロル
代理人
個人
主分類
F04D
29/52 20060101AFI20250819BHJP(液体用容積形機械;液体または圧縮性流体用ポンプ)
要約
【課題】本発明は、吸気能が向上された新規な送風機、及び前記送風機を備えた送風機付衣服を提供することを目的とする。
【解決手段】 モータ2と、前記モータ2の回転軸に連結された羽根車3と、前記モータ2及び前記羽根車3の周囲を囲う外殻4と、を具備してなり、衣服本体(W)に取り付けられて前記衣服本体(W)内に外気を送り込むための送風機1において、前記外殻4に設けられた吸気口41に、前記吸気口41の内径を開口端に向かって拡大する面取り部45を設ける。
【選択図】図1
特許請求の範囲
【請求項1】
モータと、前記モータの回転軸に連結された羽根車と、前記モータ及び前記羽根車の周囲を囲う外殻と、を具備してなり、衣服本体に取り付けられて前記衣服本体内に外気を送り込むための送風機であって、
前記外殻に設けられた吸気口に、前記吸気口の内径を開口端に向かって拡大する面取り部が設けられてなることを特徴とする送風機。
続きを表示(約 330 文字)
【請求項2】
請求項1に記載の送風機において、
前記面取り部の表面が、前記吸気口内方に向かって凸の曲面状となされた送風機。
【請求項3】
請求項1に記載の送風機において、
前記面取り部によって前記吸気口の内径が1%以上拡大されてなる送風機。
【請求項4】
請求項1に記載の送風機において、
前記吸気口の開口端周縁にフランジが設けられてなり、
前記フランジの端面の複数個所に、外周縁側から内方に向かう凹溝が配されてなる送風機。
【請求項5】
請求項1ないし4のいずれか1項に記載の送風機と、
衣服本体と、
を具備してなることを特徴とする送風機付衣服。
発明の詳細な説明
【技術分野】
【0001】
本発明は衣服本体に取り付けられて前記衣服本体内に外気を送り込むための送風機、及び、前記送風機を備えた送風機付衣服に関する。
続きを表示(約 1,200 文字)
【背景技術】
【0002】
高温環境下の作業現場や夏季レジャー等における熱中症等の発生を緩和すべく、衣服(以下、「衣服本体」と称する。)内に外気を供給することによって前記衣服本体内を冷却する「送風機付衣服(冷却衣服)」が実用化されている(例えば、下記特許文献1参照。)。
【先行技術文献】
【特許文献】
【0003】
特開2019‐214948号公報
登録実用新案第3228173号公報
【発明の概要】
【発明が解決しようとする課題】
【0004】
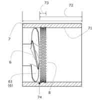
この種の送風機付衣服は、衣服本体の適宜箇所に開けられた穴に送風機を装着し、前記送風機を介して衣服本体内に外気を送り込む仕組みとなされている。そして、前記送風機としては、複数枚の羽根を有する羽根車(ファン)をモータ駆動によって回転させるものが一般的である。
【0005】
一般的な送風機は前記羽根車(及びモータ)が外殻に覆われた構造となされており、前記外殻には衣服本体外側に配される吸気口と衣服本体内側に配される排気口とが設けられている。なお使用上の安全を考慮して、前記吸気口及び前記排気口はメッシュ状、網状、或いは格子状などの開き目を有するガードにて覆われている。
【0006】
最近では前記送風機付衣服の冷却能を向上するために、前記送風機におけるモータ出力を向上することによって前記羽根車の単位時間当たりの回転数を増加し、もって前記送風機の吸気能を増加する手段が採られる傾向がある。
【0007】
しかしながら、前記送風機におけるモータ出力を向上するとその分消費電力が増加する。消費電力の増加に対応して蓄電量の多い大型のバッテリーを用いれば、送風機付衣服の高重量化やコスト増につながる。
【0008】
本発明は前記技術的課題に鑑みて開発されたものであり、吸気能が向上された新規な送風機、及び前記送風機を備えた送風機付衣服を提供することを目的とする。
【課題を解決するための手段】
【0009】
前記技術的課題を解決する本発明の送風機は、モータと、前記モータの回転軸に連結された羽根車と、前記モータ及び前記羽根車の周囲を囲う外殻と、を具備してなり、衣服本体に取り付けられて前記衣服本体内に外気を送り込むための送風機であって、前記外殻に設けられた吸気口に、前記吸気口の内径を開口端に向かって拡大する面取り部が設けられてなることを特徴とする(以下、「本発明送風機」と称する。)。
【0010】
前記本発明送風機においては、前記面取り部の表面が、前記吸気口の内方に向かって凸の曲面状となされたものが好ましい態様となる。
(【0011】以降は省略されています)
この特許をJ-PlatPat(特許庁公式サイト)で参照する
関連特許
株式会社チロル
送風機、送風機付衣服
2か月前
個人
海流製造装置。
1か月前
株式会社スギノマシン
圧縮機
1か月前
株式会社ツインバード
送風装置
1か月前
株式会社ツインバード
送風装置
1か月前
日機装株式会社
遠心ポンプ
23日前
カヤバ株式会社
電動ポンプ
3か月前
カヤバ株式会社
電動ポンプ
2日前
株式会社不二越
蓄圧装置
3か月前
ビッグボーン株式会社
送風装置
2か月前
株式会社ノーリツ
ロータリ圧縮機
2か月前
株式会社坂製作所
スクロール圧縮機
4か月前
サンデン株式会社
スクロール圧縮機
1か月前
サンデン株式会社
スクロール圧縮機
1か月前
サンデン株式会社
スクロール圧縮機
1か月前
小倉クラッチ株式会社
ルーツブロア
3か月前
株式会社ノーリツ
ロータリー圧縮機
4か月前
株式会社不二越
ベーンポンプ
3か月前
サンデン株式会社
可変容量型圧縮機
10日前
樫山工業株式会社
真空ポンプ
1か月前
株式会社チロル
送風機、送風機付衣服
2か月前
エドワーズ株式会社
真空ポンプ
1か月前
株式会社島津製作所
真空ポンプ
1か月前
株式会社クボタ
作業機
3日前
株式会社アイシン
ポンプケース
1か月前
株式会社豊田自動織機
流体機械
2か月前
株式会社島津製作所
真空ポンプ
2か月前
已久工業股ふん有限公司
空気圧縮機構造
3か月前
NTN株式会社
電動オイルポンプ
1か月前
株式会社豊田自動織機
電動圧縮機
3か月前
株式会社豊田自動織機
電動圧縮機
3か月前
株式会社ナノバブル研究所
気液駆動装置
1か月前
株式会社豊田自動織機
電動圧縮機
4か月前
株式会社豊田自動織機
電動圧縮機
2か月前
株式会社豊田自動織機
電動圧縮機
2か月前
株式会社豊田自動織機
電動圧縮機
2か月前
続きを見る
他の特許を見る