TOP
|
特許
|
意匠
|
商標
特許ウォッチ
Twitter
他の特許を見る
公開番号
2025114197
公報種別
公開特許公報(A)
公開日
2025-08-05
出願番号
2024008725
出願日
2024-01-24
発明の名称
電動圧縮機
出願人
株式会社豊田自動織機
代理人
個人
,
個人
主分類
F04B
39/00 20060101AFI20250729BHJP(液体用容積形機械;液体または圧縮性流体用ポンプ)
要約
【課題】高圧ハーネス及び低圧ハーネスを、ブラケットを介してハウジングに安定的に支持すること。
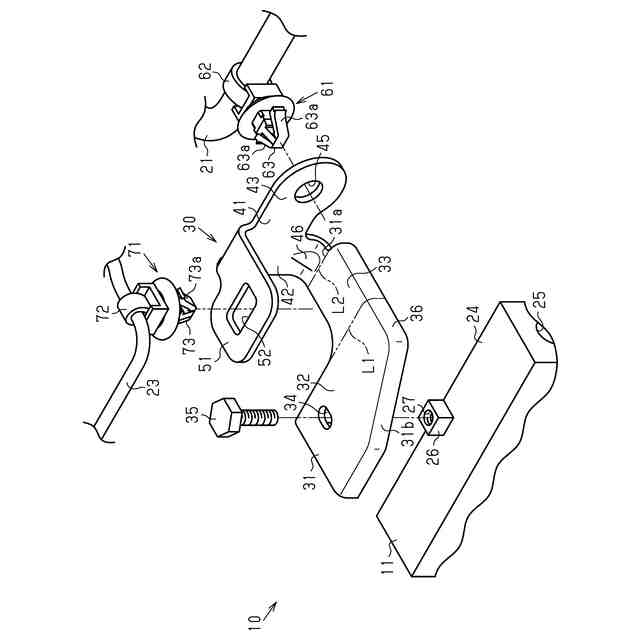
【解決手段】第1取付板部41は、固定板部31の第1端31aから折り曲げられてハウジング11から離間するように延在している。第2取付板部51は、第1取付板部41から折り曲げられて固定板部31の第2端31bに近付くように延在している。したがって、固定板部31及び第1取付板部41によって、第2取付板部51の強度が確保され易くなっている。固定板部31及び第2取付板部51は、第1取付板部41から折り曲げられているため、固定板部31及び第2取付板部51が第1取付板部41に対するリブとしての機能を発揮する。
【選択図】図4
特許請求の範囲
【請求項1】
流体を圧縮する圧縮部と、
前記圧縮部を駆動するモータと、
前記モータを駆動するインバータと、
前記圧縮部、前記モータ、及び前記インバータを収容するハウジングと、
前記ハウジングに設けられるとともに前記インバータに電気的に接続されている高圧コネクタと、
前記ハウジングに設けられるとともに前記インバータに電気的に接続されている低圧コネクタと、
前記ハウジングに固定されるブラケットと、を備え、
前記高圧コネクタに接続される高圧ハーネス、及び前記低圧コネクタに接続される低圧ハーネスが、前記ブラケットを介して前記ハウジングに支持されている電動圧縮機であって、
前記ブラケットは、
前記ハウジングに固定される固定板部と、
前記高圧ハーネスが取り付けられる第1取付板部と、
前記低圧ハーネスが取り付けられる第2取付板部と、を有し、
前記第1取付板部は、前記固定板部の第1端から折り曲げられて前記ハウジングから離間するように延在し、
前記第2取付板部は、前記第1取付板部から折り曲げられて前記固定板部の第2端に近付くように延在していることを特徴とする電動圧縮機。
続きを表示(約 890 文字)
【請求項2】
前記第1取付板部は、前記高圧ハーネスを保持する第1保持クリップを係止可能に構成された第1係止孔を有し、
前記第2取付板部は、前記低圧ハーネスを保持する第2保持クリップを係止可能に構成された第2係止孔を有し、
前記第1係止孔は、前記高圧ハーネスが前記第1取付板部における前記固定板部とは反対側に位置する面に配置されるように前記第1保持クリップを係止し、
前記第2係止孔は、前記低圧ハーネスが前記第2取付板部における前記固定板部とは反対側に位置する面に配置されるように前記第2保持クリップを係止することを特徴とする請求項1に記載の電動圧縮機。
【請求項3】
前記第1取付板部は、
前記固定板部と前記第2取付板部とを接続するとともに前記高圧コネクタと対向する位置に配置される接続部と、
前記接続部から前記固定板部及び前記第2取付板部それぞれに対して離間する方向へ延びるとともに前記第1係止孔が形成されている延在部と、を有し、
前記第1係止孔は、前記高圧ハーネスが前記高圧コネクタから前記接続部に向かって延在するとともに前記延在部に沿って延在するように屈曲した状態で前記第1取付板部に対して配置されるように前記第1保持クリップを係止することを特徴とする請求項2に記載の電動圧縮機。
【請求項4】
前記ブラケットは、前記固定板部の側部を折り曲げることにより形成される固定板部リブを有していることを特徴とする請求項1~請求項3のいずれか一項に記載の電動圧縮機。
【請求項5】
前記ブラケットは、前記第1取付板部の側部を折り曲げることにより形成される第1取付板部リブを有していることを特徴とする請求項1~請求項3のいずれか一項に記載の電動圧縮機。
【請求項6】
前記ブラケットは、前記第1取付板部における前記固定板部に対する屈曲部分の一部を凹ませることにより形成される補強リブを有していることを特徴とする請求項1~請求項3のいずれか一項に記載の電動圧縮機。
発明の詳細な説明
【技術分野】
【0001】
本発明は、電動圧縮機に関する。
続きを表示(約 2,400 文字)
【背景技術】
【0002】
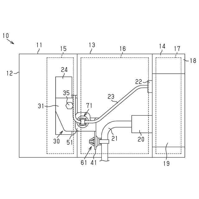
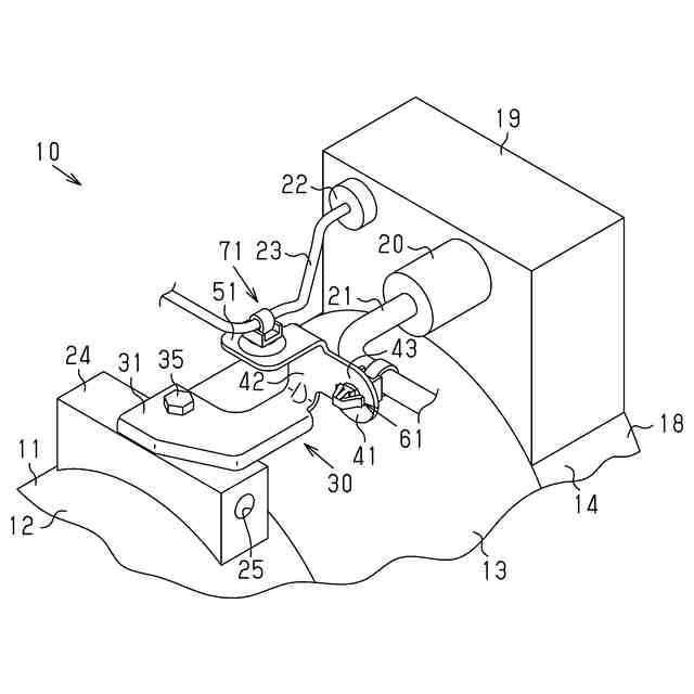
電動圧縮機は、圧縮部と、モータと、インバータと、ハウジングと、を備えている。圧縮部は、流体を圧縮する。モータは、圧縮部を駆動する。インバータは、モータを駆動する。ハウジングは、圧縮部、モータ、及びインバータを収容する。電動圧縮機は、高圧コネクタと、低圧コネクタと、を備えている。高圧コネクタは、ハウジングに設けられている。高圧コネクタは、インバータに電気的に接続されている。低圧コネクタは、ハウジングに設けられている。低圧コネクタは、インバータに電気的に接続されている。また、例えば特許文献1のように、電動圧縮機は、ブラケットを備えている。ブラケットは、ハウジングに固定されている。そして、高圧コネクタに接続される高圧ハーネス、及び低圧コネクタに接続される低圧ハーネスが、ブラケットを介してハウジングに支持されている。
【先行技術文献】
【特許文献】
【0003】
特開2022-150994号公報
【発明の概要】
【発明が解決しようとする課題】
【0004】
ところで、このような電動圧縮機においては、高圧ハーネス及び低圧ハーネスを、ブラケットを介してハウジングに安定的に支持することが望まれている。
【課題を解決するための手段】
【0005】
上記課題を解決する電動圧縮機は、流体を圧縮する圧縮部と、前記圧縮部を駆動するモータと、前記モータを駆動するインバータと、前記圧縮部、前記モータ、及び前記インバータを収容するハウジングと、前記ハウジングに設けられるとともに前記インバータに電気的に接続されている高圧コネクタと、前記ハウジングに設けられるとともに前記インバータに電気的に接続されている低圧コネクタと、前記ハウジングに固定されるブラケットと、を備え、前記高圧コネクタに接続される高圧ハーネス、及び前記低圧コネクタに接続される低圧ハーネスが、前記ブラケットを介して前記ハウジングに支持されている電動圧縮機であって、前記ブラケットは、前記ハウジングに固定される固定板部と、前記高圧ハーネスが取り付けられる第1取付板部と、前記低圧ハーネスが取り付けられる第2取付板部と、を有し、前記第1取付板部は、前記固定板部の第1端から折り曲げられて前記ハウジングから離間するように延在し、前記第2取付板部は、前記第1取付板部から折り曲げられて前記固定板部の第2端に近付くように延在している。
【0006】
これによれば、固定板部及び第1取付板部によって、第2取付板部の強度が確保され易くなっている。したがって、低圧ハーネスをブラケットを介してハウジングに安定的に支持することができる。また、固定板部及び第2取付板部は、第1取付板部から折り曲げられているため、固定板部及び第2取付板部が第1取付板部に対するリブとしての機能を発揮する。その結果、第1取付板部の強度が確保され易くなっている。したがって、低圧ハーネスに比べて重量が大きい高圧ハーネスをブラケットを介してハウジングに安定的に支持することができる。以上により、高圧ハーネス及び低圧ハーネスを、ブラケットを介してハウジングに安定的に支持することができる。
【0007】
上記電動圧縮機において、前記第1取付板部は、前記高圧ハーネスを保持する第1保持クリップを係止可能に構成された第1係止孔を有し、前記第2取付板部は、前記低圧ハーネスを保持する第2保持クリップを係止可能に構成された第2係止孔を有し、前記第1係止孔は、前記高圧ハーネスが前記第1取付板部における前記固定板部とは反対側に位置する面に配置されるように前記第1保持クリップを係止し、前記第2係止孔は、前記低圧ハーネスが前記第2取付板部における前記固定板部とは反対側に位置する面に配置されるように前記第2保持クリップを係止するとよい。
【0008】
これによれば、第1係止孔が第1保持クリップを係止するだけで、高圧ハーネスを第1取付板部に取り付けることができるとともに、第2係止孔が第2保持クリップを係止するだけで、低圧ハーネスを第2取付板部に取り付けることができる。そして、高圧ハーネスが第1取付板部における固定板部とは反対側に位置する面に配置されるとともに、低圧ハーネスが第2取付板部における固定板部とは反対側に位置する面に配置されている。したがって、高圧ハーネス及び低圧ハーネスが干渉すること無く、高圧ハーネス及び低圧ハーネスを、ブラケットを介してハウジングに安定的に支持することができる。
【0009】
上記電動圧縮機において、前記第1取付板部は、前記固定板部と前記第2取付板部とを接続するとともに前記高圧コネクタと対向する位置に配置される接続部と、前記接続部から前記固定板部及び前記第2取付板部それぞれに対して離間する方向へ延びるとともに前記第1係止孔が形成されている延在部と、を有し、前記第1係止孔は、前記高圧ハーネスが前記高圧コネクタから前記接続部に向かって延在するとともに前記延在部に沿って延在するように屈曲した状態で前記第1取付板部に対して配置されるように前記第1保持クリップを係止するとよい。
【0010】
これによれば、例えば、第1係止孔が接続部に形成されている場合に比べると、高圧コネクタと第1係止孔との間の距離を長くすることができる。したがって、高圧ハーネスを、高圧コネクタから接続部に向かって延在させるとともに延在部に沿って延在するように屈曲した状態で第1取付板部に対して配置させ、第1保持クリップを第1係止孔に係止させ易くなる。よって、高圧ハーネスの取り回しを良好なものとすることができる。
(【0011】以降は省略されています)
この特許をJ-PlatPat(特許庁公式サイト)で参照する
関連特許
株式会社豊田自動織機
荷役装置
1か月前
株式会社豊田自動織機
内燃機関
12日前
株式会社豊田自動織機
トランス
13日前
株式会社豊田自動織機
電源装置
13日前
株式会社豊田自動織機
トランス
1か月前
株式会社豊田自動織機
制御装置
12日前
株式会社豊田自動織機
産業車両
28日前
株式会社豊田自動織機
蓄電装置
12日前
株式会社豊田自動織機
操作装置
1か月前
株式会社豊田自動織機
産業車両
1か月前
株式会社豊田自動織機
電力変換器
1か月前
株式会社豊田自動織機
双方向充電器
1か月前
株式会社豊田自動織機
排気浄化装置
1か月前
株式会社豊田自動織機
電力変換装置
1か月前
株式会社豊田自動織機
双方向充電器
27日前
株式会社豊田自動織機
車両制御装置
1か月前
株式会社豊田自動織機
燃料電池ユニット
1か月前
株式会社豊田自動織機
ターボチャージャ
1か月前
株式会社豊田自動織機
ターボチャージャ
20日前
株式会社豊田自動織機
電力供給システム
25日前
株式会社豊田自動織機
燃料電池システム
6日前
株式会社豊田自動織機
電磁ブレーキ装置
1か月前
株式会社豊田自動織機
内燃機関の制御装置
26日前
株式会社豊田自動織機
エンジン式産業車両
1か月前
株式会社豊田自動織機
織機用異常検知装置
1か月前
株式会社豊田自動織機
スクロール型圧縮機
1か月前
株式会社豊田自動織機
ディーゼルエンジン
4日前
株式会社豊田自動織機
ねじりコイルばね装置
1か月前
株式会社豊田自動織機
車両のルーフサイド構造
1か月前
株式会社豊田自動織機
スクロール型電動圧縮機
1か月前
株式会社豊田自動織機
インバータ一体型電動機
1か月前
株式会社豊田自動織機
繊維機械の検査システム
1か月前
株式会社豊田自動織機
内燃機関の制御システム
1か月前
トヨタ自動車株式会社
蓄電池
26日前
株式会社豊田自動織機
車両用熱マネジメントシステム
12日前
株式会社豊田自動織機
産業車両及び産業車両の冷却装置
1か月前
続きを見る
他の特許を見る