TOP
|
特許
|
意匠
|
商標
特許ウォッチ
Twitter
他の特許を見る
10個以上の画像は省略されています。
公開番号
2025144837
公報種別
公開特許公報(A)
公開日
2025-10-03
出願番号
2024044713
出願日
2024-03-21
発明の名称
スクロール圧縮機
出願人
サンデン株式会社
代理人
個人
主分類
F04C
29/12 20060101AFI20250926BHJP(液体用容積形機械;液体または圧縮性流体用ポンプ)
要約
【課題】加工工程を増やすこと無く、吐出圧損を低減することができるスクロール圧縮機を提供する。
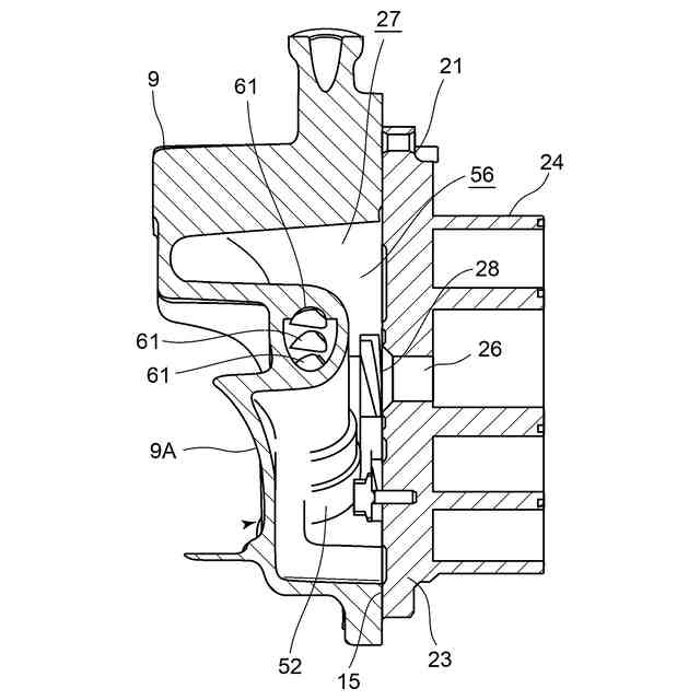
【解決手段】吐出室27は、第一チャンバ56と、第二チャンバ57から成り、第二チャンバ57は、リアケーシング9に一体に形成された隔壁53により第一チャンバ56と区画されており、固定スクロールの吐出孔から第一チャンバ56に吐出された冷媒が、オイルセパレータ52を経て第二チャンバ57に流入し、第二チャンバ57を経て吐出ポート51に至る。オイルセパレータ52を経ること無く第一チャンバ56と第二チャンバ57を連通するバイパス通路59を構成する。
【選択図】図5
特許請求の範囲
【請求項1】
固定スクロールとリアケーシングとの間に吐出室が構成され、前記固定スクロールの吐出孔から前記吐出室に吐出された作動流体が、オイルセパレータを経て吐出ポートより前記リアケーシング外に吐出されるスクロール圧縮機において、
前記吐出室は、第一チャンバと、第二チャンバから成り、該第二チャンバは、前記リアケーシングに一体に形成された隔壁により前記第一チャンバと区画されており、
前記固定スクロールの吐出孔から前記第一チャンバに吐出された前記作動流体が、前記オイルセパレータを経て前記第二チャンバに流入し、該第二チャンバを経て前記吐出ポートに至ると共に、
前記オイルセパレータを経ること無く前記第一チャンバと前記第二チャンバを連通するバイパス通路を構成したことを特徴とするスクロール圧縮機。
続きを表示(約 1,000 文字)
【請求項2】
前記隔壁に溝が形成され、該溝が前記バイパス通路を構成することを特徴とする請求項1に記載のスクロール圧縮機。
【請求項3】
前記隔壁の端面は、前記リアケーシングの開口縁の端面と同一平面に位置しており、前記溝は、前記隔壁の端面に凹陥形成されていることを特徴とする請求項2に記載のスクロール圧縮機。
【請求項4】
前記隔壁に貫通穴が形成され、該貫通穴が前記バイパス通路を構成することを特徴とする請求項1に記載のスクロール圧縮機。
【請求項5】
前記リアケーシングと前記固定スクロールとの接合部に介設されたシール用のガスケットを備え、
該ガスケットは、前記隔壁の端面と前記固定スクロール間をシールする隔壁シール部を有し、該隔壁シール部の一部に溝が形成され、該溝が前記バイパス通路を構成することを特徴とする請求項1に記載のスクロール圧縮機。
【請求項6】
前記第二チャンバは、前記リアケーシング内において前記固定スクロールの吐出孔より上方に画成されていることを特徴とする請求項1乃至請求項5のうちの何れかに記載のスクロール圧縮機。
【請求項7】
前記第二チャンバは、前記リアケーシング内において円周方向に形成されていることを特徴とする請求項6に記載のスクロール圧縮機。
【請求項8】
前記第二チャンバは、前記リアケーシング内において円環状に形成されていることを特徴とする請求項7に記載のスクロール圧縮機。
【請求項9】
前記リアケーシングと前記固定スクロールとの接合部に介設されたシール用のガスケットを備え、
該ガスケットは、前記隔壁の端面と前記固定スクロール間をシールする隔壁シール部を有し、該隔壁シール部は、前記隔壁よりも少なくとも円周方向に広い領域に対応する寸法で構成されていることを特徴とする請求項6に記載のスクロール圧縮機。
【請求項10】
前記オイルセパレータは、前記作動流体が流入する入口孔を有して、前記固定スクロールの吐出孔が対向する前記リアケーシングの壁に構成されており、
前記オイルセパレータの入口孔は、前記固定スクロールの吐出孔から離間する方向に指向するよう形成されていることを特徴とする請求項1乃至請求項5のうちの何れかに記載のスクロール圧縮機。
発明の詳細な説明
【技術分野】
【0001】
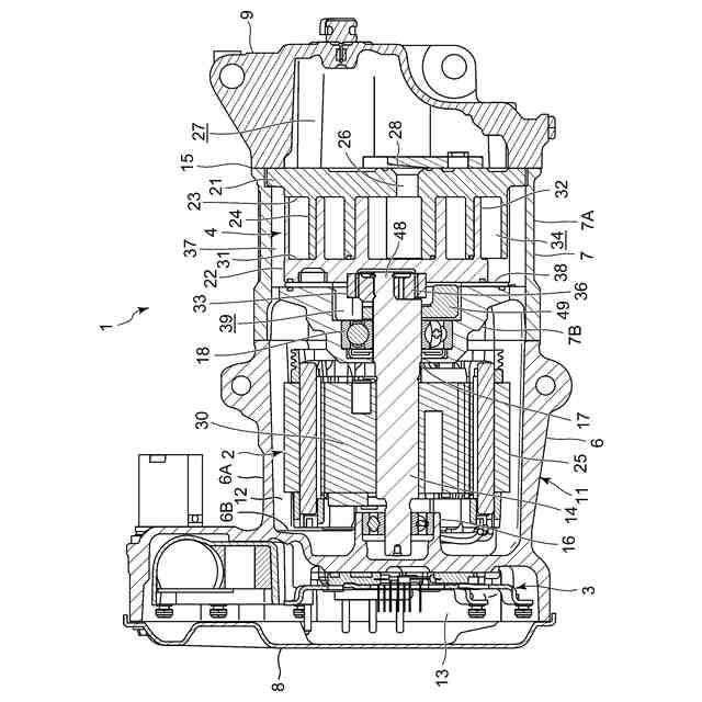
本発明は、固定スクロールから吐出室に吐出された作動流体が、オイルセパレータを経て吐出ポートより吐出されるスクロール圧縮機に関する。
続きを表示(約 1,400 文字)
【背景技術】
【0002】
従来よりこの種スクロール圧縮機は、鏡板の表面に渦巻き状のラップを備えた固定スクロールと、鏡板の表面に渦巻き状のラップを備えた可動スクロールから成る圧縮機構を備え、各スクロールのラップを対向させてラップ間に圧縮室を形成し、固定スクロールに対して可動スクロールを公転旋回運動させることにより、圧縮室で作動流体(冷媒)を圧縮するように構成されている。
【0003】
そして、圧縮された作動流体は、固定スクロールの吐出孔から吐出室内に吐出され、オイルセパレータを経てオイルと分離された後、吐出ポートから吐出される構成とされていた(例えば、特許文献1、特許文献2参照)。
【先行技術文献】
【特許文献】
【0004】
特開2020-20280号公報
特開2023-160250号公報
【発明の概要】
【発明が解決しようとする課題】
【0005】
上記のように固定スクロールから吐出室に吐出された作動流体は、オイルセパレータを経た後、吐出ポートに至るため、オイルセパレータを通過する過程で圧力損失(吐出圧損)が発生し、効率が低下してしまう問題があった。
【0006】
この吐出圧損を低減する方法としては、固定スクロールの吐出孔径を拡大する方法があるが、それでは吐出脈動が大きくなるため、採用することができない。また、特許文献2のようにリアケーシングに取り付けられたオイルセパレータオイル分離パイプに小穴を穿設し、吐出ポートと吐出室を直接連通することで、オイルセパレータを経ること無く、吐出室から作動流体が吐出ポートに至る経路を作る方法もあるが、特許文献2のように別体のオイルセパレータをリアケーシングに取り付けるものでは部品点数が増大すると共に、リアケーシングにオイルセパレータを一体に構成するものでは加工工程が増大する課題があった。
【0007】
本発明は、係る従来の技術的課題を解決するために成されたものであり、加工工程を増やすこと無く、吐出圧損を低減することができるスクロール圧縮機を提供することを目的とする。
【課題を解決するための手段】
【0008】
本発明のスクロール圧縮機は、固定スクロールとリアケーシングとの間に吐出室が構成され、固定スクロールの吐出孔から吐出室に吐出された作動流体が、オイルセパレータを経て吐出ポートよりリアケーシング外に吐出されるものであって、吐出室は、第一チャンバと、第二チャンバから成り、この第二チャンバは、リアケーシングに一体に形成された隔壁により第一チャンバと区画されており、固定スクロールの吐出孔から第一チャンバに吐出された作動流体が、オイルセパレータを経て第二チャンバに流入し、この第二チャンバを経て吐出ポートに至ると共に、オイルセパレータを経ること無く第一チャンバと第二チャンバを連通するバイパス通路を構成したことを特徴とする。
【0009】
請求項2の発明のスクロール圧縮機は、上記発明において隔壁に溝が形成され、この溝がバイパス通路を構成することを特徴とする。
【0010】
請求項3の発明のスクロール圧縮機は、上記発明において隔壁の端面は、リアケーシングの開口縁の端面と同一平面に位置しており、溝は、隔壁の端面に凹陥形成されていることを特徴とする。
(【0011】以降は省略されています)
この特許をJ-PlatPat(特許庁公式サイト)で参照する
関連特許
サンデン株式会社
スクロール圧縮機
23日前
サンデン株式会社
スクロール圧縮機
23日前
サンデン株式会社
スクロール圧縮機
23日前
サンデン株式会社
スクロール式コンプレッサ
24日前
サンデン株式会社
車両用熱マネジメントシステム
24日前
サンデン株式会社
車両用熱マネジメントシステム
24日前
サンデン株式会社
車両用熱マネジメントシステム
24日前
サンデン株式会社
車両用熱マネジメントシステム
24日前
サンデン株式会社
車両用熱マネジメントシステム
24日前
サンデン株式会社
電動圧縮機用モータ及びそれを備えた電動圧縮機
27日前
個人
海流製造装置。
1か月前
株式会社スギノマシン
圧縮機
17日前
株式会社ツインバード
送風装置
1か月前
株式会社ツインバード
送風装置
1か月前
日機装株式会社
遠心ポンプ
9日前
カヤバ株式会社
電動ポンプ
2か月前
ビッグボーン株式会社
送風装置
2か月前
株式会社不二越
蓄圧装置
2か月前
株式会社ノーリツ
ロータリ圧縮機
1か月前
株式会社酉島製作所
ポンプ
3か月前
樫山工業株式会社
真空ポンプ
18日前
サンデン株式会社
スクロール圧縮機
23日前
小倉クラッチ株式会社
ルーツブロア
2か月前
株式会社不二越
ベーンポンプ
3か月前
サンデン株式会社
スクロール圧縮機
23日前
株式会社坂製作所
スクロール圧縮機
3か月前
株式会社ノーリツ
ロータリー圧縮機
3か月前
サンデン株式会社
スクロール圧縮機
23日前
株式会社チロル
送風機、送風機付衣服
2か月前
株式会社島津製作所
真空ポンプ
2か月前
エドワーズ株式会社
真空ポンプ
1か月前
株式会社豊田自動織機
流体機械
1か月前
株式会社アイシン
ポンプケース
1か月前
株式会社島津製作所
真空ポンプ
1か月前
株式会社豊田自動織機
電動圧縮機
2か月前
已久工業股ふん有限公司
空気圧縮機構造
2か月前
続きを見る
他の特許を見る