TOP
|
特許
|
意匠
|
商標
特許ウォッチ
Twitter
他の特許を見る
公開番号
2025148670
公報種別
公開特許公報(A)
公開日
2025-10-08
出願番号
2024048916
出願日
2024-03-26
発明の名称
真空ポンプ
出願人
樫山工業株式会社
代理人
個人
,
個人
主分類
F04C
25/02 20060101AFI20251001BHJP(液体用容積形機械;液体または圧縮性流体用ポンプ)
要約
【課題】2つ以上のポンプ本体機能の複合真空作用を受けることで真空効率を向上させることが可能であり、更に、モータの空冷化、接続する配管数の削減、およびコンダクタンスの改善が可能な真空ポンプを提供する。
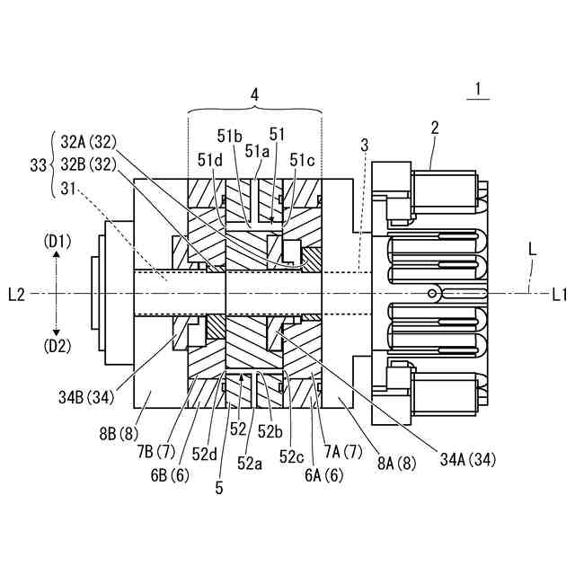
【解決手段】この真空ポンプ1は、モータ2と、モータ2と連結する軸部3と、側面と両端面それぞれとを連通する吸気路51および排気路52が形成されている吸気排気部5と、吸気排気部5の両側の端面にそれぞれ密着して配置される第1および第2のポンプ枠部6と、第1および第2のポンプ枠部6の枠内にそれぞれ配置されている第1および第2のロータ7と、第1および第2のポンプ枠部6端面の開口を塞ぐ第1および第2の蓋部8と、を備え、各ポンプ枠部6内に囲われた2つのポンプ室が画定されており、1つのモータ2に対して少なくとも2つのポンプ本体機能を有している。
【選択図】図1
特許請求の範囲
【請求項1】
回転出力するモータと、
前記モータの回転出力軸と連結し第1方向側から当該第1方向側とは反対方向側の第2方向側へと一直線上に延びるシャフト、および当該シャフトに対し偏芯位置で一体的に結合した一対の偏芯部材からなる回転可能な偏芯カムシャフトを有する軸部と、
前記軸部を挿通させて端面が前記第1方向側および前記第2方向側を向くように配置され、側面と両端面それぞれとを連通する吸気路および排気路が形成されている吸気排気部と、
所定の輪郭形状で貫通させて両端面が開口する枠体を有し、前記軸部を挿通させて前記吸気排気部の前記第1方向側の端面および前記第2方向側の端面にそれぞれ密着して配置される第1のポンプ枠部および第2のポンプ枠部と、
前記軸部における前記偏芯部材が嵌め込まれて前記第1のポンプ枠部および前記第2のポンプ枠部の枠内にそれぞれ配置されており、前記偏芯カムシャフトの回転と連動して回転可能な第1のロータおよび第2のロータと、
最も前記第1方向側に位置する前記第1のポンプ枠部の端面および最も前記第2方向側に位置する前記第2のポンプ枠部の端面にそれぞれ密着して配置され、密着する端面の開口を塞ぐ第1の蓋部および第2の蓋部と、
を備え、
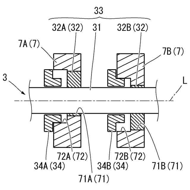
各前記ポンプ枠部における前記所定の輪郭形状の内周面および各前記ポンプ枠部の開口を塞ぐ端面で囲まれて少なくとも2つのポンプ室が画定されており、1つの前記モータの回転出力に連動して各前記ポンプ室の内部に配置された各前記ロータが回転することで各前記ポンプ室の壁面と内部に配置された各前記ロータとの間の気体を前記吸気路側から前記排気路側へと移送可能であることにより、1つの前記モータに対して少なくとも2つのポンプ本体機能を有している、ことを特徴とする真空ポンプ。
続きを表示(約 1,100 文字)
【請求項2】
請求項1に記載の真空ポンプにおいて、
前記第1の蓋部および前記第2の蓋部は、内部に前記軸部を回転可能に支持する軸受を有し、
前記軸部が1本の1軸構造となっている真空ポンプ。
【請求項3】
請求項2に記載の真空ポンプにおいて、
前記軸部は、各前記ロータと対応する位置に前記偏芯回転シャフトと連動して回転しない一対の外歯部材を有するとともに、前記偏芯部材および前記外歯部材が円形外郭形状で形成されており、
各前記ロータは、ルーローの三角形の外郭形状を有するとともに、中央に、前記軸部の前記偏芯部材が嵌まり込む内径寸法の円形内壁面、および、前記軸部の前記外歯部材と部分的に噛み合うよう、前記円形内壁面と同軸で前記軸部の前記外歯部材のピッチ円直径寸法より大きなピッチ円直径寸法で形成された内歯内壁面を有し、
各前記ポンプ枠部は、枠内に配置される各前記ロータを常に内接させて各前記ロータの偏芯回転をガイドする前記所定の輪郭形状としての繭型の輪郭形状の内周面を有し、
各前記ポンプ枠部内で、各前記ロータの外周面と各前記ポンプ枠部の内周面とに囲われた区画が容積を変えながら各前記ロータの回転に伴い移動することで各前記ポンプ室内の気体を移送可能とする真空ポンプ。
【請求項4】
請求項3に記載の真空ポンプにおいて、
前記第1のロータおよび前記第2のロータは、同様の外郭形状を有するとともに、前記軸部の軸線方向に見て、軸線に対し互いに180°回転対称となる位置および向きで配置されている、真空ポンプ。
【請求項5】
請求項1に記載の真空ポンプにおいて、
前記吸気排気部、前記第1のポンプ枠部、および、前記第2のポンプ枠部は、それぞれ扁平形状で形成されている、真空ポンプ。
【請求項6】
請求項1~5のいずれか一項に記載の真空ポンプにおいて、
前記軸部を中央付近に挿通させて前記第1のポンプ枠部および前記第2のポンプ枠部の端面と密着して配置された場合に、密着する端面の開口を塞ぐことが可能な形態の1または複数の仕切部を更に備え、
隣接する前記吸気排気部、前記第1のロータが配置された前記第1のポンプ枠部、および、前記第2のロータが配置された前記第2のポンプ枠部を一組のポンプユニットとした場合に、複数組の前記ポンプユニットが前記仕切部を介して軸線方向に多段で重なり合って配置されている、真空ポンプ。
【請求項7】
請求項6に記載の真空ポンプにおいて、
各前記ポンプユニットの前記吸気路の端部の吸気口に接続され、複数の前記吸気路間を連通させる集合吸気管を更に備える、真空ポンプ。
発明の詳細な説明
【技術分野】
【0001】
本発明は、真空ポンプに関し、更に詳しくは、2つ以上のポンプ本体の複合真空作用を受けることで真空効率を向上させることが可能な真空ポンプに関する。
続きを表示(約 2,200 文字)
【背景技術】
【0002】
真空チャンバー等を真空引きするために、回転機構をもつ真空ポンプが多く用いられている。このような回転機構をもつ真空ポンプは、通常、ロータが内部空間に配置され、吸入した気体を圧縮して排気する1つのポンプ本体と、この1つのポンプ本体を駆動させるための1つのモータとの組み合わせで構成されている。しかし、真空ポンプの使用現場では、1つのポンプ本体では所定の空間を真空空間にする際に真空効率が不十分(例えば、時間が掛かりすぎてしまう)で、2つ以上のポンプ本体機能の複合真空作用を受けることで真空効率を向上させたい場面が多々ある。このような場面でも、複数の真空ポンプを準備することなく真空効率を向上させるべく、複数のポンプ本体を1つのモータで駆動させることが可能な真空ポンプ構造および真空ポンプが提案されている。
【0003】
例えば、特許文献1では、2つのポンプ本体(2A,2B)が1つのモータ(1)の両側に接続され、そのモータ(1)によって駆動される構造とした真空ポンプ構造が開示されている。
【0004】
また例えば、特許文献2では、1つのモータ(15)によって駆動されて独立的に動作する2つのポンプ本体(単位ポンプ12,13)を有する真空ポンプ(11)が開示されている。この真空ポンプ(11)は、2つのポンプ本体(12,13)を直列接続して2段ポンプを構成するとともに、ポンプ本体(12,13)の側面に主吸気口(16)および主排気口(17)とは別に、この接続路には開閉バルブを介装しかつこの開閉バルブの両側に開閉可能な副吸気口(22),副排気口(21)が開設されている。また、特許文献2では、第5図において、2個またはそれ以上のポンプ(11,11A)を並設して1つのモータ(15)で駆動するようにしてもよいことが開示されている。
【先行技術文献】
【特許文献】
【0005】
特開2020-063739号公報
特開昭61-123777号公報
【発明の概要】
【発明が解決しようとする課題】
【0006】
しかしながら、特許文献1で開示されている真空ポンプ構造においては、2つのポンプ本体を1つのモータの両側に配置することでモータが中央に配置されるため、モータに風を十分に当てることができないことからモータの冷却性が悪く、空冷化は困難である。また、2つのポンプ本体間が離れているため、両者を繋ぐ配管が長くなりコンダクタンスが悪くなってしまう。
【0007】
また、特許文献2で開示されている真空ポンプにおいては、直列接続される2段ポンプに対し、吸気口および排気口として、主吸気口および主排気口とは別の副吸気口および副排気口が開設されるため、接続する配管数を削減できない。
【0008】
本発明の目的は、このような点に鑑みてなされたものであり、2つ以上のポンプ本体機能の複合真空作用を受けることで真空効率を向上させることが可能であり、更に、モータの空冷化、接続する配管数の削減、およびコンダクタンスの改善が可能な真空ポンプを提供することにある。
【課題を解決するための手段】
【0009】
上記課題を解決すべく、本発明に係る真空ポンプは、
回転出力するモータと、
モータの回転出力軸と連結し第1方向側から第1方向側とは反対方向側の第2方向側へと一直線上に延びるシャフト、およびシャフトに対し偏芯位置で一体的に結合した一対の偏芯部材からなる回転可能な偏芯カムシャフトを有する軸部と、
軸部を挿通させて端面が第1方向側および第2方向側を向くように配置され、側面と両端面それぞれとを連通する吸気路および排気路が形成されている吸気排気部と、
所定の輪郭形状で貫通させて両端面が開口する枠体を有し、軸部を挿通させて吸気排気部の第1方向側の端面および第2方向側の端面にそれぞれ密着して配置される第1のポンプ枠部および第2のポンプ枠部と、
軸部における偏芯部材が嵌め込まれて第1のポンプ枠部および第2のポンプ枠部の枠内にそれぞれ配置されており、偏芯カムシャフトの回転と連動して回転可能な第1のロータおよび第2のロータと、
最も第1方向側に位置する第1のポンプ枠部の端面および最も第2方向側に位置する第2のポンプ枠部の端面にそれぞれ密着して配置され、密着する端面の開口を塞ぐ第1の蓋部および第2の蓋部と、
を備え、
各ポンプ枠部における所定の輪郭形状の内周面および各ポンプ枠部の開口を塞ぐ端面で囲まれて少なくとも2つのポンプ室が画定されており、1つのモータの回転出力に連動して各ポンプ室の内部に配置された各ロータが回転することで各ポンプ室の壁面と内部に配置された各ロータとの間の気体を吸気路側から排気路側へと移送可能であることにより、1つのモータに対して少なくとも2つのポンプ本体機能を有している、ことを特徴とする。
【0010】
この真空ポンプにおいては、第1の蓋部および第2の蓋部には、内部に軸部を回転可能に支持する軸受を有し、軸部が1本の1軸構造となっている。
(【0011】以降は省略されています)
この特許をJ-PlatPat(特許庁公式サイト)で参照する
関連特許
樫山工業株式会社
真空ポンプ
今日
樫山工業株式会社
バルブおよび真空ポンプ
19日前
樫山工業株式会社
真空ポンプおよび真空ポンプ冷却システム
今日
個人
海流製造装置。
21日前
株式会社ツインバード
送風装置
19日前
ダイニチ工業株式会社
空調装置
4か月前
株式会社ツインバード
送風装置
19日前
カヤバ株式会社
電動ポンプ
2か月前
株式会社不二越
蓄圧装置
2か月前
ビッグボーン株式会社
送風装置
1か月前
株式会社ニクニ
液封式ポンプ装置
4か月前
株式会社ノーリツ
ロータリ圧縮機
1か月前
個人
携帯型扇風機用の送風ノズル
4か月前
株式会社酉島製作所
ポンプ
3か月前
株式会社ノーリツ
ロータリー圧縮機
3か月前
サンデン株式会社
スクロール圧縮機
5日前
株式会社不二越
ベーンポンプ
2か月前
株式会社坂製作所
スクロール圧縮機
3か月前
小倉クラッチ株式会社
ルーツブロア
2か月前
サンデン株式会社
スクロール圧縮機
5日前
樫山工業株式会社
真空ポンプ
今日
サンデン株式会社
スクロール圧縮機
5日前
株式会社コスメック
ピストン型ポンプ
4か月前
株式会社豊田自動織機
流体機械
1か月前
株式会社島津製作所
真空ポンプ
19日前
株式会社島津製作所
真空ポンプ
1か月前
個人
連結式螺旋翼体及び流体移送装置
4か月前
株式会社チロル
送風機、送風機付衣服
1か月前
エドワーズ株式会社
真空ポンプ
13日前
株式会社アイシン
ポンプケース
12日前
株式会社豊田自動織機
電動圧縮機
29日前
株式会社豊田自動織機
電動圧縮機
2か月前
株式会社豊田自動織機
電動圧縮機
1か月前
已久工業股ふん有限公司
空気圧縮機構造
2か月前
株式会社豊田自動織機
電動圧縮機
2か月前
株式会社豊田自動織機
電動圧縮機
29日前
続きを見る
他の特許を見る