TOP
|
特許
|
意匠
|
商標
特許ウォッチ
Twitter
他の特許を見る
公開番号
2025130932
公報種別
公開特許公報(A)
公開日
2025-09-09
出願番号
2024028332
出願日
2024-02-28
発明の名称
電動圧縮機
出願人
株式会社豊田自動織機
代理人
個人
,
個人
主分類
F04B
39/06 20060101AFI20250902BHJP(液体用容積形機械;液体または圧縮性流体用ポンプ)
要約
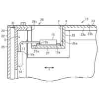
【課題】伝熱部材の厚みのむらの発生を抑制する。
【解決手段】第2回路基板62には、挿入方向に対して突出部52の底部52bに向かう程、第2回路基板62からの突出量が小さくなるように、第1キャパシタ731、磁性部品74、及び第2キャパシタ732が順次実装されている。突出部52には、第1肉厚部54及び第2肉厚部55が設けられている。径方向に対向する第1肉厚部54と磁性部品74との間、及び第1キャパシタ731と第2肉厚部55との間にはポッティング剤75が設けられている。
【選択図】図1
特許請求の範囲
【請求項1】
回転軸と、
前記回転軸の回転によって流体を圧縮する圧縮部と、
前記圧縮部を駆動するモータと、
前記モータを駆動するインバータと、
前記回転軸、前記圧縮部、前記モータ、及び前記インバータを収容するハウジングと、を備え、
前記インバータは、前記モータを駆動する駆動素子が実装された第1回路基板と、前記第1回路基板に対するノイズを除去する電子部品が実装された第2回路基板と、を有し、
前記ハウジングは、前記モータを収容するとともに流体を吸入する吸入室を区画するモータハウジング、前記圧縮部を収容するとともに圧縮した流体を吐出する圧縮部ハウジング、前記インバータを収容するインバータ収容室を区画するインバータハウジング、及び前記吸入室と前記インバータ収容室とを隔てる区画壁を有している電動圧縮機であって、
前記モータハウジングには、前記区画壁側から前記第2回路基板が挿入される開口によって他の部分よりも前記回転軸の径方向に突出するとともに、前記第2回路基板の挿入方向に延在する有底筒状の突出部が設けられ、
前記第2回路基板には、前記挿入方向に対して前記突出部の底部に向かう程、前記第2回路基板からの突出量が小さくなるように複数の前記電子部品が順次実装されており、
前記突出部には、前記径方向に対向する前記電子部品に向けて肉厚が厚くなる肉厚部が設けられており、
前記径方向に対向する前記肉厚部と前記電子部品との間には、伝熱部材が設けられていることを特徴とする電動圧縮機。
続きを表示(約 500 文字)
【請求項2】
前記電子部品は、一対のキャパシタと磁性部品とを含み、
前記第2回路基板には、前記磁性部品が前記キャパシタの間に位置するように実装されており、
前記突出部には、前記径方向に対して前記磁性部品と対向する第1肉厚部と、前記第1肉厚部と前記底部との間に設けられるとともに、前記径方向に対して一方の前記キャパシタと対向する第2肉厚部と、が設けられており、
前記伝熱部材は、前記径方向に対向する前記第1肉厚部と前記磁性部品との間に設けられているとともに、前記径方向に対向する前記第2肉厚部と一方の前記キャパシタとの間に設けられている、請求項1に記載の電動圧縮機。
【請求項3】
前記第1肉厚部は、前記回転軸の軸方向に対して他方の前記キャパシタと対向するとともに、前記第2肉厚部は、前記軸方向に対して前記磁性部品と対向しており、
前記伝熱部材は、前記軸方向に対向する前記第1肉厚部と他方の前記キャパシタとの間に設けられているとともに、前記軸方向に対向する前記第2肉厚部と前記磁性部品との間に設けられている、請求項2に記載の電動圧縮機。
発明の詳細な説明
【技術分野】
【0001】
本発明は、電動圧縮機に関する。
続きを表示(約 2,000 文字)
【背景技術】
【0002】
特許文献1に記載の電動圧縮機は、回転軸と、回転軸の回転によって流体を圧縮する圧縮部と、圧縮部を駆動するモータと、モータを駆動するインバータと、ハウジングと、を備えている。ハウジングは、回転軸、圧縮部、モータ、及びインバータを収容している。インバータは、モータを駆動する駆動素子が実装された第1回路基板と、第1回路基板に対するノイズを除去する電子部品が実装された第2回路基板と、を有している。第1回路基板は、第1の収容室に収容されるとともに、第2回路基板は、第2の収容室に収容されている。
【先行技術文献】
【特許文献】
【0003】
特開2014-58910号公報
【発明の概要】
【発明が解決しようとする課題】
【0004】
このような電動圧縮機においては、第2の収容室内における電子部品と、当該電子部品の固定面との間に伝熱部材を設けるとともに、第2回路基板及び電子部品をハウジングに搭載する際に、第2収容室内にて第2回路基板及び電子部品を回転軸の軸方向へと変位させる場合がある。この場合、電子部品が、第2収容室の固定面上の伝熱部材に接しつつ変位すると、伝熱部材のむらが発生するため好ましくない。
【課題を解決するための手段】
【0005】
上記課題を解決するための電動圧縮機は、回転軸と、前記回転軸の回転によって流体を圧縮する圧縮部と、前記圧縮部を駆動するモータと、前記モータを駆動するインバータと、前記回転軸、前記圧縮部、前記モータ、及び前記インバータを収容するハウジングと、を備え、前記インバータは、前記モータを駆動する駆動素子が実装された第1回路基板と、前記第1回路基板に対するノイズを除去する電子部品が実装された第2回路基板と、を有し、前記ハウジングは、前記モータを収容するとともに流体を吸入する吸入室を区画するモータハウジング、前記圧縮部を収容するとともに圧縮した流体を吐出する圧縮部ハウジング、前記インバータを収容するインバータ収容室を区画するインバータハウジング、及び前記吸入室と前記インバータ収容室とを隔てる区画壁を有している電動圧縮機であって、前記モータハウジングには、前記区画壁側から前記第2回路基板が挿入される開口によって他の部分よりも前記回転軸の径方向に突出するとともに、前記第2回路基板の挿入方向に延在する有底筒状の突出部が設けられ、前記第2回路基板には、前記挿入方向に対して前記突出部の底部に向かう程、前記第2回路基板からの突出量が小さくなるように複数の前記電子部品が順次実装されており、前記突出部には、前記径方向に対向する前記電子部品に向けて肉厚が厚くなる肉厚部が設けられており、前記径方向に対向する前記肉厚部と前記電子部品との間には、伝熱部材が設けられていることを特徴とする。
【0006】
上記構成によれば、第2回路基板及び複数の電子部品が突出部内に挿入される際に、電子部品が肉厚部上の伝熱部材に接しつつ径方向に変位することが抑制される。これにより、電子部品が伝熱部材に接しつつ径方向に変位することによる伝熱部材の厚さのむらの発生を抑制できる。
【0007】
電動圧縮機において、前記電子部品は、一対のキャパシタと磁性部品とを含み、前記第2回路基板には、前記磁性部品が前記キャパシタの間に位置するように実装されており、前記突出部には、前記径方向に対して前記磁性部品と対向する第1肉厚部と、前記第1肉厚部と前記底部との間に設けられるとともに、前記径方向に対して一方の前記キャパシタと対向する第2肉厚部と、が設けられており、前記伝熱部材は、前記径方向に対向する前記第1肉厚部と前記磁性部品との間に設けられているとともに、前記径方向に対向する前記第2肉厚部と一方の前記キャパシタとの間に設けられていてもよい。
【0008】
上記構成によれば、第2回路基板、及び一対のキャパシタと磁性部品が突出部内に挿入される際に、一方のキャパシタが第1肉厚部上の伝熱部材に接することを抑制できるため、第1肉厚部上の伝熱部材の厚さが径方向に変位することが抑制される。
【0009】
電動圧縮機において、前記第1肉厚部は、前記回転軸の軸方向に対して他方の前記キャパシタと対向するとともに、前記第2肉厚部は、前記軸方向に対して前記磁性部品と対向しており、前記伝熱部材は、前記軸方向に対向する前記第1肉厚部と他方の前記キャパシタとの間に設けられているとともに、前記軸方向に対向する前記第2肉厚部と前記磁性部品との間に設けられていてもよい。
【0010】
上記構成によれば、回転軸の軸方向へ伝熱部材によって放熱できる。
【発明の効果】
(【0011】以降は省略されています)
この特許をJ-PlatPat(特許庁公式サイト)で参照する
関連特許
株式会社豊田自動織機
産業車両
14日前
株式会社豊田自動織機
トランス
2日前
株式会社豊田自動織機
操作装置
2日前
株式会社豊田自動織機
電力変換器
14日前
株式会社豊田自動織機
双方向充電器
7日前
株式会社豊田自動織機
車両制御装置
今日
株式会社豊田自動織機
排気浄化装置
3日前
株式会社豊田自動織機
電磁ブレーキ装置
14日前
株式会社豊田自動織機
燃料電池ユニット
今日
株式会社豊田自動織機
スクロール型圧縮機
14日前
株式会社豊田自動織機
ねじりコイルばね装置
10日前
株式会社豊田自動織機
内燃機関の制御システム
10日前
株式会社豊田自動織機
車両のルーフサイド構造
3日前
株式会社豊田自動織機
インバータ一体型電動機
14日前
株式会社豊田自動織機
スクロール型電動圧縮機
14日前
株式会社豊田自動織機
燃料電池システム及びフォークリフト
9日前
トヨタ自動車株式会社
バイポーラ型蓄電装置
今日
株式会社豊田自動織機
車両用の充電システム、充電回路、充電装置、および電圧の制御方法
3日前
個人
海流製造装置。
1か月前
株式会社スギノマシン
圧縮機
15日前
株式会社ツインバード
送風装置
1か月前
株式会社ツインバード
送風装置
1か月前
ダイニチ工業株式会社
空調装置
4か月前
カヤバ株式会社
電動ポンプ
2か月前
日機装株式会社
遠心ポンプ
7日前
ビッグボーン株式会社
送風装置
1か月前
株式会社不二越
蓄圧装置
2か月前
株式会社ニクニ
液封式ポンプ装置
4か月前
個人
携帯型扇風機用の送風ノズル
4か月前
株式会社ノーリツ
ロータリ圧縮機
1か月前
株式会社酉島製作所
ポンプ
3か月前
株式会社坂製作所
スクロール圧縮機
3か月前
株式会社不二越
ベーンポンプ
2か月前
樫山工業株式会社
真空ポンプ
16日前
小倉クラッチ株式会社
ルーツブロア
2か月前
サンデン株式会社
スクロール圧縮機
21日前
続きを見る
他の特許を見る