TOP
|
特許
|
意匠
|
商標
特許ウォッチ
Twitter
他の特許を見る
公開番号
2025159591
公報種別
公開特許公報(A)
公開日
2025-10-21
出願番号
2024062284
出願日
2024-04-08
発明の名称
立形多段ポンプ
出願人
株式会社荏原製作所
代理人
個人
,
個人
,
個人
主分類
F04D
1/08 20060101AFI20251014BHJP(液体用容積形機械;液体または圧縮性流体用ポンプ)
要約
【課題】ポンプの効率を向上することができる立形多段ポンプの提供。
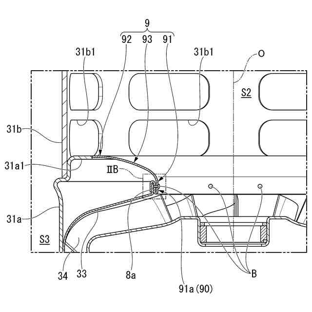
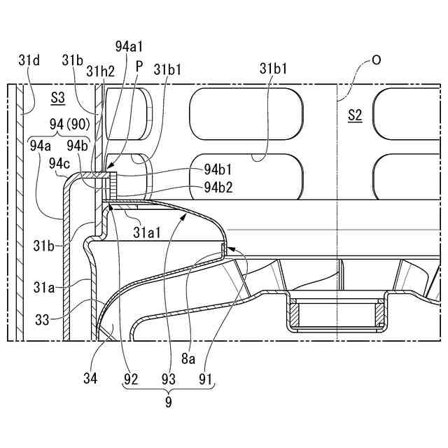
【解決手段】立形多段ポンプは、回転軸と、回転軸に固定された複数の羽根車と、複数の羽根車を収容する中間ケーシング31aと、中間ケーシング31aの上側に配置され、周壁に複数の連通孔31b1が形成された上部ケーシング31bと、中間ケーシング31aおよび上部ケーシング31bの径方向外側に配置され、複数の連通孔31b1と連通する外側流路S3を形成する外ケーシングと、中間ケーシング31aの上部開口部8aと複数の連通孔31b1との間に設けられたガイドプレート9と、を備え、ガイドプレート9は軸方向上側に凸となる曲面を有し、ガイドプレート9の外縁部92は複数の連通孔31b1の下端に向かって延びており、ガイドプレート9は、中間ケーシング31aおよび上部ケーシング31bの少なくとも一方に固定される固定構造体90を有する。
【選択図】図2A
特許請求の範囲
【請求項1】
回転軸と、
前記回転軸に固定された複数の羽根車と、
前記複数の羽根車を収容する中間ケーシングと、
前記中間ケーシングの上側に配置され、周壁に複数の連通孔が形成された上部ケーシングと、
前記中間ケーシングおよび前記上部ケーシングの径方向外側に配置され、前記複数の連通孔と連通する外側流路を形成する外ケーシングと、
前記中間ケーシングの上部開口部と前記複数の連通孔との間に設けられたガイドプレートと、を備え、
前記ガイドプレートは軸方向上側に凸となる曲面を有し、前記ガイドプレートの外縁部は前記複数の連通孔の下端に向かって延びており、
前記ガイドプレートは、前記中間ケーシングおよび前記上部ケーシングの少なくとも一方に固定される固定構造体を有する、立形多段ポンプ。
続きを表示(約 560 文字)
【請求項2】
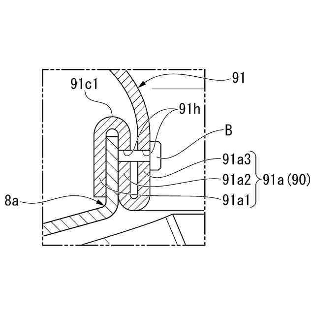
前記固定構造体は、前記ガイドプレートの内縁部に設けられ、前記上部開口部に係合する係合部であり、
前記係合部には、周方向に並ぶ複数の挿入孔が形成され、
前記係合部は、前記挿入孔に挿入される固定部材により、前記中間ケーシングに固定される、
請求項1に記載の立形多段ポンプ。
【請求項3】
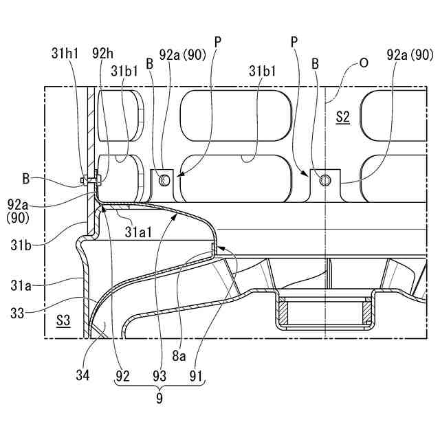
前記固定構造体は、前記ガイドプレートの外縁部に設けられ、上側に向かって突出する突出部であり、
前記突出部は、周方向に隣り合う連通孔の間の柱部の径方向内側に配置され、
前記突出部は、前記突出部に形成された挿入孔に挿入される固定部材により、前記上部ケーシングに固定される、
請求項1または2に記載の立形多段ポンプ。
【請求項4】
前記固定構造体は、前記外側流路において軸方向に沿って延びるタイロッドであり、
前記タイロッドは、前記中間ケーシングよりも上側の部分において、径方向内側に向かって湾曲する湾曲部を有し、前記湾曲部の少なくとも一部は、前記上部ケーシングの内側に設けられ、
前記ガイドプレートの外縁部は、前記タイロッドの前記湾曲部によって上側から押圧される、
請求項1または2に記載の立形多段ポンプ。
発明の詳細な説明
【技術分野】
【0001】
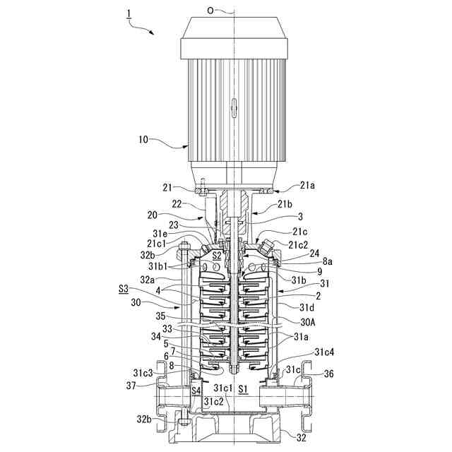
本発明は、立形多段ポンプに関する。
続きを表示(約 1,400 文字)
【背景技術】
【0002】
特許文献1には、流体設備の配管の途中に組み込まれて使用される立形多段ポンプが開示されている。この立形多段ポンプは、鉛直方向に延びる回転軸と、当該回転軸に固定された複数の羽根車と、当該複数の羽根車を収容する中間ケーシングと、中間ケーシングの径方向外側に配置される外ケーシングと、を有している。
【先行技術文献】
【特許文献】
【0003】
特表2017-531757号公報
【発明の概要】
【発明が解決しようとする課題】
【0004】
近年、このような立形多段ポンプにおいて、ポンプの吸込および吐出効率等の性能の向上が求められている。従来のポンプでは、中間ケーシングと外ケーシングとの間との流路において、流体の流れが妨げられ、ポンプの吸込および吐出効率の向上が困難である場合があった。
【0005】
本発明は、上記問題点に鑑みてなされたものであり、ポンプの効率を向上することができる立形多段ポンプの提供を目的とする。
【課題を解決するための手段】
【0006】
(1):本発明の一態様に係る立形多段ポンプは、回転軸と、前記回転軸に固定された複数の羽根車と、前記複数の羽根車を収容する中間ケーシングと、前記中間ケーシングの上側に配置され、周壁に複数の連通孔が形成された上部ケーシングと、前記中間ケーシングおよび前記上部ケーシングの径方向外側に配置され、前記複数の連通孔と連通する外側流路を形成する外ケーシングと、前記中間ケーシングの上部開口部と前記複数の連通孔との間に設けられたガイドプレートと、を備え、前記ガイドプレートは軸方向上側に凸となる曲面を有し、前記ガイドプレートの外縁部は前記複数の連通孔の下端に向かって延びており、前記ガイドプレートは、前記中間ケーシングおよび前記上部ケーシングの少なくとも一方に固定される固定構造体を有する。
【0007】
(2):(1)に係る立形多段ポンプであって、前記固定構造体は、前記ガイドプレートの内縁部に設けられ、前記上部開口部に係合する係合部であり、前記係合部には、周方向に並ぶ複数の挿入孔が形成され、前記係合部は、前記挿入孔に挿入される固定部材により、前記中間ケーシングに固定される。
【0008】
(3):(1)または(2)に係る立形多段ポンプであって、前記固定構造体は、前記ガイドプレートの外縁部に設けられ、上側に向かって突出する突出部であり、前記突出部は、周方向に隣り合う連通孔の間の柱部の径方向内側に配置され、前記突出部は、前記突出部に形成された挿入孔に挿入される固定部材により、前記上部ケーシングに固定される。
【0009】
(4):(1)から(3)のいずれかに係る立形多段ポンプであって、前記固定構造体は、前記外側流路において軸方向に沿って延びるタイロッドであり、前記タイロッドは、前記中間ケーシングよりも上側の部分において、径方向内側に向かって湾曲する湾曲部を有し、前記湾曲部の少なくとも一部は、前記上部ケーシングの内側に設けられ、前記ガイドプレートの外縁部は、前記タイロッドの前記湾曲部によって上側から押圧される。
【発明の効果】
【0010】
上記本発明の態様によれば、ポンプの効率を向上することができる。
【図面の簡単な説明】
(【0011】以降は省略されています)
この特許をJ-PlatPat(特許庁公式サイト)で参照する
関連特許
株式会社荏原製作所
研磨装置
11日前
株式会社荏原製作所
ポンプ装置
1か月前
株式会社荏原製作所
往復動ポンプ
20日前
株式会社荏原製作所
立形多段ポンプ
26日前
株式会社荏原製作所
蒸気発電プラント
1か月前
株式会社荏原製作所
周波数制御システム
1か月前
株式会社荏原製作所
研磨方法および研磨装置
1か月前
株式会社荏原製作所
研磨装置および研磨方法
11日前
株式会社荏原製作所
研磨方法および研磨システム
20日前
株式会社荏原製作所
基板研磨装置および膜厚算出方法
9日前
株式会社荏原製作所
シールリングおよび往復動ポンプ
26日前
株式会社荏原製作所
基板処理方法および基板処理装置
11日前
株式会社荏原製作所
ウェーハの洗浄方法および洗浄装置
11日前
株式会社荏原製作所
超伝導モータおよびモータシステム
4日前
株式会社荏原製作所
ドレッサ洗浄装置および基板研磨装置
1か月前
株式会社荏原製作所
基板接合方法および基板接合システム
1か月前
株式会社荏原製作所
永久磁石型モータおよびモータシステム
4日前
株式会社荏原製作所
永久磁石型モータおよびモータシステム
4日前
株式会社荏原製作所
永久磁石型モータおよびモータシステム
4日前
株式会社荏原製作所
処理ヘッド、基板処理装置、および基板処理方法
12日前
株式会社荏原製作所
ポンプシステムの運転方法、およびポンプシステム
2日前
株式会社荏原製作所
永久磁石型モータ、モータシステム、およびポンプシステム
4日前
株式会社荏原製作所
基板洗浄装置のキャリブレーション方法および基板洗浄方法
1か月前
オリオン機械株式会社
ヒータおよびこれを有する液体温調装置
1か月前
株式会社荏原製作所
情報処理装置、情報処理方法、情報処理プログラム、及び、記録媒体
24日前
株式会社荏原製作所
ワークピースの膜厚推定に使用される参照スペクトルライブラリの作成方法
9日前
株式会社荏原製作所
めっき装置、およびめっき方法
17日前
株式会社荏原製作所
情報処理装置、基板研磨装置、推論装置、機械学習装置、情報処理方法、推論方法、及び、機械学習方法
1か月前
住友化学株式会社
メタノールの製造方法
1か月前
個人
海流製造装置。
2か月前
株式会社スギノマシン
圧縮機
1か月前
株式会社ツインバード
送風装置
1か月前
株式会社ツインバード
送風装置
1か月前
日機装株式会社
遠心ポンプ
1か月前
カヤバ株式会社
電動ポンプ
3か月前
カヤバ株式会社
電動ポンプ
9日前
続きを見る
他の特許を見る