TOP
|
特許
|
意匠
|
商標
特許ウォッチ
Twitter
他の特許を見る
公開番号
2025176699
公報種別
公開特許公報(A)
公開日
2025-12-04
出願番号
2025082901
出願日
2025-05-16
発明の名称
縦型スクリューポンプ
出願人
株式会社ニクニ
代理人
個人
主分類
F04C
2/16 20060101AFI20251127BHJP(液体用容積形機械;液体または圧縮性流体用ポンプ)
要約
【課題】粘度が高く、流動性の低い液体を移送することができる。
【解決手段】鉛直方向に沿って設けられた第1ロータ及び第2ロータと、第1ロータ及び第2ロータの少なくとも一部が内部に設けられる空洞部を有するケースと、を備え、第1ロータと第2ロータとは隣接して設けられており、空洞部によりケースの上端面には開口が形成されている。鉛直方向上側からケースを見たときに、第1ロータ及び第2ロータが開口を介して露出している。
【選択図】 図1
特許請求の範囲
【請求項1】
鉛直方向に沿って設けられた第1ロータ及び第2ロータと、
前記第1ロータ及び前記第2ロータの少なくとも一部が内部に設けられる空洞部を有するケースと、
を備え、
前記第1ロータと前記第2ロータとは、隣接して設けられており、
前記空洞部により、前記ケースの上端面には開口が形成されており、
鉛直方向上側から前記ケースを見たときに、前記第1ロータ及び前記第2ロータが前記開口を介して露出している
ことを特徴とする縦型スクリューポンプ。
続きを表示(約 1,100 文字)
【請求項2】
前記第1ロータ及び前記第2ロータは、一部が前記上端面よりも鉛直方向上側に突出している
ことを特徴とする請求項1に記載の縦型スクリューポンプ。
【請求項3】
前記第1ロータは、鉛直方向に沿って設けられた第1軸と、前記第1軸に沿って設けられた螺旋状のスクリュー歯及びスクリュー羽根の少なくとも一方を含む第1搬送部と、を有し、
前記第2ロータは、鉛直方向に沿って設けられた第2軸と、前記第2軸に沿って設けられた螺旋状のスクリュー歯及びスクリュー羽根の少なくとも一方を含む第2搬送部と、を有し、
前記第1搬送部の凸部が前記第2搬送部の隣接する2つの凸部の間に挿入され、かつ、前記第2搬送部の凸部が前記第1搬送部の隣接する2つの凸部の間に挿入され、
前記第1搬送部及び前記第2搬送部は、前記上端面から少なくとも2ピッチ突出している
ことを特徴とする請求項2に記載の縦型スクリューポンプ。
【請求項4】
前記第1ロータは、鉛直方向に沿って設けられた第1軸と、前記第1軸に沿って設けられた螺旋状の第1スクリュー歯及び第1スクリュー羽根を有する第1搬送部と、を有し、
前記第2ロータは、鉛直方向に沿って設けられた第2軸と、前記第2軸に沿って設けられた螺旋状の第2スクリュー歯及び第2スクリュー羽根を有する第2搬送部と、を有し、
前記第1搬送部の凸部が前記第2搬送部の隣接する2つの凸部の間に挿入され、かつ、前記第2搬送部の凸部が前記第1搬送部の隣接する2つの凸部の間に挿入され、
前記第1スクリュー歯及び前記第2スクリュー歯は、前記空洞部の内部に設けられており、
前記第1スクリュー羽根及び前記第2スクリュー羽根は、それぞれ、前記第1スクリュー歯及び前記第2スクリュー歯よりも鉛直方向上側に位置し、
前記第1スクリュー羽根及び前記第2スクリュー羽根は、前記上端面から少なくとも2ピッチ突出している
ことを特徴とする請求項2に記載の縦型スクリューポンプ。
【請求項5】
前記ケースが載置されており、内部にオイルが封入されたオイルタンクと、
前記オイルを前記オイルタンクから吸い上げて前記第1ロータ及び前記第2ロータを保持する軸受に供給するポンプと、
前記オイルタンクに設けられており、前記第1ロータ、前記第2ロータ及び前記ポンプを駆動するアクチュエータと、
を備えたことを特徴とする請求項1から4のいずれか一項に記載の縦型スクリューポンプ。
発明の詳細な説明
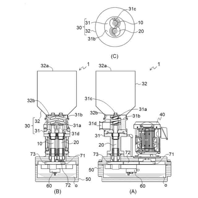
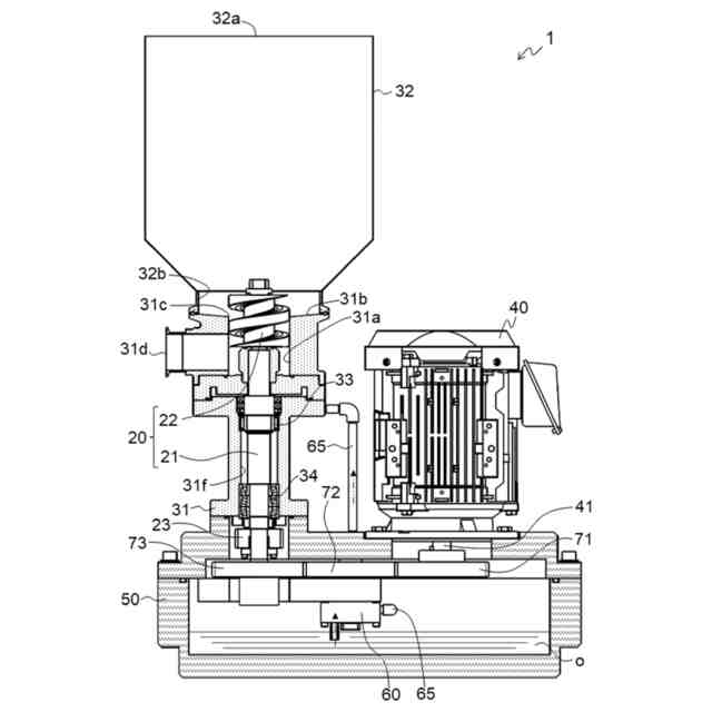
【技術分野】
【0001】
本発明は、縦型スクリューポンプに関する。
続きを表示(約 1,800 文字)
【背景技術】
【0002】
特許文献1には、スクリューロータの回転軸をほぼ垂直になるように設置したいわゆる縦型のポンプを用いたオイル循環型メカニカルポンプが開示されている。
【先行技術文献】
【特許文献】
【0003】
特開平10-141260号公報
【発明の概要】
【発明が解決しようとする課題】
【0004】
特許文献1に記載のオイル循環型メカニカルポンプは、気体を吸入するポンプであることから、液体の吸入には適していない。特に、粘度が高い液体(例えば、インキ、マヨネーズ)を吸入する場合、ポンプ内部に非処理液を吸入し易くしなければポンプ作用が発生せず、送液不良を起こす場合がある。また、流動性が低い液体の場合も、ポンプ内部へ非処理液を吸入し易くしなければポンプ作用が発生せず、送液不良を起こす場合がある。
【0005】
本発明はこのような事情に鑑みてなされたもので、粘度が高く、流動性の低い液体を移送することができる縦型スクリューポンプを提供することを目的とする。
【課題を解決するための手段】
【0006】
上記課題を解決するために、本発明に係る縦型スクリューポンプは、例えば、鉛直方向に沿って設けられた第1軸と、前記第1軸に沿って設けられた螺旋状の第1スクリュー歯と、を有する第1ロータと、鉛直方向に沿って設けられた第2軸と、前記第2軸に沿って設けられており、前記第1スクリュー歯と噛み合う螺旋状の第2スクリュー歯と、を有する第2ロータと、前記第1ロータと前記第2ロータとが内部に設けられる空洞部を有するハウジングと、を備え、前記ハウジングは、前記第1ロータと前記第2ロータとを収容するケースと、前記ケースの鉛直方向上側に連結されたホッパタンクと、を有し、前記空洞部により、前記ケースの上端面には開口が形成されており、鉛直方向上側から前記ハウジングを見たときに、前記第1スクリュー歯及び前記第2スクリュー歯が前記開口を介して露出していることを特徴とする。
【0007】
本発明に係る縦型スクリューポンプによれば、鉛直方向上側からハウジングを見たときに、ケースの上端面に形成された開口を介して第1スクリュー歯及び第2スクリュー歯が露出している。そのため、粘度が高く、流動性の低い被処理流体をホッパタンクに投入することで、被処理流体が第1スクリュー歯及び第2スクリュー歯に直接触れる。したがって、粘度が高く、流動性の低い液体を移送することができる。
【0008】
前記第1スクリュー歯及び前記第2スクリュー歯は、前記上端面よりも鉛直方向上側に突出していてもよい。これにより、餡等の粘度が非常に高く、流動性の低い流体を第1スクリュー歯及び第2スクリュー歯に直接触れさせることができる。したがって、非常に粘度が高く、流動性の低い流体を確実に移送することができる。
【0009】
上記課題を解決するために、本発明に係る縦型スクリューポンプは、例えば、鉛直方向に沿って設けられた第1軸と、前記第1軸に沿って設けられた螺旋状の第1スクリュー歯と、を有する第1ロータと、鉛直方向に沿って設けられた第2軸と、前記第2軸に沿って設けられており、前記第1スクリュー歯と噛み合う螺旋状の第2スクリュー歯と、を有する第2ロータと、前記第1ロータと前記第2ロータとが内部に設けられる空洞部を有するケースと、を備え、前記空洞部により、前記ケースの上端面には開口が形成されており、前記第1スクリュー歯及び前記第2スクリュー歯は、前記上端面よりも鉛直方向上側に突出していることを特徴とする。これにより、餡等の粘度が非常に高く、流動性の低い流体を第1スクリュー歯及び第2スクリュー歯に直接触れさせることができる。したがって、非常に粘度が高く、流動性の低い流体を確実に移送することができる。
【0010】
前記第1スクリュー歯及び前記第2スクリュー歯の前記上端面からの突出量は、前記第1スクリュー歯及び前記第2スクリュー歯の直径の1/3以上であってもよい。これにより、非常に粘度が高く、流動性の低い流体を確実に移送することができる。
(【0011】以降は省略されています)
この特許をJ-PlatPat(特許庁公式サイト)で参照する
関連特許
株式会社ニクニ
液体処理装置
2か月前
株式会社ニクニ
縦型スクリューポンプ
今日
個人
海流製造装置。
2か月前
株式会社スギノマシン
圧縮機
1か月前
株式会社ツインバード
送風装置
2か月前
株式会社ツインバード
送風装置
2か月前
日機装株式会社
遠心ポンプ
1か月前
カヤバ株式会社
電動ポンプ
27日前
カヤバ株式会社
電動ポンプ
3か月前
株式会社不二越
蓄圧装置
4か月前
ビッグボーン株式会社
送風装置
3か月前
株式会社酉島製作所
ポンプ
5か月前
株式会社ノーリツ
ロータリ圧縮機
3か月前
小倉クラッチ株式会社
ルーツブロア
4か月前
株式会社不二越
ベーンポンプ
4か月前
サンデン株式会社
スクロール圧縮機
2か月前
サンデン株式会社
スクロール圧縮機
2か月前
樫山工業株式会社
真空ポンプ
1か月前
サンデン株式会社
スクロール圧縮機
2か月前
サンデン株式会社
可変容量型圧縮機
1か月前
株式会社坂製作所
スクロール圧縮機
5か月前
株式会社ノーリツ
ロータリー圧縮機
5か月前
エドワーズ株式会社
真空ポンプ
2か月前
株式会社島津製作所
真空ポンプ
3か月前
株式会社島津製作所
真空ポンプ
2か月前
株式会社チロル
送風機、送風機付衣服
3か月前
株式会社豊田自動織機
流体機械
3か月前
株式会社ニクニ
縦型スクリューポンプ
今日
株式会社アイシン
ポンプケース
2か月前
株式会社クボタ
作業機
28日前
株式会社豊田自動織機
電動圧縮機
4か月前
株式会社豊田自動織機
電動圧縮機
2か月前
株式会社豊田自動織機
電動圧縮機
2か月前
サンデン株式会社
ヘリカルコンプレッサ
1日前
株式会社豊田自動織機
電動圧縮機
2か月前
サンデン株式会社
ヘリカルコンプレッサ
1日前
続きを見る
他の特許を見る