TOP
|
特許
|
意匠
|
商標
特許ウォッチ
Twitter
他の特許を見る
公開番号
2025137267
公報種別
公開特許公報(A)
公開日
2025-09-19
出願番号
2024036376
出願日
2024-03-08
発明の名称
液体処理装置
出願人
株式会社ニクニ
代理人
個人
主分類
B01D
19/00 20060101AFI20250911BHJP(物理的または化学的方法または装置一般)
要約
【課題】メンテナンスの手間がかからない簡単な構成の装置を用いて様々な液体の脱気を行うことができる。
【解決手段】被処理液が供給される給水口を備え、被処理液が流れる流路と、記流路に設けられており、被処理液を給水口から流路に流出させるポンプと、流路の前記ポンプの上流側に設けられた脱気部と、を備えた液体処理装置である。脱気部は、被処理液が流れる筒状部を有するケーシングと、筒状部の内部に設けられた1又は複数のバッフルと、を有し、バッフルは棒状又は板状である。バッフルを含む面でケーシングを切断したときに、筒状部の内壁面で囲まれた領域に被処理液が通過する開口が形成されている。
【選択図】 図1
特許請求の範囲
【請求項1】
被処理液が供給される給水口を備え、前記被処理液が流れる流路と、
前記流路に設けられており、前記被処理液を前記給水口から前記流路に流出させるポンプと、
前記流路の前記ポンプの上流側に設けられた脱気部と、を備え、
前記脱気部は、前記被処理液が流れる筒状部を有するケーシングと、前記筒状部の内部に設けられた1又は複数のバッフルと、を有し、
前記バッフルは、棒状又は板状であり、
前記バッフルを含む面で前記ケーシングを切断したときに、前記筒状部の内壁面で囲まれた領域に前記被処理液が通過する開口が形成されている
ことを特徴とする液体処理装置。
続きを表示(約 1,100 文字)
【請求項2】
前記脱気部は、前記ケーシングの内部を減圧する真空源を有する
ことを特徴とする請求項1に記載の液体処理装置。
【請求項3】
前記ケーシングには、前記バッフルである板状部材が複数設けられており、
前記板状部材は、前記被処理液が通過する第1貫通孔が複数設けられており、
複数の前記板状部材は、複数の前記板状部材のうちの第1板状部材の前記第1貫通孔と、前記第1板状部材に隣接する第2板状部材の前記第1貫通孔が部分的に重なるように積層されている
ことを特徴とする請求項1又は2に記載の液体処理装置。
【請求項4】
前記ケーシングは、前記筒状部の一方の端を覆う第1端面を有し、
前記第1端面には、前記被処理液が通過する流入開口が形成されており、
前記第1板状部材は、前記第1端面に設けられており、前記流入開口に当接し、
前記第1板状部材及び前記第2板状部材の周縁と前記内壁面とは当接せず、
積層された複数の前記板状部材の前記第1端面に当接していない端面は、前記被処理液が通過しないように第3板状部材により覆われている
ことを特徴とする請求項3に記載の液体処理装置。
【請求項5】
前記ケーシングには、前記バッフルである邪魔板が1又は複数設けられており、
前記邪魔板は、孔が形成されておらず、
前記邪魔板と前記内壁面との間が前記開口である
ことを特徴とする請求項1又は2に記載の液体処理装置。
【請求項6】
前記ケーシングには、前記邪魔板が1枚設けられており、
前記邪魔板は、支持部材を介して前記筒状部の一方の端を覆う第1端面に設けられており、
前記邪魔板と前記第1端面とは離間している
ことを特徴とする請求項5に記載の液体処理装置。
【請求項7】
前記ケーシングには、前記邪魔板が複数設けられており、
前記邪魔板は、前記内壁面に設けられており、
複数の前記邪魔板は、前記筒状部の中心線と直交する任意の面である第1面上に設けられている、及び/又は、前記中心線と直交する任意の面であって、前記第1面とは異なる第2面上及び前記第1面上に設けられている
ことを特徴とする請求項5に記載の液体処理装置。
【請求項8】
前記ケーシングには、前記バッフルである邪魔板が1又は複数設けられており、
前記邪魔板には、前記被処理液が通過する開口が設けられている
ことを特徴とする請求項1又は2に記載の液体処理装置。
発明の詳細な説明
【技術分野】
【0001】
本発明は、液体処理装置に関する。
続きを表示(約 1,700 文字)
【背景技術】
【0002】
特許文献1には、非不動態化金属体の腐食を引き起こす腐食促進成分を捕捉するとともに、腐食の抑制に寄与する腐食抑制成分を透過する濾過処理部と、給水を濾過処理部へ供給するポンプと、濾過処理部からの透過水の流量を検知する流量センサと、ポンプの回転数を出力周波数に応じて可変させるインバータと、流量センサからの流量検知信号に基づいて、インバータへ指令信号を出力する制御部とを備える水質改善システムが開示されている。
【0003】
特許文献2には、真空負圧にした脱気タンクとその下流に貯水タンクを配し、原水を脱気タンクに送りながら壁面に噴流衝突脱気した後の脱気水をオリフィスを通して脱気しながら貯水タンクに移送される脱気水に大気から混入する揮発性気体を除去する貯水タンク側のオリフィスにより再脱気して貯水する脱気水の連続製造と供給する脱気水の連続製造供給装置が開示されている。
【先行技術文献】
【特許文献】
【0004】
特開2005-296944号公報
特開2008-86984号公報
【発明の概要】
【発明が解決しようとする課題】
【0005】
特許文献1には、濾過処理部の下流側に設けた溶存気体除去処理部で給水に含まれる溶存気体を除去することが開示されており、この溶存気体除去処理部は、中空糸状の気体濾過膜を筒状のハウジング内に収容した脱気モジュールを用いている。しかしながら、特許文献1に記載の発明では、中空糸状の気体濾過膜(中空糸膜)が必要とされるため、定期的な交換が必要となる。また、中空糸膜を用いる場合には、糖分を含む液体(例えば、ジュース)や粘度が高い液体(例えば、インキ、マヨネーズ)等の脱気を行うことはできない。仮に、中空糸膜を用いた脱気が可能な液体であったとしても、液体の種類や使用環境によっては交換サイクルが短くなり、多大なランニングコストがかかってしまう。
【0006】
特許文献2に記載の発明は、所定の真空負圧環境に達している脱気タンク内に高圧送水された被処理水をノズルから高速で噴射して被処理水を脱気タンク内壁面に衝突させることで、被処理水中の気体が真空負圧環境で急激に膨張して被処理水から分離される、すなわち脱気水が製造される。しかしながら、特許文献2に記載の発明では、被処理水を噴霧するための空間が必要となるため、脱気タンクが大型化してしまう。また、特許文献2に記載の発明では、噴霧するためのノズル、高圧送水するための圧送ポンプ等が必要であり、装置が複雑化してしまう。
【0007】
本発明はこのような事情に鑑みてなされたもので、メンテナンスの手間がかからない簡単な構成の装置を用いて、様々な液体の脱気を行うことができる液体処理装置を提供することを目的とする。
【課題を解決するための手段】
【0008】
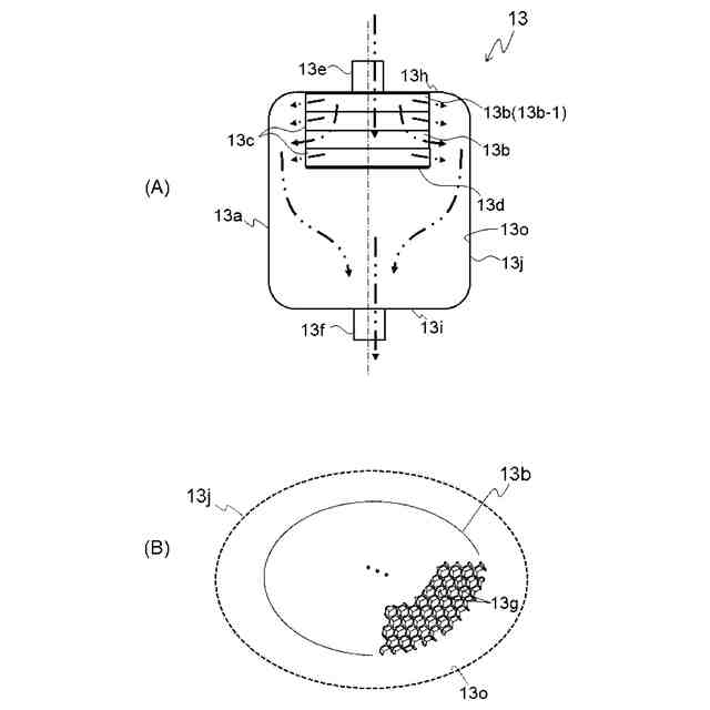
上記課題を解決するために、本発明に係る液体処理装置は、例えば、被処理液が供給される給水口を備え、前記被処理液が流れる流路と、前記流路に設けられており、前記被処理液を前記給水口から前記流路に流出させるポンプと、前記流路の前記ポンプの上流側に設けられた脱気部と、を備え、前記脱気部は、前記被処理液が流れる筒状部を有するケーシングと、前記筒状部の内部に設けられた1又は複数のバッフルと、を有し、前記バッフルは、棒状又は板状であり、前記バッフルを含む面で前記ケーシングを切断したときに、前記筒状部の内壁面で囲まれた領域に前記被処理液が通過する開口が形成されていることを特徴とする。
【0009】
本発明に係る液体処理装置によれば、被処理液が流れる筒状部を有するケーシングと、筒状部の内部に設けられた1又は複数のバッフルと、を有する脱気部を備える。したがって、メンテナンスの手間がかからない簡単な構成の装置を用いて様々な液体の脱気を行うことができる。
【0010】
前記脱気部は、前記ケーシングの内部を減圧する真空源を有してもよい。これにより、より効率よく脱気することができる。
(【0011】以降は省略されています)
この特許をJ-PlatPat(特許庁公式サイト)で参照する
関連特許
株式会社西部技研
除湿装置
19日前
株式会社日本触媒
ドロー溶質
13日前
サンノプコ株式会社
消泡剤
11日前
東レ株式会社
遠心ポッティング方法
5日前
大和ハウス工業株式会社
反応装置
26日前
個人
気液混合装置
11日前
松岡紙業 株式会社
油吸着体の製造方法
13日前
株式会社フクハラ
圧縮空気圧回路ユニット
11日前
富士電機株式会社
ガス処理システム
8日前
株式会社明電舎
成膜装置
8日前
日本化薬株式会社
直鎖ブテン製造用触媒及びその使用
5日前
ノリタケ株式会社
触媒材料およびその利用
26日前
ノリタケ株式会社
触媒材料およびその利用
26日前
本田技研工業株式会社
二酸化炭素回収装置
21日前
本田技研工業株式会社
二酸化炭素回収装置
26日前
本田技研工業株式会社
二酸化炭素回収装置
26日前
本田技研工業株式会社
二酸化炭素回収装置
26日前
本田技研工業株式会社
二酸化炭素回収装置
26日前
ノリタケ株式会社
触媒材料およびその利用
26日前
東京応化工業株式会社
ろ過処理方法、及び多孔質膜
26日前
個人
フッ化炭素糸物にフッ素をコーティングした浄水手段
11日前
いであ株式会社
PFAS除去用バイオ炭の製造方法
今日
三浦工業株式会社
撹拌装置
8日前
日本碍子株式会社
電気加熱式担体
26日前
TPR株式会社
多孔質ブリーザ
26日前
JFEエンジニアリング株式会社
二酸化炭素回収方法
11日前
日本碍子株式会社
電気加熱式担体
25日前
大阪瓦斯株式会社
二酸化炭素回収システム
25日前
みづほ工業株式会社
撹拌装置、及び撹拌羽根取付け方法
14日前
パナソニックIPマネジメント株式会社
除湿装置
18日前
パナソニックIPマネジメント株式会社
除湿装置
18日前
パナソニックIPマネジメント株式会社
除湿装置
18日前
パナソニックIPマネジメント株式会社
除湿装置
27日前
大阪瓦斯株式会社
二酸化炭素回収システム
25日前
パナソニックIPマネジメント株式会社
除湿装置
26日前
三菱ケミカル株式会社
精製ガスの製造方法
25日前
続きを見る
他の特許を見る