TOP
|
特許
|
意匠
|
商標
特許ウォッチ
Twitter
他の特許を見る
公開番号
2025158857
公報種別
公開特許公報(A)
公開日
2025-10-17
出願番号
2024061793
出願日
2024-04-05
発明の名称
除湿装置
出願人
パナソニックIPマネジメント株式会社
代理人
個人
,
個人
主分類
B01D
53/26 20060101AFI20251009BHJP(物理的または化学的方法または装置一般)
要約
【課題】除湿能力を改善可能な除湿装置を提供する。
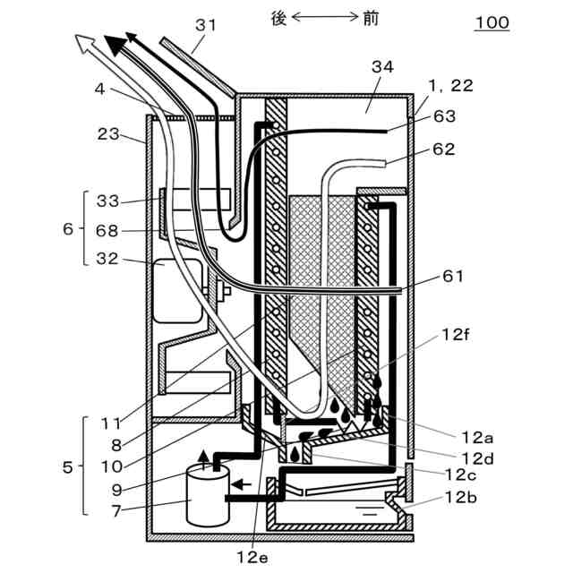
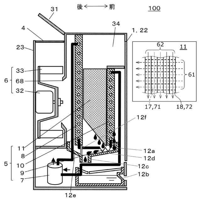
【解決手段】除湿装置100は、空気吸込口2と空気吹出口を有する本体ケース1を備える。本体ケース1には、吸熱器10、熱交換器11、放熱器8および送風機6が配置される。除湿装置100は、送風機6の作用により空気吸込口から本体ケース1内に吸い込まれた第1部分を、吸熱器10、熱交換器11の第1通路および放熱器8を介して空気吹出口4から本体ケース1外に吹き出す第1除湿経路と、第2部分を、熱交換器11の第2通路および放熱器8を介して空気吹出口4から本体ケース1外に吹き出す第2除湿経路と、第3部分を、吸熱器10および熱交換器11を介さずに、放熱器8を介して空気吹出口4から本体ケース1外に吹き出すバイパス風路と、を有し、結露水を集積する集水部12aに排水口12cを設け、その排水口12cは放熱器8の下方に配置する。
【選択図】図4
特許請求の範囲
【請求項1】
空気吸込口と空気吹出口を有する本体ケースを備え、
前記本体ケースには、吸熱器、熱交換器、放熱器および送風機が配置され、
前記送風機の作用により前記空気吸込口から前記本体ケース内に吸い込まれた吸込空気の第1部分を、前記吸熱器、前記熱交換器の第1通路および前記放熱器を介して前記空気吹出口から前記本体ケース外に吹き出す第1除湿経路と、
前記吸込空気の第2部分を、前記熱交換器の第2通路および前記放熱器を介して前記空気吹出口から前記本体ケース外に吹き出す第2除湿経路と、を有し、
前記吸熱器と前記熱交換器と前記放熱器とは、前記吸熱器、前記熱交換器、前記放熱器、の順に横方向に並んで設けられ、
吸熱器と熱交換器と放熱器8の下方には、結露水を集積する漏斗状の集水部を配置し、
前記集水部の下方には、結露水を貯水する集水タンクを設け、
前記集水部に滴下した結露水は、前記集水部の排水口を介して前記集水タンクに流れ、
前記排水口は、前記放熱器の下方に配置される除湿装置。
続きを表示(約 82 文字)
【請求項2】
前記放熱器と前記集水部との間には、前記集水部から上方へ延び、前記放熱器の下端に近接、または接する堰を設けた請求項1に記載の除湿装置。
発明の詳細な説明
【技術分野】
【0001】
本開示は、除湿装置に関する。
続きを表示(約 1,400 文字)
【背景技術】
【0002】
居住空間に用いられ、居住空間等の湿度を低下させる除湿装置が知られている。例えば、特許文献1には、圧縮機と放熱器と膨張器と吸熱器とを順次環状に連結した冷凍サイクルにより構成した除湿部を備える除湿装置が記載されている。
【先行技術文献】
【特許文献】
【0003】
特開2020-116580号公報
【発明の概要】
【発明が解決しようとする課題】
【0004】
特許文献1に記載の装置は、結露した水がドレンパンに集積され排水口より排水されるが、水の流れと第2風路の風向きが逆向きになる部分があり、円滑に排水できないため、除湿能力が低下する可能性がある。
【0005】
本開示は、上記課題を解決するためになされたものであり、円滑な排水により除湿能力の低下を抑制を改善可能な除湿装置を提供することを目的とする。
【課題を解決するための手段】
【0006】
上記課題を解決するために、本開示のある態様の除湿装置は、空気吸込口と空気吹出口を有する本体ケースを備え、本体ケースには、吸熱器、熱交換器、放熱器および送風機が配置され、送風機の作用により空気吸込口から本体ケース内に吸い込まれた吸込空気の第1部分を、吸熱器、熱交換器の第1通路および放熱器を介して空気吹出口から本体ケース外に吹き出す第1除湿経路と、吸込空気の第2部分を、熱交換器の第2通路および放熱器を介して空気吹出口から本体ケース外に吹き出す第2除湿経路と、吸込空気の第3部分を、吸熱器および熱交換器を介さずに、放熱器の特定部分を介して空気吹出口から本体ケース外に吹き出すバイパス風路と、を有し、集水部の排水口を放熱器の下に配置する。
【0007】
なお、以上の構成要素の任意の組合せ、本開示の表現を方法、装置、システム、記録媒体、コンピュータプログラムなどの間で変換したものもまた、本開示の態様として有効である。
【発明の効果】
【0008】
本開示によれば、円滑な排水により除湿能力を改善可能な除湿装置を提供できる。
【図面の簡単な説明】
【0009】
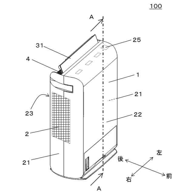
本開示の実施例に係る除湿装置を模式的に示す斜視図
同除湿装置を模式的に示す側断面図
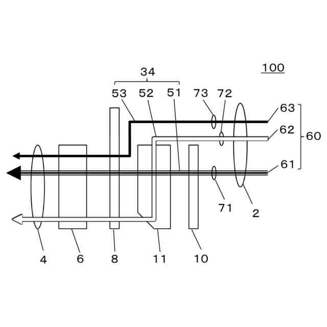
同除湿装置の空気通路を模式的に示す図
同除湿装置の空気の流れを模式的に示す図
【発明を実施するための形態】
【0010】
以下、本開示を実施するための形態について添付図面を参照して説明する。以下に説明する実施例は、いずれも本開示の好ましい一具体例を示す。よって、以下の実施例で示さ
れる、数値、形状、材料、構成要素、構成要素の配置位置及び接続形態、並びに、ステップ(工程)及びステップの順序などは、一例であって本開示を限定する主旨ではない。したがって、以下の実施例における構成要素のうち、本開示の最上位概念を示す独立請求項に記載されていない構成要素については、任意の構成要素として説明される。また、各図において、実質的に同一の構成に対しては同一の符号を付しており、重複する説明は省略又は簡略化する。
(【0011】以降は省略されています)
この特許をJ-PlatPat(特許庁公式サイト)で参照する
関連特許
株式会社西部技研
除湿装置
3日前
ユニチカ株式会社
複合中空糸膜
17日前
東レ株式会社
中空糸膜モジュール
16日前
株式会社ニクニ
液体処理装置
1か月前
日本化薬株式会社
メタノール改質触媒
1か月前
株式会社MRT
微細バブル発生装置
20日前
東京理化器械株式会社
クリップ
24日前
株式会社笹山工業所
濁水処理システム
20日前
個人
攪拌装置
20日前
大和ハウス工業株式会社
反応装置
10日前
ヤマシンフィルタ株式会社
フィルタ装置
18日前
ノリタケ株式会社
ガス吸収シート
1か月前
本田技研工業株式会社
ガス回収装置
12日前
大陽日酸株式会社
CO2の回収方法
12日前
杉山重工株式会社
回転円筒型反応装置
20日前
本田技研工業株式会社
二酸化炭素回収装置
18日前
本田技研工業株式会社
二酸化炭素回収装置
10日前
ノリタケ株式会社
触媒材料およびその利用
10日前
本田技研工業株式会社
二酸化炭素回収装置
10日前
本田技研工業株式会社
二酸化炭素回収装置
12日前
本田技研工業株式会社
二酸化炭素回収装置
5日前
株式会社インパクト
消臭剤又は消臭紙の製造方法
23日前
ノリタケ株式会社
触媒材料およびその利用
10日前
本田技研工業株式会社
二酸化炭素回収装置
10日前
本田技研工業株式会社
二酸化炭素回収装置
18日前
本田技研工業株式会社
二酸化炭素回収装置
16日前
本田技研工業株式会社
分離システム
20日前
本田技研工業株式会社
二酸化炭素回収装置
10日前
本田技研工業株式会社
二酸化炭素回収装置
18日前
ノリタケ株式会社
触媒材料およびその利用
10日前
Planet Savers株式会社
気体濃縮装置
12日前
東京応化工業株式会社
ろ過処理方法、及び多孔質膜
10日前
株式会社プロテリアル
触媒複合物および触媒前駆体複合物
11日前
日東電工株式会社
吸着材
16日前
セイコーエプソン株式会社
気体分離膜
20日前
TPR株式会社
多孔質ブリーザ
10日前
続きを見る
他の特許を見る