TOP
|
特許
|
意匠
|
商標
特許ウォッチ
Twitter
他の特許を見る
10個以上の画像は省略されています。
公開番号
2025142929
公報種別
公開特許公報(A)
公開日
2025-10-01
出願番号
2024042555
出願日
2024-03-18
発明の名称
二酸化炭素回収装置
出願人
本田技研工業株式会社
代理人
個人
,
個人
主分類
B01D
53/047 20060101AFI20250924BHJP(物理的または化学的方法または装置一般)
要約
【課題】ヒートポンプ式の熱源器の熱制御によって脱離工程及び吸着工程を行う二酸化炭素回収装置において、外気が低温の場合であっても速やかに起動できる構成を提供すること。
【解決手段】二酸化炭素回収装置1の熱交換装置70は、温水を加熱するとともに冷水を冷却するヒートポンプ式の熱源器81と、熱源器81で加熱された温水を貯留する温水タンク83を含み、当該温水タンク83と熱源器81の間で温水を循環させる熱源高温水回路85と、熱源器81で冷却された冷水を貯留する冷水タンク82を含み、当該冷水タンク82と熱源器81の間で冷水を循環させる熱源低温水回路86と、熱源高温水回路85と熱源低温水回路86を接続する温水供給ライン96と、熱源高温水回路85から熱源低温水回路86への温水の供給を制御する制御装置90と、を有する。
【選択図】図5
特許請求の範囲
【請求項1】
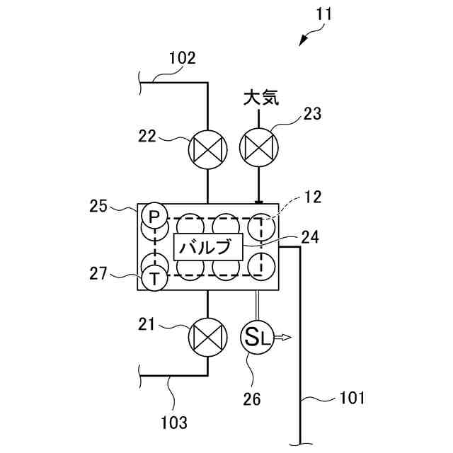
吸着材を内部に有し、前記吸着材に対して二酸化炭素を含む気体を吸引して前記二酸化炭素を吸着させる吸着工程と、前記吸着材の周囲を減圧した状態で加熱することにより当該吸着材から前記二酸化炭素を脱離する脱離工程と、を実行するモジュールと、
前記モジュールに対して加熱用熱媒体を供給して加熱する加熱用熱媒体ライン及び冷却用熱媒体を供給して冷却する冷却用熱媒体ラインを有する熱交換装置と、
を備え、
前記熱交換装置は、
前記加熱用熱媒体を加熱するとともに前記冷却用熱媒体を冷却するヒートポンプ式の熱源器と、
前記熱源器で加熱された前記加熱用熱媒体を貯留する加熱用熱媒体タンクを含み、当該加熱用熱媒体タンクと前記熱源器の間で前記加熱用熱媒体を循環させる熱源高温水回路と、
前記熱源器で冷却された前記冷却用熱媒体を貯留する冷却用熱媒体タンクを含み、当該冷却用熱媒体タンクと前記熱源器の間で前記冷却用熱媒体を循環させる熱源低温水回路と、
前記熱源高温水回路と前記熱源低温水回路を接続する加熱用熱媒体供給ラインと、
前記熱源高温水回路から前記熱源低温水回路への前記加熱用熱媒体の供給を制御する制御装置と、
を有する、
二酸化炭素回収装置。
続きを表示(約 610 文字)
【請求項2】
前記制御装置は、
前記熱源器に流入する冷却用熱媒体入口温度が当該冷却用熱媒体に設定される起動可能温度を越えていない場合に、前記加熱用熱媒体供給ラインを通じて前記加熱用熱媒体を前記熱源低温水回路に供給する制御を行う、
請求項1に記載の二酸化炭素回収装置。
【請求項3】
前記熱交換装置は、
前記熱源低温水回路に配置される熱媒体加熱装置を更に有し、
前記制御装置は、
前記熱源器に流入する加熱用熱媒体入口温度が当該加熱用熱媒体に設定される起動可能温度を越えていない場合に、前記熱媒体加熱装置による加熱を開始する制御を行う、
請求項2に記載の二酸化炭素回収装置。
【請求項4】
前記加熱用熱媒体供給ラインは、
一側の端部が前記加熱用熱媒体タンクに接続されるとともに、他側の端部が前記冷却用熱媒体タンクから前記熱源器に前記冷却用熱媒体を送る流路に接続される、
請求項1から3の何れかに記載の二酸化炭素回収装置。
【請求項5】
前記加熱用熱媒体供給ラインは、
一側の端部が前記加熱用熱媒体タンクに接続されるとともに、他側の端部が前記冷却用熱媒体タンクから前記熱源器に前記冷却用熱媒体を送る流路における前記熱媒体加熱装置の上流側に接続される、
請求項3に記載の二酸化炭素回収装置。
発明の詳細な説明
【技術分野】
【0001】
本発明は、二酸化炭素回収装置に関する。
続きを表示(約 1,900 文字)
【背景技術】
【0002】
従来、気体から所定の成分を抽出する技術において、起動時に電気ヒータ等の加熱装置を用いて昇温する技術が知られている。この種の技術が記載されるものとして例えば特許文献1がある。特許文献1には、脱硫反応器の起動において、電気ヒータにより脱硫触媒層の温度を昇温する技術が記載されている。
【先行技術文献】
【特許文献】
【0003】
特開平5-147903号公報
【発明の概要】
【発明が解決しようとする課題】
【0004】
ところで、吸着材を保持するモジュールに対し、二酸化炭素を含む空気等の気体を吸引して吸着材に吸着させ、吸着材を減圧加熱して吸着した二酸化炭素を脱離して二酸化炭素の回収を行う二酸化炭素回収装置においてヒートポンプ等の熱源器が利用されている。
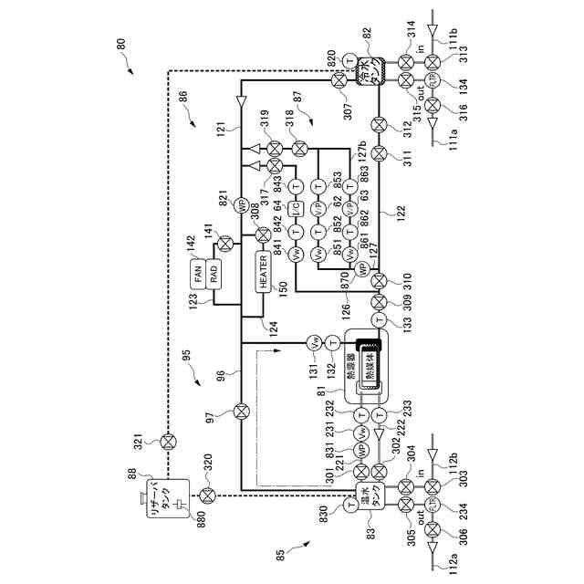
【0005】
水を熱媒体とするヒートポンプ式の熱源器では、流入する冷水の温度が所定温度(例えば、9℃)以下の場合、そのまま起動することはできない。例えば、外気が低温で配管内の冷水温度が低い状態では、冷水を循環させるポンプ自身の排熱等により、冷水入口温度を所定以上に昇温してから起動する必要がある。従来技術には、外気温が低い場合における起動時間の短縮化という点で改善の余地があった。
【0006】
本発明は、ヒートポンプ式の熱源器の熱制御によって脱離工程及び吸着工程を行う二酸化炭素回収装置において、外気が低温の場合であっても速やかに起動できる構成を提供することを目的とする。
【課題を解決するための手段】
【0007】
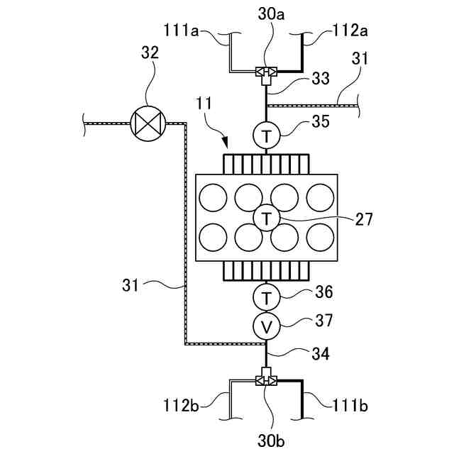
(1)本発明は、吸着材(例えば、後述する吸着材12)を内部に有し、前記吸着材に対して二酸化炭素を含む気体を吸引して前記二酸化炭素を吸着させる吸着工程と、前記吸着材の周囲を減圧した状態で加熱することにより当該吸着材から前記二酸化炭素を脱離する脱離工程と、を実行するモジュール(例えば、後述するモジュール11)と、前記モジュールに対して加熱用熱媒体(例えば、後述する温水)を供給して加熱する加熱用熱媒体ライン(例えば、後述する温水ライン112)及び冷却用熱媒体(例えば、後述する冷水)を供給して冷却する冷却用熱媒体ライン(例えば、後述する冷水ライン111)を有する熱交換装置(例えば、後述する熱交換装置70)と、を備え、前記熱交換装置は、前記加熱用熱媒体を加熱するとともに前記冷却用熱媒体を冷却するヒートポンプ式の熱源器(例えば、後述する熱源器81)と、前記熱源器で加熱された前記加熱用熱媒体を貯留する加熱用熱媒体タンク(例えば、後述する温水タンク83)を含み、当該加熱用熱媒体タンクと前記熱源器の間で前記加熱用熱媒体を循環させる熱源高温水回路(例えば、後述する熱源高温水回路85)と、前記熱源器で冷却された前記冷却用熱媒体を貯留する冷却用熱媒体タンク(例えば、後述する冷水タンク82)を含み、当該冷却用熱媒体タンクと前記熱源器の間で前記冷却用熱媒体を循環させる熱源低温水回路(例えば、後述する熱源低温水回路86)と、前記熱源高温水回路と前記熱源低温水回路を接続する加熱用熱媒体供給ライン(例えば、後述する温水供給ライン96、95a)と、前記熱源高温水回路から前記熱源低温水回路への前記加熱用熱媒体の供給を制御する制御装置(例えば、後述する制御装置90)と、を有する、(例えば、後述する二酸化炭素回収装置1)である。
【0008】
(2)上記(1)に記載の二酸化炭素回収装置において、前記制御装置は、前記熱源器に流入する冷却用熱媒体入口温度が当該冷却用熱媒体に設定される起動可能温度を越えていない場合に、前記加熱用熱媒体供給ラインを通じて前記加熱用熱媒体を前記熱源低温水回路に供給する制御を行ってもよい。
【0009】
(3)上記(2)に記載の二酸化炭素回収装置において、前記熱交換装置は、前記熱源低温水回路に配置される熱媒体加熱装置(例えば、後述するヒータ150)を更に有し、前記制御装置は、前記熱源器に流入する加熱用熱媒体入口温度が当該加熱用熱媒体に設定される起動可能温度を越えていない場合に、前記熱媒体加熱装置による加熱を開始する制御を行ってもよい。
【0010】
(4)上記(1)~(3)の何れかに記載の二酸化炭素回収装置において、前記加熱用熱媒体供給ラインは、一側の端部が前記加熱用熱媒体タンクに接続されるとともに、他側の端部が前記冷却用熱媒体タンクから前記熱源器に前記冷却用熱媒体を送る流路(例えば、後述する冷水側熱源往ライン121)に接続されてもよい。
(【0011】以降は省略されています)
この特許をJ-PlatPat(特許庁公式サイト)で参照する
関連特許
東レ株式会社
複合半透膜
1か月前
ユニチカ株式会社
複合中空糸膜
1日前
東レ株式会社
中空糸膜モジュール
今日
株式会社ニクニ
液体処理装置
14日前
日本化薬株式会社
メタノール改質触媒
15日前
株式会社大善
濃縮脱水機
24日前
三機工業株式会社
ろ過装置
1か月前
株式会社フクハラ
圧縮空気圧回路
1か月前
株式会社カネカ
濃縮システム
1か月前
株式会社カネカ
製造システム
1か月前
株式会社MRT
微細バブル発生装置
4日前
テルモ株式会社
ろ過デバイス
25日前
株式会社切川物産
撹拌混合装置
28日前
東京理化器械株式会社
クリップ
8日前
個人
攪拌装置
4日前
株式会社Tornada
気泡発生装置
1か月前
株式会社笹山工業所
濁水処理システム
4日前
日本ソリッド株式会社
水中懸濁物質付着素材
23日前
ヤマシンフィルタ株式会社
フィルタ装置
22日前
ヤマシンフィルタ株式会社
フィルタ装置
2日前
ノリタケ株式会社
ガス吸収シート
15日前
ダイハツ工業株式会社
二酸化炭素分解装置
23日前
浙江漢信科技有限公司
攪拌装置
29日前
株式会社福島県南環境衛生センター
処理装置
1か月前
株式会社キャタラー
カーボン担体材料
1か月前
杉山重工株式会社
回転円筒型反応装置
4日前
中外炉工業株式会社
ガス発生装置及び窒化装置
24日前
東レ株式会社
多孔中実繊維、繊維束および浄化カラム
23日前
本田技研工業株式会社
二酸化炭素回収装置
2日前
本田技研工業株式会社
二酸化炭素回収装置
2日前
株式会社インパクト
消臭剤又は消臭紙の製造方法
7日前
本田技研工業株式会社
二酸化炭素回収装置
2日前
本田技研工業株式会社
分離システム
4日前
本田技研工業株式会社
二酸化炭素回収装置
今日
靜甲株式会社
高圧損発生ユニット並びに充填装置
22日前
個人
生分解性蓄熱マイクロカプセルおよびその製造方法
23日前
続きを見る
他の特許を見る