TOP
|
特許
|
意匠
|
商標
特許ウォッチ
Twitter
他の特許を見る
公開番号
2025152047
公報種別
公開特許公報(A)
公開日
2025-10-09
出願番号
2024053755
出願日
2024-03-28
発明の名称
エンジン
出願人
本田技研工業株式会社
代理人
弁理士法人クシブチ国際特許事務所
主分類
F02B
77/00 20060101AFI20251002BHJP(燃焼機関;熱ガスまたは燃焼生成物を利用する機関設備)
要約
【課題】エンジン前方以外の部位でもバランサーをコンパクトに配置でき、エンジンをコンパクト化すること。
【解決手段】エンジン側方にカムチェーン67,68が設けられ、カムチェーン67,68を駆動するカムチェーンドライブスプロケット65,66は、エンジン側方に、同軸に配置されたカムチェーンドライブギア64で駆動され、カムチェーンドライブギア64は、アイドラー被駆動ギア63によって駆動され、アイドラー被駆動ギア63は、クランク軸10に設けられた所定のギア61と噛み合うアイドラー駆動ギア62によって駆動されるエンジンにおいて、アイドラー駆動ギア62と同軸にバランサー80が配置される。
【選択図】図1
特許請求の範囲
【請求項1】
エンジン側方にカムチェーン(67,68)が設けられ、前記カムチェーン(67,68)を駆動するカムチェーンドライブスプロケット(65,66)は、エンジン側方に、同軸に配置されたカムチェーンドライブギア(64)で駆動され、前記カムチェーンドライブギア(64)は、アイドラー被駆動ギア(63)によって駆動され、前記アイドラー被駆動ギア(63)は、クランク軸(10)に設けられた所定のギア(61)と噛み合うアイドラー駆動ギア(62)によって駆動されるエンジンにおいて、
前記アイドラー駆動ギア(62)と同軸にバランサー(80)が配置される
エンジン。
続きを表示(約 750 文字)
【請求項2】
前記アイドラー被駆動ギア(63)と前記アイドラー駆動ギア(62)は、同期して回転するとともに、前記アイドラー駆動ギア(62)と前記アイドラー被駆動ギア(63)を支持するアイドラーギア支持軸(31)とは相対回転し、
前記バランサー(80)は、前記アイドラーギア支持軸(31)とは相対回転するとともに、前記アイドラー駆動ギア(62)と異なる回転数で回転する
請求項1に記載のエンジン。
【請求項3】
前記クランク軸(10)に設けられたバランサードライブギア(71)によって駆動されるバランサー被駆動ギア(72)を有し、
前記バランサー(80)は、前記バランサー被駆動ギア(72)に一体に設けられる
請求項1に記載のエンジン。
【請求項4】
前記バランサー(80)は、前記アイドラー駆動ギア(62)に対し、エンジン外側に配置される
請求項2に記載のエンジン。
【請求項5】
前記クランク軸(10)からの動力伝達を遮断するクラッチ機構(51)を備え、
前記クランク軸(10)の軸心と前記クラッチ機構(51)の軸心とを平面で切断した断面視で、前記バランサー(80)は、前記クラッチ機構(51)と前記クランク軸(10)方向に直交する方向に重なる
請求項2に記載のエンジン。
【請求項6】
前記アイドラー被駆動ギア(63)は、前記クランク軸(10)に設けられたプライマリドライブギア(41)よりもエンジン外側に配置され、
前記バランサー被駆動ギア(72)は、前記アイドラー被駆動ギア(63)よりもエンジン外側に配置される
請求項3に記載のエンジン。
発明の詳細な説明
【技術分野】
【0001】
本発明は、エンジンに関する。
続きを表示(約 2,000 文字)
【背景技術】
【0002】
振動を抑えるバランサを備えた内燃機関からなるエンジンが知られている。この種のエンジンには、前側バランサシャフトの一方の端部に、ウォータポンプシャフトをはめ込んで固定した構成がある(例えば、特許文献1参照)。
【先行技術文献】
【特許文献】
【0003】
特開2009-162202号公報
【発明の概要】
【発明が解決しようとする課題】
【0004】
バランサーを配置するにあたっては、駆動源を同一として同軸に駆動される補機を備えている場合があるが、エンジン前方の自由度の高い部位以外でバランサーをコンパクトに配置することは困難を伴う。
本発明は、上述した事情に鑑みてなされたものであり、エンジン前方以外の部位でもバランサーをコンパクトに配置でき、エンジンをコンパクト化することを目的とする。
【課題を解決するための手段】
【0005】
エンジン側方にカムチェーンが設けられ、前記カムチェーンを駆動するカムチェーンドライブスプロケットは、エンジン側方に、同軸に配置されたカムチェーンドライブギア(64)で駆動され、前記カムチェーンドライブギアは、アイドラー被駆動ギアによって駆動され、前記アイドラー被駆動ギアは、クランク軸に設けられた所定のギアと噛み合うアイドラー駆動ギアによって駆動されるエンジンにおいて、前記アイドラー駆動ギアと同軸にバランサーが配置されるエンジンを提供する。
【発明の効果】
【0006】
本発明によれば、エンジン前方以外の部位でもバランサーをコンパクトに配置でき、エンジンをコンパクト化することができる。
【図面の簡単な説明】
【0007】
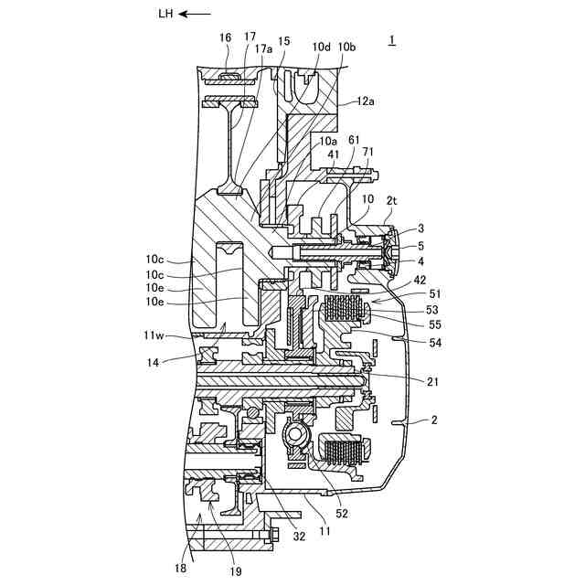
本発明の実施形態に係るエンジンの斜視図である。
エンジンをクランク軸、メイン軸及び前気筒を通る面で切断した断面図である。
アイドラーギア支持軸及びカムチェーン駆動軸の周辺構造を示す図である。
クランク軸の断面をアイドラーギア支持軸等と共に示す斜視図である。
アイドラーギア支持軸の断面をクランク軸等と共に示す斜視図である。
アイドラーギア支持軸を周辺構成と共に示す斜視図である。
カムチェーン駆動軸を周辺構成と共に示す図である。
【発明を実施するための形態】
【0008】
以下、図面を参照して本発明の実施の形態について説明する。なお、説明中、前後左右および上下といった方向の記載は、特に記載がなければ車体に対する方向と同一とする。また、各図に示す符号FRは車体前方を示し、符号UPは車体上方を示し、符号LHは車体左方を示す。
【0009】
[実施の形態]
図1は、本発明の実施形態に係るエンジン1の斜視図である。図1に示すエンジン1は、このエンジン1を右側から覆うクランクケースカバー2を取り外した状態を示している。
エンジン1は、自動二輪車に搭載されるV型エンジンであり、内燃機関、及びパワーユニットということもできる。エンジン1は、クランク軸10を回転自在に支持するクランクケース11と、クランクケース11の上部から前傾して前上方に延びる前気筒(第1バンクとも称される)のシリンダ12Fと、クランクケース11の上部から後傾して後上方に延びる後気筒(第2バンクとも称される)のシリンダ12Rと、を備える。
各シリンダ12F,12Rは、シリンダブロック12aと、シリンダブロック12aの上面に連結されるシリンダヘッド12bと、シリンダヘッド12bの上面を塞ぐ不図示のヘッドカバーを備え、シリンダヘッド12bとヘッドカバーの間に動弁機構13が配置される。
【0010】
クランクケース11は、クランク軸10及び周辺構造を支持する中空ケースに形成され、左右分割式である。但し、クランクケース11は、エンジン1の仕様等に応じて適宜に形状や構造を変更してもよい。
クランクケース11には、車幅方向に沿わせてクランク軸10が回転自在に支持される。また、クランクケース11には、クランク軸10の後下方に、メイン軸21が回転自在に支持され、クランク軸12及びメイン軸21よりも下方にカウンタ軸22が回転自在に支持される。さらに、クランクケース11には、クランク軸10の後上方、かつクランクケース11右側に、アイドラーギア支持軸31が回転自在に支持され、アイドラーギア支持軸31の上方、かつクランクケース11右側に、カムチェーン駆動軸32が回転自在に支持される。クランク軸10、メイン軸21、カウンタ軸22、アイドラーギア支持軸31、及びカムチェーン駆動軸32は互いに平行である。
(【0011】以降は省略されています)
この特許をJ-PlatPat(特許庁公式サイト)で参照する
関連特許
本田技研工業株式会社
車両
27日前
本田技研工業株式会社
車両
20日前
本田技研工業株式会社
固体電池
23日前
本田技研工業株式会社
触媒装置
23日前
本田技研工業株式会社
二次電池
23日前
本田技研工業株式会社
電動船外機
23日前
本田技研工業株式会社
鞍乗型車両
27日前
本田技研工業株式会社
全固体電池
23日前
本田技研工業株式会社
電極積層体
27日前
本田技研工業株式会社
全固体電池
23日前
本田技研工業株式会社
燃料電池装置
27日前
本田技研工業株式会社
始動制御装置
27日前
本田技研工業株式会社
電池モジュール
23日前
本田技研工業株式会社
差圧式電解装置
14日前
本田技研工業株式会社
電池モジュール
23日前
本田技研工業株式会社
バッテリシステム
23日前
本田技研工業株式会社
バッテリシステム
23日前
本田技研工業株式会社
スポット溶接方法
今日
本田技研工業株式会社
回転電機のロータ
13日前
本田技研工業株式会社
電動無段変速装置
16日前
本田技研工業株式会社
駆動装置ユニット
17日前
本田技研工業株式会社
固体電池の製造方法
23日前
本田技研工業株式会社
固体電池の製造方法
23日前
本田技研工業株式会社
固体電池の製造方法
23日前
本田技研工業株式会社
固体電池の製造方法
23日前
本田技研工業株式会社
再生正極の製造方法
23日前
本田技研工業株式会社
可変ファンネル装置
27日前
本田技研工業株式会社
二酸化炭素回収装置
23日前
本田技研工業株式会社
バスバークランプ装置
27日前
本田技研工業株式会社
全固体電池の製造方法
27日前
本田技研工業株式会社
能動型振動騒音制御装置
27日前
本田技研工業株式会社
能動型振動騒音制御装置
27日前
本田技研工業株式会社
燃料電池のマニホルド構造
27日前
本田技研工業株式会社
給電システムおよび給電方法
22日前
本田技研工業株式会社
制御装置、および、制御方法
今日
本田技研工業株式会社
電気化学式水素昇圧システム
23日前
続きを見る
他の特許を見る