TOP
|
特許
|
意匠
|
商標
特許ウォッチ
Twitter
他の特許を見る
10個以上の画像は省略されています。
公開番号
2025155026
公報種別
公開特許公報(A)
公開日
2025-10-14
出願番号
2024058340
出願日
2024-03-30
発明の名称
二次電池
出願人
本田技研工業株式会社
代理人
個人
,
個人
主分類
H01M
50/533 20210101AFI20251003BHJP(基本的電気素子)
要約
【課題】充放電による厚みの変化が大きい負極層を用いても、体積あたりのエネルギー密度を高くでき、信頼性が高い二次電池を提供すること。
【解決手段】複数個の正極集電体のそれぞれから引き出された複数個の正極集電体延長部の端部は、電極積層体の積層方向の中央で積層された正極集電体延長部積層体を形成し、正極タブリードは、前記正極集電体延長部積層体を、前記正極集電体延長部積層体の積層方向の両端側から挟持する挟持部を有し、負極集電体のそれぞれから引き出された負極集電体延長部の端部は、電極積層体の積層方向の中央で積層された負極集電体延長部積層体を形成し、負極タブリードは、前記負極集電体延長部積層体を、前記負極集電体延長部積層体の積層方向の両端側から挟持する挟持部を有する、二次電池。
【選択図】図1
特許請求の範囲
【請求項1】
複数個の正極層と、複数個の負極層とが、セパレータを介して交互に積層された電極積層体と、正極タブリードと、負極タブリードと、を含み、
複数個の前記正極層のそれぞれは、正極集電体と、前記正極集電体の一辺から引き出された正極集電体延長部を有し、
複数個の前記正極集電体のそれぞれから引き出された複数個の前記正極集電体延長部の端部は、前記電極積層体の積層方向の中央で積層された正極集電体延長部積層体を形成し、
前記正極タブリードは、前記正極集電体延長部積層体を、前記正極集電体延長部積層体の積層方向の両端側から挟持する挟持部を有し、
複数個の前記負極層のそれぞれは、負極集電体と、前記負極集電体の一辺から引き出された負極集電体延長部を有し、
前記負極集電体のそれぞれから引き出された前記負極集電体延長部の端部は、前記電極積層体の積層方向の中央で積層された負極集電体延長部積層体を形成し、
前記負極タブリードは、前記負極集電体延長部積層体を、前記負極集電体延長部積層体の積層方向の両端側から挟持する挟持部を有する、二次電池。
続きを表示(約 1,500 文字)
【請求項2】
前記正極タブリードの前記挟持部は、前記正極集電体延長部積層体の積層方向の一方側に折り曲げられた第1折り曲げ部と、他方側に折り曲げられた第2折り曲げ部とを有し、前記電極積層体は、前記第1折り曲げ部と第2折り曲げ部によって挟持されていて、
前記負極タブリードの前記挟持部は、前記正極集電体延長部積層体の積層方向の一方側に折り曲げられた第3折り曲げ部と、他方側に折り曲げられた第4折り曲げ部とを有し、前記負極集電体延長部積層体は、前記第3折り曲げ部と第4折り曲げ部によって挟持されている、請求項1に記載の二次電池。
【請求項3】
前記正極タブリードの前記挟持部は、前記第1折り曲げ部及び前記第2折り曲げ部の少なくとも一方を2つ以上有し、
前記負極タブリードの前記挟持部は、前記第3折り曲げ部及び前記第4折り曲げ部の少なくとも一方を2つ以上有する、請求項2に記載の二次電池。
【請求項4】
前記正極タブリードの前記第1折り曲げ部及び前記第2折り曲げ部は、互いに対向する平坦部を有し、前記正極集電体延長部積層体は、前記第1折り曲げ部の平坦部と前記第2折り曲げ部の平坦部に溶接されていて、
前記正極タブリードの前記第1折り曲げ部及び前記第2折り曲げ部は、互いに対向する平坦部を有し、前記負極集電体延長部積層体は、前記第3折り曲げ部の平坦部と第4折り曲げ部の平坦部によって溶接されている、請求項2に記載の二次電池。
【請求項5】
前記正極集電体及び前記負極集電体の少なくとも一方は、第1金属層と、樹脂層と、第2金属層とがこの順で積層された積層集電体である、請求項1又は2に記載の二次電池。
【請求項6】
前記正極集電体は前記積層集電体であって、
複数個の前記正極集電体延長部の端部は、前記正極集電体延長部の延長方向に沿って形成されたスリットによって、複数個の正極集電体延長部片に分割されていて、複数個の前記正極集電体延長部片の少なくとも一方は、前記第1金属層が外側で前記第2金属層が内側となるように折られ、他方は前記第1金属層が内側で前記第2金属層が外側となるように折られていて、
前記第1金属層が外側となるように折られた前記正極集電体延長部片の複数個を互いに接触するように積層して第1正極集電体延長部積層体を形成し、前記第2金属層が外側となるように折られた前記正極集電体延長部片の複数個を互いに接触するように積層して第2正極集電体延長部積層体を形成し、
前記第1正極集電体延長部積層体及び前記第2正極集電体延長部積層体は前記負極タブリードで挟持されている、請求項5に記載の二次電池。
【請求項7】
前記負極集電体は前記積層集電体であって、
複数個の前記負極集電体延長部の端部は、前記負極集電体延長部の延長方向に沿って形成されたスリットによって、複数個の負極集電体延長部片に分割されていて、複数個の前記負極集電体延長部片の少なくとも一方は、前記第1金属層が外側で前記第2金属層が内側となるように折られ、他方は前記第1金属層が内側で前記第2金属層が外側となるように折られていて、
前記第1金属層が外側となるように折られた前記負極集電体延長部片の複数個を互いに接触するように積層して第1負極集電体延長部積層体を形成し、前記第2金属層が外側となるように折られた前記負極集電体延長部片の複数個を互いに接触するように積層して第2負極集電体延長部積層体を形成し、
前記第1負極集電体延長部積層体及び前記第2負極集電体延長部積層体は前記負極タブリードで挟持されている、請求項5に記載の二次電池。
発明の詳細な説明
【技術分野】
【0001】
本発明は、二次電池に関する。
続きを表示(約 2,400 文字)
【背景技術】
【0002】
近年、より多くの人々が手ごろで信頼でき、持続可能かつ先進的なエネルギーへのアクセスを確保できるようにするため、エネルギーの効率化に貢献する二次電池に関する研究開発が行われている。二次電池として、複数個の正極層と複数個の負極層とを、セパレータを介して交互に積層した電極積層体を有する積層型の二次電池が知られている。積層型の二次電池における電極の取り出し構造として、各電極層の集電体の一部を延長させた集電体延長部を積層し、その集電体延長部の積層体を、タブリードに接続する構造が知られている(例えば、特許文献1を参照)。
【先行技術文献】
【特許文献】
【0003】
特開2022-110492号公報
【発明の概要】
【発明が解決しようとする課題】
【0004】
ところで、二次電池に関する技術においては、高容量化と長期間の信頼性の向上が課題である。高容量の二次電池として、リチウム金属二次電池が検討されている。リチウム金属二次電池は、電荷移動媒体としてリチウムイオンを用い、充電時は、負極層にリチウム金属を析出させ、放電時は、負極層に析出したリチウム金属をリチウムイオンとして正極層に移動させる二次電池である。
【0005】
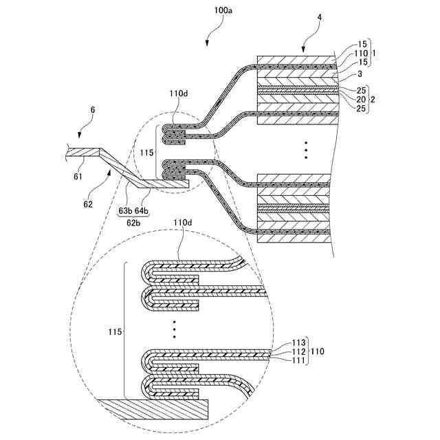
積層型のリチウム金属二次電池は、充放電による負極層の厚みの変化が大きい。このため、積層型のリチウム金属二次電池では、外装体として、負極層の厚みの変化に応じて伸縮可能なラミネートフィルムを用いることが一般的である。ラミネートフィルムで外装体形成する場合、電極積層体を2枚のラミネートフィルムの間に挟み、その2枚のラミネートフィルムを封止する。この構成のリチウム金属二次電池では、タブリードは2枚のラミネートフィルムの間、すなわち電極積層体の積層方向の中央にあることが望ましい。タブリードを電極積層体の積層方向の中央に配置すると、集電体延長部の積層体の位置は、電極積層体の積層方向の中央から外れた位置となる。
【0006】
集電体延長部の積層体の位置が積層方向の中央から外れた位置にあると、その積層体から近い側の集電体と遠い側の集電体とで延長部の長さの差が大きくなる。特に、リチウム金属二次電池では、充放電による負極層の厚みの変化が大きいため、集電体延長部の積層体から遠い側の集電体は、延長部の長さを長くする必要がある。集電体延長部の長さが長くなると、その集電体延長部を収容するための空間を広くすることが必要となるため、二次電池の体積あたりのエネルギー密度が低下する。また、集電体延長部の長さが長くなると、負極層の厚みの変化による集電体延長部の形状の変動が大きくなり、集電体延長部とタブリードとの接合部が破断することがあり電気伝導経路の確保などの信頼性が低下する。
【0007】
本発明は、上記に鑑みてなされたものであり、充放電による厚みの変化が大きい負極層を用いても、体積あたりのエネルギー密度を高くでき、信頼性が高い二次電池を提供することを目的とする。そして、延いてはエネルギーの効率化に寄与するものである。
【課題を解決するための手段】
【0008】
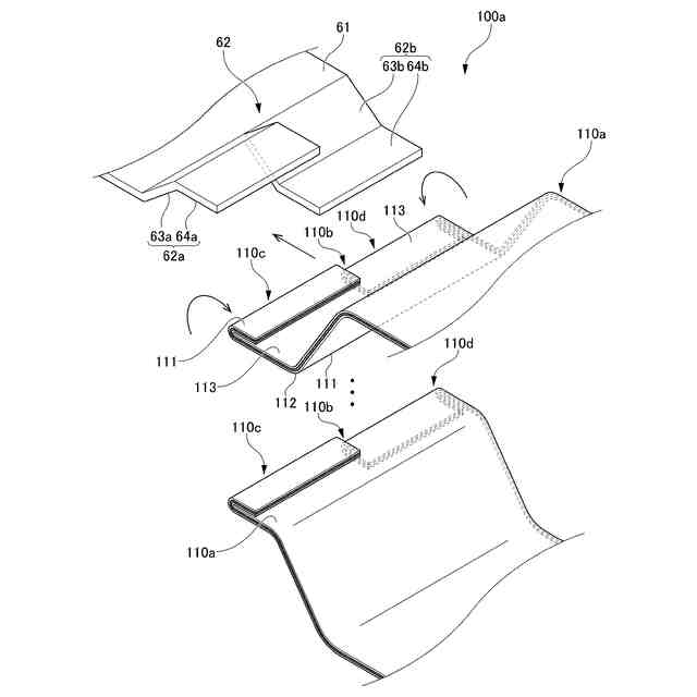
本発明者らは、集電体延長部の積層体を、電極積層体の積層方向の中央に配置し、その集電体延長部の積層体をタブリードで積層方向の両端側から挟持することによって、集電体延長部の積層体の位置とタブリードの位置を電極積層体の積層方向の中央とすることが可能となり、上記目的を達成できることを見出して、本発明に至った。したがって、本発明は、以下のものを提供する。
【0009】
(1)複数個の正極層と、複数個の負極層とが、セパレータを介して交互に積層された電極積層体と、正極タブリードと、負極タブリードと、を含み、複数個の前記正極層のそれぞれは、正極集電体と、前記正極集電体の一辺から引き出された正極集電体延長部を有し、複数個の前記正極集電体のそれぞれから引き出された複数個の前記正極集電体延長部の端部は、前記電極積層体の積層方向の中央で積層された正極集電体延長部積層体を形成し、前記正極タブリードは、前記正極集電体延長部積層体を、前記正極集電体延長部積層体の積層方向の両端側から挟持する挟持部を有し、複数個の前記負極層のそれぞれは、負極集電体と、前記負極集電体の一辺から引き出された負極集電体延長部を有し、前記負極集電体のそれぞれから引き出された前記負極集電体延長部の端部は、前記電極積層体の積層方向の中央で積層された負極集電体延長部積層体を形成し、前記負極タブリードは、前記負極集電体延長部積層体を、前記負極集電体延長部積層体の積層方向の両端側から挟持する挟持部を有する、二次電池。
【0010】
(1)の二次電池によれば、正極集電体延長部積層体及び負極集電体延長部積層体が電極積層体の積層方向の中央に配置されていて、電極積層体の積層方向の中央を軸として対称な構造であるので、充放電による負極層の厚みの変化が大きくても、正極集電体延長部及び負極集電体延長部の長さを過度に延長する必要がない。よって、体積あたりの容量を大きくできる。また、正極集電体延長部積層体は、正極タブリードの挟持部で挟持されているので正極タブリードから離脱しにくく、負極集電体延長部積層体は、負極タブリードの挟持部で挟持されているので負極タブリードから離脱しにくい。よって、信頼性が向上する。さらに、正極タブリード及び負極タブリードが電極積層体の積層方向の中央に配置されるので、ラミネートフィルムを用いて外装体を形成しやすい。
(【0011】以降は省略されています)
この特許をJ-PlatPat(特許庁公式サイト)で参照する
関連特許
本田技研工業株式会社
車両
1か月前
本田技研工業株式会社
冷却液タンク
2日前
本田技研工業株式会社
蓄電システム
4日前
本田技研工業株式会社
差圧式電解装置
1か月前
本田技研工業株式会社
スポット溶接方法
24日前
本田技研工業株式会社
駆動装置ユニット
1か月前
本田技研工業株式会社
回転電機用ロータ
11日前
本田技研工業株式会社
電動無段変速装置
1か月前
本田技研工業株式会社
回転電機のロータ
1か月前
本田技研工業株式会社
非接触電力伝送システム
4日前
本田技研工業株式会社
金属シリコンの製造方法
11日前
本田技研工業株式会社
電力変換装置、および車両
3日前
本田技研工業株式会社
積層体、積層体の製造方法
3日前
本田技研工業株式会社
制御装置、および、制御方法
24日前
本田技研工業株式会社
情報処理方法及びプログラム
23日前
本田技研工業株式会社
正極、固体電池及び固体電池の製造方法
1か月前
本田技研工業株式会社
二酸化炭素回収装置及び二酸化炭素回収方法
1か月前
本田技研工業株式会社
情報処理装置、情報処理方法、およびプログラム
23日前
本田技研工業株式会社
制御装置
25日前
本田技研工業株式会社
作動装置
23日前
本田技研工業株式会社
移動体の制御装置、移動体の制御方法、およびプログラム
18日前
本田技研工業株式会社
学習装置、推定装置、学習方法、推定方法及びプログラム
1か月前
本田技研工業株式会社
車両、制御方法、プログラム、記憶媒体、及び情報処理装置
23日前
本田技研工業株式会社
電池の充電状態の補正方法、電池均等化方法、端末機器及び車両
10日前
本田技研工業株式会社
移動体支援装置および移動体システム
1か月前
本田技研工業株式会社
熱媒体組み合わせ最適化装置、熱媒体組み合わせ最適化方法、および、熱媒体組み合わせ最適化プログラム
11日前
APB株式会社
蓄電セル
1か月前
東ソー株式会社
絶縁電線
1か月前
個人
フレキシブル電気化学素子
1か月前
株式会社ユーシン
操作装置
1か月前
ローム株式会社
半導体装置
1か月前
マクセル株式会社
電源装置
1か月前
日新イオン機器株式会社
イオン源
1か月前
株式会社東芝
端子台
1か月前
株式会社GSユアサ
蓄電装置
10日前
三菱電機株式会社
回路遮断器
18日前
続きを見る
他の特許を見る