TOP
|
特許
|
意匠
|
商標
特許ウォッチ
Twitter
他の特許を見る
10個以上の画像は省略されています。
公開番号
2025167468
公報種別
公開特許公報(A)
公開日
2025-11-07
出願番号
2024072098
出願日
2024-04-26
発明の名称
情報処理方法及びプログラム
出願人
本田技研工業株式会社
代理人
弁理士法人航栄事務所
主分類
G06Q
50/10 20120101AFI20251030BHJP(計算;計数)
要約
【課題】電動車両を利用したカーボンクレジットの創出を支援し、地球温暖化の防止に貢献できる情報処理方法及びプログラムを提供する。
【解決手段】情報処理方法は、温室効果ガスの削減により創出されるカーボンクレジットに関する情報をコンピュータにより処理する。カーボンクレジットは、電動車両10の充電行動によって排出される温室効果ガスを削減することに基づいて創出され、情報処理方法は、基準充電行動よりも温室効果ガスの排出量が少ない他の充電行動を含み、電動車両10のユーザが選択可能な充電行動の候補を生成する生成ステップと、各充電行動によって排出される温室効果ガスの排出量の予測値をそれぞれ算出する排出量算出ステップと、他の充電行動それぞれでの温室効果ガスの削減量の予測値を算出する削減量算出ステップと、を有する。
【選択図】図11
特許請求の範囲
【請求項1】
温室効果ガスの削減により創出されるカーボンクレジットに関する情報をコンピュータにより処理する情報処理方法であって、
前記カーボンクレジットは、電動車両に搭載されたバッテリを外部電源により充電する充電行動によって排出される前記温室効果ガスを削減することに基づいて創出されるものであり、
前記情報処理方法は、
基準となる充電行動である基準充電行動よりも前記温室効果ガスの排出量が少ない少なくとも一つの他の充電行動を含み、前記電動車両のユーザが選択可能な充電行動の候補を生成する生成ステップと、
各充電行動によって排出される前記温室効果ガスの排出量の予測値をそれぞれ算出する排出量算出ステップと、
前記少なくとも一つの他の充電行動それぞれでの前記温室効果ガスの削減量の予測値を、前記基準充電行動での前記温室効果ガスの排出量の予測値と前記他の充電行動での前記温室効果ガスの排出量の予測値とに基づいて算出する削減量算出ステップと、を有する、
情報処理方法。
続きを表示(約 1,800 文字)
【請求項2】
請求項1に記載の情報処理方法であって、
前記充電行動の候補を前記ユーザの端末装置又は前記電動車両に搭載された端末装置に表示する表示ステップをさらに有し、
前記表示ステップは、前記充電行動の候補と共に、前記温室効果ガスの排出量の予測値及び前記温室効果ガスの削減量の予測値の少なくとも一方を前記端末装置に表示する、
情報処理方法。
【請求項3】
請求項1に記載の情報処理方法であって、
前記少なくとも一つの他の充電行動は、前記基準充電行動を行う時間及び/又は場所とは異なる他の時間及び/又は他の場所での充電行動を含む、
情報処理方法。
【請求項4】
請求項3に記載の情報処理方法であって、
前記少なくとも一つの他の充電行動は、前記基準充電行動を行う場所とは異なる他の場所での充電行動を含み、
前記削減量算出ステップは、前記他の場所で行う充電行動での前記温室効果ガスの削減量の予測値を、前記基準充電行動を行う場所と前記他の場所との間の前記電動車両の移動に起因する前記温室効果ガスの排出量にさらに基づいて算出する、
情報処理方法。
【請求項5】
請求項1に記載の情報処理方法であって、
前記少なくとも一つの他の充電行動は、太陽光発電による電力を前記バッテリに充電する充電行動を含み、
前記削減量算出ステップは、前記太陽光発電による充電行動での前記温室効果ガスの削減量の予測値を、気象データにさらに基づいて算出する、
情報処理方法。
【請求項6】
請求項5に記載の情報処理方法であって、
前記充電行動の候補を前記ユーザの端末装置又は前記電動車両に搭載された端末装置に表示する表示ステップをさらに有し、
前記表示ステップは、前記充電行動の候補と共に、
前記気象データに基づいて推定される前記太陽光発電による前記バッテリへの充電電力量に関する情報、及び、
前記気象データに基づいて推定される前記太陽光発電による発電量に関する情報、
のうち少なくとも一つを前記端末装置にさらに表示する、
情報処理方法。
【請求項7】
請求項1から6のいずれか1項に記載の情報処理方法であって、
実際に実施した充電行動での前記温室効果ガスの排出量の実績値と前記基準充電行動での前記温室効果ガスの排出量の予測値とに基づいて、前記温室効果ガスの削減量の実績値を算出する実削減量算出ステップをさらに有し、
前記カーボンクレジットは、前記温室効果ガスの削減量の実績値に基づいて創出される、
情報処理方法。
【請求項8】
請求項7に記載の情報処理方法であって、
前記カーボンクレジットは、所定期間積算された前記温室効果ガスの削減量の実績値に基づいて創出される、
情報処理方法。
【請求項9】
請求項7に記載の情報処理方法であって、
前記カーボンクレジットは、実際に実施した前記充電行動によって前記バッテリに充電した電力量のうち、前記充電行動後に前記電動車両の走行に用いた電力量を除く部分の電力量に基づいて創出される、
情報処理方法。
【請求項10】
温室効果ガスの削減により創出されるカーボンクレジットに関する情報を処理するプログラムであって、
前記カーボンクレジットは、電動車両に搭載されたバッテリを外部電源により充電する充電行動によって排出される前記温室効果ガスを削減することに基づいて創出されるものであり、
前記プログラムは、
基準となる充電行動である基準充電行動よりも前記温室効果ガスの排出量が少ない少なくとも一つの他の充電行動を含み、前記電動車両のユーザが選択可能な充電行動の候補を生成する生成ステップと、
各充電行動によって排出される前記温室効果ガスの排出量の予測値をそれぞれ算出する排出量算出ステップと、
前記少なくとも一つの他の充電行動それぞれでの前記温室効果ガスの削減量の予測値を、前記基準充電行動での前記温室効果ガスの排出量の予測値と前記他の充電行動での前記温室効果ガスの排出量の予測値とに基づいて算出する削減量算出ステップと、をコンピュータに実行させる、
プログラム。
(【請求項11】以降は省略されています)
発明の詳細な説明
【技術分野】
【0001】
本発明は、温室効果ガスの削減により創出されるカーボンクレジットに関する情報をコンピュータにより処理する情報処理方法及びプログラムに関する。
続きを表示(約 2,300 文字)
【背景技術】
【0002】
近年、より多くの人々が手ごろで信頼でき、持続可能かつ先進的なエネルギーへのアクセスを確保できるようにするため、エネルギーの効率化に貢献する再生可能エネルギーに関する研究開発が行われている。
【0003】
地球温暖化の一因である二酸化炭素(以下、CO2とも表記する)等の温室効果ガスの排出量の削減を促す制度として、様々な国や地域等が温室効果ガスの排出権取引制度を運営している。例えば、排出量取引制度に参加している企業は、太陽光発電等の再生可能エネルギーを利用した発電設備や省エネルギー設備の導入により温室効果ガスの排出量を削減すると、その削減量に基づくカーボンクレジットを取得することができる。カーボンクレジットは、他の企業と取引可能なものであり、例えば排出量を十分に削減できなかった他の企業に対し売却することができる(例えば、特許文献1)。
【先行技術文献】
【特許文献】
【0004】
特開2003-331088号公報
【発明の概要】
【発明が解決しようとする課題】
【0005】
従来の排出権取引制度では、一般的に温室効果ガスの排出量が多いビルや工場等を所有する企業が多く参加している。しかしながら、一般家庭等については、企業に比べて温室効果ガスの排出量が少ないことや、カーボンクレジットを取得するために必要な認証データの取得及び計算が煩雑であることが障壁となって、排出権取引制度への参加がほとんどない。
【0006】
近年、駆動用の大容量バッテリを搭載した電気自動車等の電動車両が普及しており、蓄電した電力を自宅や電力系統に供給可能な電力リソースとして期待されている。このような電動車両を利用して一般家庭においても排出権取引制度への参加を促し、地球温暖化の防止に貢献できる技術が要望されていた。
【0007】
本発明は、電動車両を利用したカーボンクレジットの創出を支援し、地球温暖化の防止に貢献できる情報処理方法及びプログラムを提供する。そして、延いてはエネルギーの効率化に寄与するものである。
【課題を解決するための手段】
【0008】
本発明は、
温室効果ガスの削減により創出されるカーボンクレジットに関する情報をコンピュータにより処理する情報処理方法であって、
前記カーボンクレジットは、電動車両に搭載されたバッテリを外部電源により充電する充電行動によって排出される前記温室効果ガスを削減することに基づいて創出されるものであり、
前記情報処理方法は、
基準となる充電行動である基準充電行動よりも前記温室効果ガスの排出量が少ない少なくとも一つの他の充電行動を含み、前記電動車両のユーザが選択可能な充電行動の候補を生成する生成ステップと、
各充電行動によって排出される前記温室効果ガスの排出量の予測値をそれぞれ算出する排出量算出ステップと、
前記少なくとも一つの他の充電行動それぞれでの前記温室効果ガスの削減量の予測値を、前記基準充電行動での前記温室効果ガスの排出量の予測値と前記他の充電行動での前記温室効果ガスの排出量の予測値とに基づいて算出する削減量算出ステップと、を有する。
【0009】
また、本発明は、
温室効果ガスの削減により創出されるカーボンクレジットに関する情報を処理するプログラムであって、
前記カーボンクレジットは、電動車両に搭載されたバッテリを外部電源により充電する充電行動によって排出される前記温室効果ガスを削減することに基づいて創出されるものであり、
前記プログラムは、
基準となる充電行動である基準充電行動よりも前記温室効果ガスの排出量が少ない少なくとも一つの他の充電行動を含み、前記電動車両のユーザが選択可能な充電行動の候補を生成する生成ステップと、
各充電行動によって排出される前記温室効果ガスの排出量の予測値をそれぞれ算出する排出量算出ステップと、
前記少なくとも一つの他の充電行動それぞれでの前記温室効果ガスの削減量の予測値を、前記基準充電行動での前記温室効果ガスの排出量の予測値と前記他の充電行動での前記温室効果ガスの排出量の予測値とに基づいて算出する削減量算出ステップと、をコンピュータに実行させる。
【0010】
また、本発明は、
温室効果ガスの削減により創出されるカーボンクレジットに関する情報をコンピュータにより処理する情報処理方法であって、
前記カーボンクレジットは、複数の電動車両に搭載されたバッテリを外部電源により充電する充電行動によって排出される前記温室効果ガスを削減することに基づいて創出されるものであり、
前記情報処理方法は、
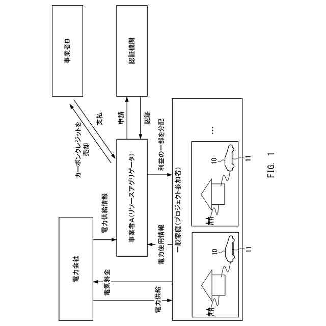
基準となる充電行動である基準充電行動での前記温室効果ガスの排出量の予測値と、前記基準充電行動よりも前記温室効果ガスの排出量が少ない他の充電行動を実際に実施したときの前記温室効果ガスの排出量の実績値と、に基づいて算出された前記温室効果ガスの削減量の実績値を、前記複数の電動車両のユーザ毎に算出して合算する合算ステップと、
前記温室効果ガスの削減量の実績値の合算に基づいて創出された前記カーボンクレジットの売却処理を実行する売却ステップと、
前記売却ステップにおいて得られた利益の一部を各ユーザに分配する分配ステップと、を有する。
【発明の効果】
(【0011】以降は省略されています)
この特許をJ-PlatPat(特許庁公式サイト)で参照する
関連特許
個人
詐欺保険
1か月前
個人
縁伊達ポイン
1か月前
個人
5掛けポイント
1か月前
個人
職業自動販売機
25日前
個人
RFタグシート
1か月前
個人
QRコードの彩色
2か月前
個人
ペルソナ認証方式
1か月前
個人
自動調理装置
1か月前
個人
情報処理装置
1か月前
個人
立体グラフの利用方法
4日前
個人
農作物用途分配システム
1か月前
個人
サービス情報提供システム
27日前
個人
タッチパネル操作指代替具
1か月前
NISSHA株式会社
入力装置
5日前
個人
インターネットの利用構造
1か月前
個人
学習用データ生成装置
6日前
個人
携帯端末障害問合せシステム
1か月前
個人
スケジュール調整プログラム
1か月前
個人
エリアガイドナビAIシステム
1か月前
株式会社ワコム
電子ペン
1か月前
株式会社ケアコム
項目選択装置
1か月前
キヤノン株式会社
情報処理装置
19日前
キヤノン株式会社
情報処理装置
19日前
エッグス株式会社
情報処理装置
1か月前
株式会社ケアコム
項目選択装置
1か月前
株式会社ワコム
電子ペン
1か月前
キラル株式会社
顧客体験提供システム
7日前
キヤノン株式会社
情報処理装置
1か月前
キヤノン株式会社
印刷システム
1か月前
トヨタ自動車株式会社
通知装置
1か月前
キヤノン株式会社
画像認識装置
19日前
トヨタ自動車株式会社
車両
1か月前
キヤノン電子株式会社
情報処理システム
4日前
太陽誘電株式会社
表示装置
1か月前
株式会社ITP
仮想展示システム
13日前
大同大學
スーパーアプリ構築方法
19日前
続きを見る
他の特許を見る