TOP
|
特許
|
意匠
|
商標
特許ウォッチ
Twitter
他の特許を見る
公開番号
2025166410
公報種別
公開特許公報(A)
公開日
2025-11-06
出願番号
2024070419
出願日
2024-04-24
発明の名称
制御装置、および、制御方法
出願人
本田技研工業株式会社
代理人
弁理士法人航栄事務所
主分類
B60L
7/10 20060101AFI20251029BHJP(車両一般)
要約
【課題】バッテリの温度が上昇することを抑制しつつ、回生量を増大させることを実現可能な制御装置、および、制御方法を提供する。
【解決手段】駆動輪5を制動して回生を行うモータジェネレータ(第1モータジェネレータ2)と、回生により発電した回生電力が供給されるバッテリ4と、を備えた車両Veを制御する制御装置20であって、バッテリ4の抵抗値Rと、バッテリ4の電気化学反応による単位電流値あたりの反応熱Sとに基づいて、回生時におけるバッテリ4の吸熱量Qsが発熱量Qr以上となる電流値を算出する算出部24と、算出された電流値に基づいて、モータジェネレータを制御する制御部26と、を備える。
【選択図】図3
特許請求の範囲
【請求項1】
駆動輪を制動して回生を行うモータジェネレータと、前記回生により発電した回生電力が供給されるバッテリと、を備えた車両を制御する制御装置であって、
前記バッテリの抵抗値と、前記バッテリの電気化学反応による単位電流値あたりの反応熱とに基づいて、前記回生時における前記バッテリの吸熱量が発熱量以上となる電流値を算出する算出部と、
算出された前記電流値に基づいて、前記モータジェネレータを制御する制御部と、を備える、
制御装置。
続きを表示(約 1,200 文字)
【請求項2】
請求項1に記載の制御装置であって、
前記反応熱を導出する反応熱導出部を備え、
前記反応熱導出部は、前記バッテリの充電残量に基づいて、前記単位電流値あたりの前記反応熱を導出する、
制御装置。
【請求項3】
請求項2に記載の制御装置であって、
前記反応熱導出部は、さらに、前記バッテリの温度に基づいて、前記単位電流値あたりの前記反応熱を導出する、
制御装置。
【請求項4】
請求項1に記載の制御装置であって、
前記バッテリの抵抗値を導出する抵抗値導出部をさらに備え、
前記抵抗値導出部は、前記バッテリの充電残量と当該充電残量であるときの抵抗値とを対応付けたマップを参照して、現在の前記バッテリの充電残量に基づく前記バッテリの抵抗値を導出する、
制御装置。
【請求項5】
請求項4に記載の制御装置であって、
前記抵抗値導出部は、さらに、前記バッテリの温度に基づいて、前記バッテリの抵抗値を導出する、
制御装置。
【請求項6】
請求項1に記載の制御装置であって、
前記算出部は、
現在の前記バッテリの温度が上限温度近傍である所定温度以上である場合に、前記回生時における前記バッテリの吸熱量が発熱量以上となる前記電流値に所定の補正係数を積算し、
前記制御部は、前記補正係数が積算された電流値に基づいて、前記モータジェネレータを制御する、
制御装置。
【請求項7】
請求項1に記載の制御装置であって、
前記車両は、前記駆動輪を制動させる制動装置をさらに備え、
前記制御部は、
さらに前記制動装置を制御可能に構成され、
要求制動力に対して、前記モータジェネレータの前記回生による残り分を前記制動装置によって制動させる、
制御装置。
【請求項8】
請求項7記載の制御装置であって、
前記制動装置は、ブレーキバイワイヤシステムによって構成される、
制御装置。
【請求項9】
請求項1に記載の制御装置であって、
前記バッテリの抵抗値を導出する抵抗値導出部をさらに備え、
前記抵抗値導出部は、
前記バッテリの電圧変化量と電流変化量とに基づいて前記バッテリの抵抗値を導出する、
制御装置。
【請求項10】
駆動輪を制動して回生を行うモータジェネレータと、前記回生により発電した回生電力が供給されるバッテリと、を備えた車両を制御するコンピュータが、
前記バッテリの抵抗値と、前記バッテリの電気化学反応による単位電流値あたりの反応熱とに基づいて、前記回生時における前記バッテリの吸熱量が発熱量以上となる電流値を算出し、
算出された前記電流値に基づいて、前記モータジェネレータを制御する、処理を実行する、
制御方法。
発明の詳細な説明
【技術分野】
【0001】
本発明は、制御装置、および、制御方法に関する。
続きを表示(約 1,400 文字)
【背景技術】
【0002】
近年、低炭素社会又は脱炭素社会の実現に向けた取り組みが活発化し、車両においてもCO2排出量の削減やエネルギー効率の改善のために、電動化技術に関する研究開発が行われている。
【0003】
例えば、下記の特許文献1には、バッテリの温度が閾値未満の場合に、バッテリ電圧に基づくマップからバッテリに流す回生電流を算出し、バッテリの温度が閾値以上の場合に、バッテリの充電率に基づくマップからバッテリに流す回生電流を算出するように構成された回生制御装置が記載されている。
【先行技術文献】
【特許文献】
【0004】
特許第5724704号公報
【発明の概要】
【発明が解決しようとする課題】
【0005】
しかしながら、従来技術においては、バッテリの温度が上昇することを抑制しつつ、回生量を増大させる点で改善の余地があった。
【0006】
本発明は、バッテリの温度が上昇することを抑制しつつ、回生量を増大させることを実現可能な制御装置、および、制御方法を提供する。
【課題を解決するための手段】
【0007】
本発明の一態様は、
駆動輪を制動して回生を行うモータジェネレータと、前記回生により発電した回生電力が供給されるバッテリと、を備えた車両を制御する制御装置であって、
前記バッテリの抵抗値と、前記バッテリの電気化学反応による単位電流値あたりの反応熱とに基づいて、前記回生時における前記バッテリの吸熱量が発熱量以上となる電流値を算出する算出部と、
算出された前記電流値に基づいて、前記モータジェネレータを制御する制御部と、を備える。
【0008】
本発明の他の一態様は、
駆動輪を制動して回生を行うモータジェネレータと、前記回生により発電した回生電力が供給されるバッテリと、を備えた車両を制御するコンピュータが、
前記バッテリの抵抗値と、前記バッテリの電気化学反応による単位電流値あたりの反応熱とに基づいて、前記回生時における前記バッテリの吸熱量が発熱量以上となる電流値を算出し、
算出された前記電流値に基づいて、前記モータジェネレータを制御する、処理を実行する。
【発明の効果】
【0009】
本発明によれば、バッテリの温度が上昇することを抑制しつつ、回生量を増大させることを実現することが可能となる。そして、延いてはエネルギー効率の改善に寄与するものである。
【図面の簡単な説明】
【0010】
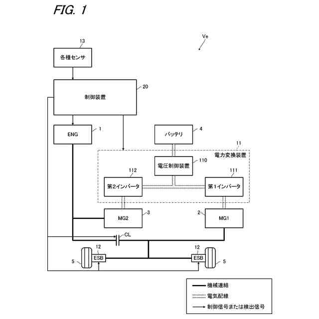
本実施形態における制御装置20を搭載した車両Veの構成を示す概略図である。
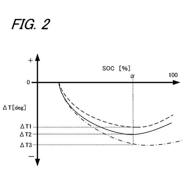
回生時の発熱特性の一例を示す図である。
制御装置20の一例を示すブロック図である。
抵抗値Rを導出するためのマップの一例を示す図である。
単位時間あたりの反応熱Sを導出するためのマップの一例を示す図である。
昇温抑制係数Kを設定するためのマップの一例を示す図である。
本実施形態の制御装置20が実行する処理の一例を示すフローチャートである。
本実施形態における放電時および回生時におけるバッテリ温度の変化の一例を示す図である。
【発明を実施するための形態】
(【0011】以降は省略されています)
この特許をJ-PlatPat(特許庁公式サイト)で参照する
関連特許
個人
前輪キャスター
3か月前
個人
上部一体型自動車
2か月前
個人
タイヤ脱落防止構造
3か月前
個人
空間形成装置
1か月前
日本精機株式会社
表示装置
3か月前
個人
マスタシリンダ
2か月前
日本精機株式会社
照明装置
1か月前
個人
常設収納型サンバイザー
1か月前
株式会社ニフコ
収納装置
3か月前
個人
回転窓ワイパー装置
1か月前
日本精機株式会社
車室演出装置
3か月前
日本精機株式会社
画像投映装置
2か月前
日本精機株式会社
車載表示装置
1か月前
日本精機株式会社
車載表示装置
2か月前
株式会社豊田自動織機
産業車両
1か月前
株式会社ニフコ
照明装置
3か月前
日本精機株式会社
車載表示装置
1か月前
日本精機株式会社
車載表示装置
1か月前
日本精機株式会社
車両用投射装置
2か月前
個人
聴覚と触覚を利用する速度計
4日前
株式会社SUBARU
車両
2か月前
日本精機株式会社
車両用投影装置
2か月前
日本精機株式会社
車両用表示装置
2か月前
井関農機株式会社
作業車両
2か月前
日本精機株式会社
車両用報知装置
1か月前
個人
音による速度計とプログラム
1か月前
個人
段差通過を容易にする車輪構造
3か月前
日産自動車株式会社
伝動部材
2か月前
日本化薬株式会社
ガス発生器
2か月前
日本化薬株式会社
ガス発生器
2か月前
日本化薬株式会社
ガス発生器
4日前
帝人株式会社
衝撃吸収構造体
3か月前
個人
自動車の非常ブレーキアシスト
3か月前
日本化薬株式会社
ガス発生器
6日前
日本化薬株式会社
ガス発生器
2か月前
日本化薬株式会社
ガス発生器
2か月前
続きを見る
他の特許を見る