TOP
|
特許
|
意匠
|
商標
特許ウォッチ
Twitter
他の特許を見る
公開番号
2025173645
公報種別
公開特許公報(A)
公開日
2025-11-28
出願番号
2024079281
出願日
2024-05-15
発明の名称
冷却液タンク
出願人
本田技研工業株式会社
代理人
弁理士法人航栄事務所
主分類
F01P
11/00 20060101AFI20251120BHJP(機械または機関一般;機関設備一般;蒸気機関)
要約
【課題】流れる冷却液が高流量となっても、液面での空気の巻き込みを低減できる冷却液タンクを提供する。
【解決手段】リザーブタンク20は、冷却液が循環して車両に搭載された発熱機器13を冷却する冷却回路1に設けられる。リザーブタンク20は、冷却液を貯留するタンク本体21と、タンク本体21の下部に形成され、冷却回路1から冷却液が流入する流入口22と、タンク本体21内の冷却液が冷却回路1に流出する流出口23と、を備える。タンク本体21は、タンク本体21に流入した冷却液の流れを分散させる第1壁部51と、第1壁部51に沿った上方への冷却液の流れを遮る第2壁部52と、を有する。
【選択図】図3
特許請求の範囲
【請求項1】
冷却液が循環して車両に搭載された発熱機器を冷却する冷却回路に設けられる冷却液タンクであって、
前記冷却液を貯留するタンク本体と、
前記タンク本体の下部に形成され、前記冷却回路から前記冷却液が流入する流入口と、
前記タンク本体内の前記冷却液が前記冷却回路に流出する流出口と、を備え、
前記タンク本体は、
前記タンク本体に流入した前記冷却液の流れを分散させる第1壁部と、
前記第1壁部に沿った上方への前記冷却液の流れを遮る第2壁部と、を有する、
冷却液タンク。
続きを表示(約 450 文字)
【請求項2】
請求項1に記載の冷却液タンクであって、
前記タンク本体は、前記第2壁部から下方に延出する第3壁部をさらに有する、
冷却液タンク。
【請求項3】
請求項2に記載の冷却液タンクであって、
前記第3壁部には、スリットが設けられている、
冷却液タンク。
【請求項4】
請求項3に記載の冷却液タンクであって、
前記第3壁部は、上下方向と直交する第1方向に延出し、
前記スリットは、前記第1方向において前記流入口からオフセットして設けられている、
冷却液タンク。
【請求項5】
請求項1から4のいずれか1項に記載の冷却液タンクであって、
前記タンク本体は、前記タンク本体の下側部分を構成する下側タンク部材と、前記タンク本体の上側部分を構成する上側タンク部材と、を有し、
前記第2壁部は、前記上側タンク部材の側壁部の一部を凹ませることにより形成される、
冷却液タンク。
発明の詳細な説明
【技術分野】
【0001】
本発明は、発熱機器を冷却する冷却回路に設けられる冷却液タンクに関する。
続きを表示(約 1,600 文字)
【背景技術】
【0002】
近年、低炭素社会又は脱炭素社会の実現に向けた取り組みが活発化し、車両においてもCO2排出量の削減やエネルギー効率の改善のために、電動化技術に関する研究開発が行われている。電動化に伴って車両に搭載される電力変換装置等の機器は発熱量が大きいので、例えば冷却液によって当該機器を冷却することがある。
【0003】
例えば、特許文献1には、冷却液が循環して発熱機器を冷却する冷却回路を備えた車両の機器冷却システムが記載されている。特許文献1に記載の冷却回路には、冷却液貯留部を有するリザーブタンクが介装されており、リザーブタンクは、冷却液流入口を冷却液貯留部の下部領域に備えている。リザーブタンクは、冷却液の熱膨張による容積変化を吸収したり、冷却回路内で発生した気泡を外部に排出したりする。
【先行技術文献】
【特許文献】
【0004】
特許第7146865号公報
【発明の概要】
【発明が解決しようとする課題】
【0005】
発熱機器の冷却性能を向上させるために、冷却回路に設けられるポンプを高出力なものにして冷却回路を流れる冷却液の流量を大きくする場合、特許文献1のように冷却液流入口が冷却液貯留部の下部領域に設けられたリザーブタンクでは、リザーブタンク内の液面での流速が大きくなって液面が暴れ、冷却液内に空気が巻き込まれる虞があった。
【0006】
本発明は、流れる冷却液が高流量となっても、液面での空気の巻き込みを低減できる冷却液タンクを提供する。
【課題を解決するための手段】
【0007】
本発明は、
冷却液が循環して車両に搭載された発熱機器を冷却する冷却回路に設けられる冷却液タンクであって、
前記冷却液を貯留するタンク本体と、
前記タンク本体の下部に形成され、前記冷却回路から前記冷却液が流入する流入口と、
前記タンク本体内の前記冷却液が前記冷却回路に流出する流出口と、を備え、
前記タンク本体は、
前記タンク本体に流入した前記冷却液の流れを分散させる第1壁部と、
前記第1壁部に沿った上方への前記冷却液の流れを遮る第2壁部と、を有する。
【発明の効果】
【0008】
本発明によれば、タンク本体に設けられた第1壁部及び第2壁部によって液面に向かう冷却液の流れを分散させるので、冷却回路を流れる冷却液が高流量となっても液面での冷却液の流速を小さくでき、液面暴れに起因する空気の巻き込みを低減できる。
【図面の簡単な説明】
【0009】
本発明の冷却液タンクの一実施形態であるリザーブタンク20が設けられた冷却回路1の回路図である。
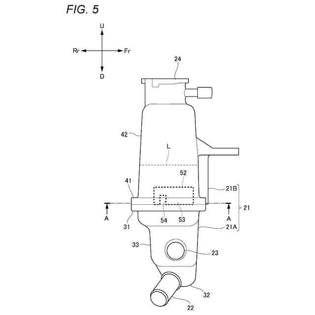
後方から見たリザーブタンク20の側面図である。
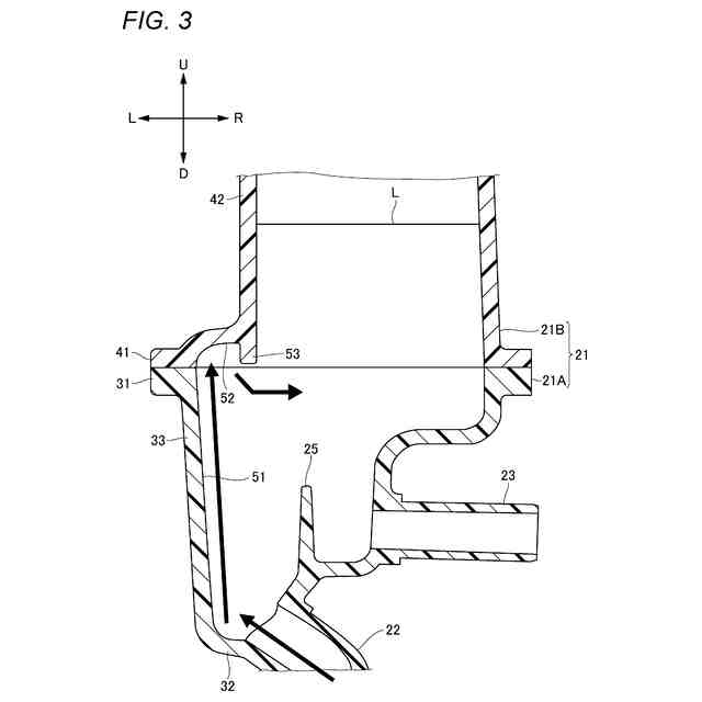
第1壁部51及び第2壁部52近傍の構造を示したリザーブタンク20の拡大断面図である。
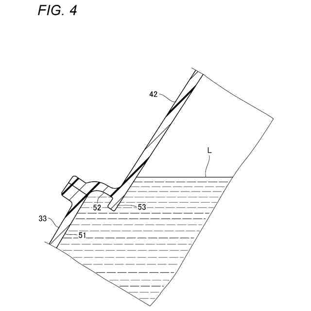
車両の走行時にリザーブタンク20が所定の角度傾いた場合における冷却液の液面Lの様子を示す。
リザーブタンク20を右側から見た図である。
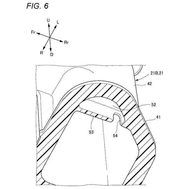
図5のA-A線に沿って切った断面を左側下方から見た斜視図である。
比較例のリザーブタンク200を示す。
【発明を実施するための形態】
【0010】
以下、本発明の冷却液タンクの一実施形態を、添付図面に基づいて説明する。なお、以下においては便宜上、冷却液タンクを車両に搭載した姿勢で方向を特定し、車両の前方をFr、後方をRr、左方をL、右方をR、上方をU、下方をD、として示す。ただし、冷却液タンクを車両に搭載する姿勢は様々であり、図面に示す方向に限られない。
(【0011】以降は省略されています)
この特許をJ-PlatPat(特許庁公式サイト)で参照する
関連特許
本田技研工業株式会社
車両
1か月前
本田技研工業株式会社
冷却液タンク
今日
本田技研工業株式会社
蓄電システム
2日前
本田技研工業株式会社
差圧式電解装置
1か月前
本田技研工業株式会社
回転電機用ロータ
9日前
本田技研工業株式会社
駆動装置ユニット
1か月前
本田技研工業株式会社
電動無段変速装置
1か月前
本田技研工業株式会社
回転電機のロータ
1か月前
本田技研工業株式会社
スポット溶接方法
22日前
本田技研工業株式会社
再生正極の製造方法
1か月前
本田技研工業株式会社
非接触電力伝送システム
2日前
本田技研工業株式会社
金属シリコンの製造方法
9日前
本田技研工業株式会社
積層体、積層体の製造方法
1日前
本田技研工業株式会社
電力変換装置、および車両
1日前
本田技研工業株式会社
給電システムおよび給電方法
1か月前
本田技研工業株式会社
制御装置、および、制御方法
22日前
本田技研工業株式会社
情報処理方法及びプログラム
21日前
本田技研工業株式会社
負極、固体電池及び積層体の製造方法
1か月前
本田技研工業株式会社
正極、固体電池及び固体電池の製造方法
1か月前
本田技研工業株式会社
二酸化炭素回収装置及び二酸化炭素回収方法
1か月前
本田技研工業株式会社
情報処理装置、情報処理方法、およびプログラム
21日前
本田技研工業株式会社
制御装置
23日前
本田技研工業株式会社
作動装置
21日前
本田技研工業株式会社
学習装置、推定装置、学習方法、推定方法及びプログラム
1か月前
本田技研工業株式会社
移動体の制御装置、移動体の制御方法、およびプログラム
16日前
本田技研工業株式会社
車両、制御方法、プログラム、記憶媒体、及び情報処理装置
21日前
本田技研工業株式会社
電池の充電状態の補正方法、電池均等化方法、端末機器及び車両
8日前
本田技研工業株式会社
移動体支援装置および移動体システム
1か月前
本田技研工業株式会社
移動体制御システム、情報処理装置、移動体制御システムのための方法、機械学習モデルを生成する方法
1か月前
本田技研工業株式会社
熱媒体組み合わせ最適化装置、熱媒体組み合わせ最適化方法、および、熱媒体組み合わせ最適化プログラム
9日前
株式会社豊田自動織機
エンジン式産業車両
1か月前
トヨタ自動車株式会社
計測システム
1か月前
スズキ株式会社
内燃機関の制御装置
今日
株式会社SUBARU
排気浄化装置
今日
本田技研工業株式会社
排気装置
1か月前
本田技研工業株式会社
排気装置
1か月前
続きを見る
他の特許を見る