TOP
|
特許
|
意匠
|
商標
特許ウォッチ
Twitter
他の特許を見る
10個以上の画像は省略されています。
公開番号
2025168507
公報種別
公開特許公報(A)
公開日
2025-11-07
出願番号
2025146575,2024512896
出願日
2025-09-03,2023-03-31
発明の名称
作動装置
出願人
本田技研工業株式会社
代理人
弁理士法人クシブチ国際特許事務所
主分類
H01M
10/6563 20140101AFI20251030BHJP(基本的電気素子)
要約
【課題】騒音を低減できる作動装置を提供する。
【解決手段】作動部を収容する第1空間S1と、第1空間S1の内外を連通する連通穴と、連通穴を介した空気の流動を促進させる送風機94と、送風機94から流出する空気、または送風機94に流入する空気が流れる流路が設けられる第2空間S2と、を備え、送風機94は、第1送風機、及び第2送風機を有し、流路は、第1送風機から流出する空気、または送風機94に流入する空気が流れる第1流路F1と、第1流路F1と区画して設けられ、第2送風機から流出する空気、または送風機94に流入する空気が流れる第2流路F2と、を有する。
【選択図】図7
特許請求の範囲
【請求項1】
作動部を収容する第1空間と、
前記第1空間の内外を連通する連通穴と、
前記連通穴を介した空気の流動を促進させる送風機と、
前記送風機から流出する空気、または前記送風機に流入する空気が流れる流路が設けられる第2空間と、を備え、
前記送風機は、第1送風機、及び第2送風機を有し、
前記流路は、前記第1送風機から流出する空気、または前記送風機に流入する空気が流れる第1流路と、
前記第1流路と区画して設けられ、前記第2送風機から流出する空気、または前記送風機に流入する空気が流れる第2流路と、を有する
ことを特徴とする作動装置。
発明の詳細な説明
【技術分野】
【0001】
本発明は、作動装置に関する。
続きを表示(約 1,600 文字)
【背景技術】
【0002】
従来、バッテリを内部に収める筐体を備える収容装置が知られている(例えば、特許文献1参照)。この収容装置には、当該バッテリに電気的に接続される発熱部材と、当該発熱部材を冷却する空気を送り出す送風機とを備える作動装置が設けられるものがある。
【先行技術文献】
【特許文献】
【0003】
WO2020/235637号
【発明の概要】
【発明が解決しようとする課題】
【0004】
しかしながら、このような作動装置では、送風機の作動に伴って、騒音が生じる虞がある。
本発明は、騒音を低減できる作動装置を提供する。
【課題を解決するための手段】
【0005】
この明細書には、2022年3月31日に出願された日本国特許出願・特願2022-060154の全ての内容が含まれる。
本発明は、作動部を収容する第1空間と、前記第1空間の内外を連通する連通穴と、前記連通穴を介した空気の流動を促進させる送風機と、前記送風機から流出する空気、または前記送風機に流入する空気が流れる流路が設けられる第2空間と、を備え、前記送風機は、第1送風機、及び第2送風機を有し、前記流路は、前記第1送風機から流出する空気、または前記送風機に流入する空気が流れる第1流路と、前記第1流路と区画して設けられ、前記第2送風機から流出する空気、または前記送風機に流入する空気が流れる第2流路と、を有することを特徴とする作動装置である。
【発明の効果】
【0006】
本発明によれば、騒音を低減できる。
【図面の簡単な説明】
【0007】
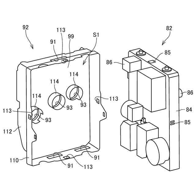
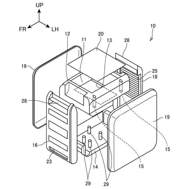
図1は、本発明の実施形態に係る収容装置の斜視図である。
図2は、筐体の分解斜視図である。
図3は、収容装置を図1に示す平面IIIで切断した縦断面図である。
図4は、インバータユニットを後方から視た斜視図である。
図5は、シュラウドの分解斜視図である。
図6は、シュラウド本体とインバータとの斜視図である。
図7は、シュラウド本体を後方から視た図である。
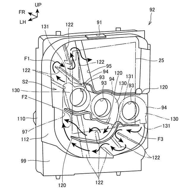
図8は、収容装置における冷却風の流れを示す概略図である。
図9は、収容装置における冷却風の流れを示す概略図である。
【発明を実施するための形態】
【0008】
[1.実施形態]
[1.1.構成]
以下、図面を参照して本発明の実施形態について説明する。
各図面において、符号FRは、収容装置1が下面を設置面に接する底面として設置された状態における前方を示し、符号UPは、当該収容装置1の上方を示し、符号LHは、当該収容装置1の左方を示す。以下の説明において、特に説明がない限り、各方向は、これらの収容装置1の方向に沿った方向である。以下、収容装置1が下面を設置面に接する底面として設置された状態を第1姿勢という。
【0009】
図1は、本発明の実施形態に係る収容装置1の斜視図である。
収容装置1は、当該収容装置1を着脱可能なバッテリ100を収容し、当該バッテリ100に蓄電された電力をユーザの操作に応じて変換し、収容装置1の外部の電動装置等に給電するものである(図3)。
収容装置1は、本開示の「蓄電装置」に相当する。
【0010】
図1に示すように、収容装置1は、略直方体状の筐体10を備える。筐体10は、いずれも平坦面である上面と、下面と、前面と、後面と、左右に位置する一対の側面とを備える。収容装置1の第1姿勢では、筐体10の下面が設置面に接する底面となる。
なお、筐体10は、直方体状に限らず、例えば略立方体状等、他の形状であってもよい。
(【0011】以降は省略されています)
この特許をJ-PlatPat(特許庁公式サイト)で参照する
関連特許
本田技研工業株式会社
飛行体
4日前
本田技研工業株式会社
電解装置
今日
本田技研工業株式会社
回転電機
6日前
本田技研工業株式会社
灯火器構造
4日前
本田技研工業株式会社
蓄電システム
13日前
本田技研工業株式会社
冷却液タンク
11日前
本田技研工業株式会社
回転電機のロータ
1か月前
本田技研工業株式会社
スポット溶接方法
1か月前
本田技研工業株式会社
回転電機用ロータ
20日前
本田技研工業株式会社
加水分解処理装置
4日前
本田技研工業株式会社
水素同位体分離システム
4日前
本田技研工業株式会社
金属シリコンの製造方法
20日前
本田技研工業株式会社
非接触電力伝送システム
13日前
本田技研工業株式会社
積層体、積層体の製造方法
12日前
本田技研工業株式会社
電力変換装置、および車両
12日前
本田技研工業株式会社
情報処理方法及びプログラム
1か月前
本田技研工業株式会社
制御装置、および、制御方法
1か月前
本田技研工業株式会社
軟磁性鋼板およびその製造方法
4日前
本田技研工業株式会社
有機物処理装置および有機物処理方法
4日前
本田技研工業株式会社
有機物処理装置および有機物処理方法
4日前
本田技研工業株式会社
電解システムの制御装置および電解システム
5日前
本田技研工業株式会社
音声認識装置、音声認識方法、及びプログラム
6日前
本田技研工業株式会社
情報処理装置、情報処理方法、およびプログラム
1か月前
本田技研工業株式会社
三次元モデル生成装置及び三次元モデル評価システム
4日前
本田技研工業株式会社
制御装置
1か月前
株式会社ダイセル
アルミニウム合金製摺動部材用潤滑剤
4日前
本田技研工業株式会社
移動体の制御装置、移動体の制御方法、およびプログラム
27日前
本田技研工業株式会社
作動装置
1か月前
本田技研工業株式会社
車両、制御方法、プログラム、記憶媒体、及び情報処理装置
1か月前
本田技研工業株式会社
有機物処理装置、有機物処理方法、および燃料ガスの製造方法
4日前
本田技研工業株式会社
電池の充電状態の補正方法、電池均等化方法、端末機器及び車両
19日前
タイガースポリマー株式会社
二次電池用加圧袋およびその製造方法
4日前
本田技研工業株式会社
移動体支援装置および移動体システム
1か月前
本田技研工業株式会社
熱媒体組み合わせ最適化装置、熱媒体組み合わせ最適化方法、および、熱媒体組み合わせ最適化プログラム
20日前
APB株式会社
蓄電セル
1か月前
日機装株式会社
加圧装置
4日前
続きを見る
他の特許を見る