TOP
|
特許
|
意匠
|
商標
特許ウォッチ
Twitter
他の特許を見る
10個以上の画像は省略されています。
公開番号
2025154869
公報種別
公開特許公報(A)
公開日
2025-10-10
出願番号
2024058113
出願日
2024-03-29
発明の名称
発電セル
出願人
本田技研工業株式会社
代理人
個人
,
個人
主分類
H01M
8/0273 20160101AFI20251002BHJP(基本的電気素子)
要約
【課題】膜電極接合体の端部の剥離を防止する。
【解決手段】発電セルは、膜電極接合体と膜電極接合体の周縁部を支持する枠部材とを有する膜電極構造体と、膜電極構造体の第1面および第2面に対向してそれぞれ配置された第1および第2セパレータと、を備える。第1および第2セパレータは、膜電極接合体に向けて突設され、互いに略平行に延在する、第1ガスおよび第1ガスよりも低圧の第2ガスの複数の発電用流路の隔壁をそれぞれ形成する複数の流路リブを有する。第1ガスの流れ方向に沿った膜電極接合体の第1ガス拡散層の端部は、第2ガスの流れ方向に沿った膜電極接合体の第2ガス拡散層の端部よりも内側に位置するとともに、流路リブの端部よりも内側に位置する。
【選択図】図6A
特許請求の範囲
【請求項1】
膜電極接合体と、該膜電極接合体によって覆われる開口が設けられ、前記膜電極接合体の周縁部を支持する枠部材と、を有する膜電極構造体と、
前記膜電極構造体の第1面および該第1面の反対側の第2面に対向してそれぞれ配置された第1セパレータおよび第2セパレータと、を備え、
前記膜電極接合体は、電解質膜と、前記電解質膜の一方および他方の面にそれぞれ密着して配置された第1電極触媒層および第2電極触媒層と、前記第1電極触媒層と前記第1セパレータとの間および前記第2電極触媒層と前記第2セパレータとの間にそれぞれ配置された第1ガス拡散層および第2ガス拡散層と、を有し、
前記第1セパレータは、前記膜電極接合体に向けて突設され、互いに略平行に延在する、第1ガスの複数の発電用流路の隔壁を形成する複数の第1流路リブを有し、
前記第2セパレータは、前記膜電極接合体に向けて突設され、互いに略平行に延在する、前記第1ガスよりも低圧である第2ガスの複数の発電用流路の隔壁を形成する複数の第2流路リブを有し、
前記第1ガスの流れ方向に沿った前記第1ガス拡散層の端部は、前記第2ガスの流れ方向に沿った前記第2ガス拡散層の端部よりも前記開口の中心側である内側に位置するとともに、前記第2流路リブの端部よりも前記内側に位置することを特徴とする発電セル。
続きを表示(約 400 文字)
【請求項2】
請求項1に記載の発電セルにおいて、
前記第1ガス拡散層の前記端部は、さらに前記第1流路リブの端部よりも前記内側に位置することを特徴とする発電セル。
【請求項3】
請求項1に記載の発電セルにおいて、
前記第2セパレータは、前記第2ガスの流れ方向における前記第2流路リブの上流側または下流側に設けられた複数の外側流路リブを有し、
隣り合う一対の前記第2流路リブの間の空隙の幅は、隣り合う一対の前記外側流路リブの間の空隙の幅よりも狭いことを特徴とする発電セル。
【請求項4】
請求項1から3のいずれか1項に記載の発電セルにおいて、
前記第1電極触媒層の端部は、前記第1ガス拡散層の前記端部よりも前記内側に位置し、
前記第2電極触媒層の端部は、前記第2ガス拡散層の前記端部よりも前記内側に位置することを特徴とする発電セル。
発明の詳細な説明
【技術分野】
【0001】
本発明は、燃料電池の発電セルに関する。
続きを表示(約 2,300 文字)
【背景技術】
【0002】
近年、より多くの人が手ごろで信頼でき、持続可能かつ先進的なエネルギへのアクセスを確保できるようにするため、エネルギの効率化に貢献する燃料電池に関する技術開発が行われている。この種の燃料電池に用いられる発電セルに関する技術として、一対のセパレータによって挟まれた、アノード電極のガス拡散層とカソード電極のガス拡散層との間に、樹脂製の枠部材を挟持するようにした技術が知られている(例えば特許文献1参照)。特許文献1記載の発電セルでは、セパレータと枠部材との間の流路に、ガス拡散層の端部が配置される。
【先行技術文献】
【特許文献】
【0003】
特許第6843730号公報
【発明の概要】
【発明が解決しようとする課題】
【0004】
ところで、燃料電池が低温環境で使用されると、燃料電池の運転完了後にガス拡散層の端部に氷が付着することがある。この状態で燃料電池が起動されると、枠部材がガスの差圧によって撓み、膜電極接合体の一部が氷とともに剥離するおそれがある。
【課題を解決するための手段】
【0005】
本発明の一態様である発電セルは、膜電極接合体と、膜電極接合体によって覆われる開口が設けられ、膜電極接合体の周縁部を支持する枠部材と、を有する膜電極構造体と、膜電極構造体の第1面および第1面の反対側の第2面に対向してそれぞれ配置された第1セパレータおよび第2セパレータと、を備える。膜電極接合体は、電解質膜と、電解質膜の一方および他方の面にそれぞれ密着して配置された第1電極触媒層および第2電極触媒層と、第1電極触媒層と第1セパレータとの間および第2電極触媒層と第2セパレータとの間にそれぞれ配置された第1ガス拡散層および第2ガス拡散層と、を有し、第1セパレータは、膜電極接合体に向けて突設され、互いに略平行に延在する、第1ガスの複数の発電用流路の隔壁を形成する複数の第1流路リブを有し、第2セパレータは、膜電極接合体に向けて突設され、互いに略平行に延在する、第1ガスよりも低圧である第2ガスの複数の発電用流路の隔壁を形成する複数の第2流路リブを有する。第1ガスの流れ方向に沿った第1ガス拡散層の端部は、第2ガスの流れ方向に沿った第2ガス拡散層の端部よりも開口の中心側である内側に位置するとともに、第2流路リブの端部よりも内側に位置する。
【発明の効果】
【0006】
本発明によれば、ガス拡散層の端部に氷が付着した状態で燃料電池が起動された場合であっても、膜電極接合体の一部が氷とともに剥離することを防止することができる。
【図面の簡単な説明】
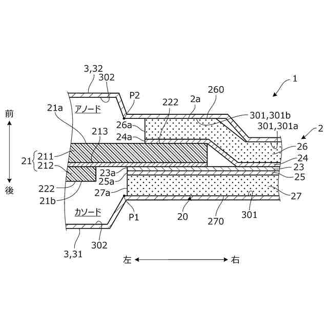
【0007】
本発明の実施形態に係る発電セルを有する燃料電池スタックの全体構成を概略的に示す斜視図。
図1のII-II線に沿った断面図。
図1の燃料電池スタックに含まれる一体化電極アッセンブリの概略構成を示す斜視図。
図1の燃料電池スタックに含まれるセパレータの正面図。
図4のV部拡大図。
本発明の実施形態に係る発電セルの要部構成を示す断面図。
図6Aの発電セルに差圧が作用した状態を示す図。
図6Aの参考例を示す図。
図7Aの発電セルに差圧が作用した状態を示す図。
図6Aの変形例を示す図。
図6Aの他の変形例を示す図。
図6Aのさらなる他の変形例を示す図。
【発明を実施するための形態】
【0008】
以下、図1~図9Bを参照して本発明の実施形態について説明する。本発明の実施形態に係る発電セルは、燃料電池の本体である燃料電池スタックに含まれる。燃料電池は、例えば車両に搭載され、車両駆動用の電力を発生する。まず、燃料電池スタックの全体構成を概略的に説明する。なお、燃料電池スタックを、単に燃料電池と呼ぶことがある。
【0009】
図1は、本発明の実施形態に係る燃料電池スタック100の全体構成を概略的に示す斜視図である。以下では、便宜上、図示のように互いに直交する三軸方向を、前後方向、左右方向および上下方向と定義し、この定義に従い各部の構成を説明する。前後方向は、発電セルの積層方向に相当する。これらの方向は、車両の前後方向、左右方向および上下方向と同一であるとは限らない。
【0010】
図1に示すように、燃料電池スタック100は、複数の発電セル1を前後方向に積層して構成されたセル積層体101と、セル積層体101の前後方向の両端部に配置されたエンドユニット102とを有し、全体が略直方体形状を呈する。セル積層体101の左右方向の長さは、上下方向の長さよりも長い。図1には、便宜上、単一の発電セル1が示される。発電セル1は、電解質膜と電極とを含む膜電極接合体を有する一体化電極アッセンブリ2と、一体化電極アッセンブリ2の前後両側に配置され、一体化電極アッセンブリ2を挟持する前後一対のセパレータ3,3と、を有する。一体化電極アッセンブリ2とセパレータ3とは、前後方向に交互に配置される。図示は省略するが、セル積層体101の周囲には、前面および後面が開放された略ボックス状のケースが配置される。ケースの前端面と前側のエンドユニット102およびケースの後端面と後側のエンドユニット102は、それぞれボルトを介して締結される。
(【0011】以降は省略されています)
この特許をJ-PlatPat(特許庁公式サイト)で参照する
関連特許
本田技研工業株式会社
スポット溶接方法
4日前
本田技研工業株式会社
回転電機のロータ
17日前
本田技研工業株式会社
情報処理方法及びプログラム
3日前
本田技研工業株式会社
制御装置、および、制御方法
4日前
本田技研工業株式会社
情報処理装置、情報処理方法、およびプログラム
3日前
本田技研工業株式会社
作動装置
3日前
本田技研工業株式会社
制御装置
5日前
本田技研工業株式会社
車両、制御方法、プログラム、記憶媒体、及び情報処理装置
3日前
東ソー株式会社
絶縁電線
19日前
APB株式会社
蓄電セル
17日前
個人
フレキシブル電気化学素子
1か月前
マクセル株式会社
電源装置
11日前
株式会社東芝
端子台
11日前
日新イオン機器株式会社
イオン源
27日前
株式会社ユーシン
操作装置
1か月前
ローム株式会社
半導体装置
18日前
太陽誘電株式会社
コイル部品
1か月前
株式会社GSユアサ
蓄電設備
1か月前
株式会社GSユアサ
蓄電設備
1か月前
オムロン株式会社
電磁継電器
1か月前
株式会社ホロン
冷陰極電子源
25日前
株式会社GSユアサ
蓄電装置
12日前
株式会社GSユアサ
蓄電装置
12日前
株式会社GSユアサ
蓄電装置
4日前
日新イオン機器株式会社
基板処理装置
14日前
トヨタ自動車株式会社
バッテリ
17日前
トヨタ自動車株式会社
蓄電装置
1か月前
北道電設株式会社
配電具カバー
17日前
日東電工株式会社
積層体
1か月前
サクサ株式会社
電池の固定構造
1か月前
トヨタ自動車株式会社
冷却構造
19日前
日本特殊陶業株式会社
保持装置
20日前
トヨタ自動車株式会社
蓄電装置
12日前
日本特殊陶業株式会社
保持装置
3日前
ノリタケ株式会社
熱伝導シート
1か月前
ベストテック株式会社
装置支持具
1か月前
続きを見る
他の特許を見る