TOP
|
特許
|
意匠
|
商標
特許ウォッチ
Twitter
他の特許を見る
公開番号
2025154494
公報種別
公開特許公報(A)
公開日
2025-10-10
出願番号
2024057536
出願日
2024-03-29
発明の名称
リアクトル
出願人
本田技研工業株式会社
代理人
弁理士法人磯野国際特許商標事務所
主分類
H01F
37/00 20060101AFI20251002BHJP(基本的電気素子)
要約
【課題】本発明は、容器内にコイルが樹脂にてポッティングされた構成であっても、コイルに電気的に接続するバスバーを効率よく冷却することができるリアクトルを提供する。
【解決手段】本発明は、冷媒Rが接する底面を有する容器2内にコイル3がポッティングされたリアクトル1であって、前記コイル3に通電可能に接合されたバスバー4と、前記バスバー4と前記容器2とを電気遮断するとともに熱伝達自在に連結する絶縁放熱シート5d(連結部)と、を備えたことを特徴とする。
【選択図】図2
特許請求の範囲
【請求項1】
冷媒が接する底面を有する容器内にコイルがポッティングされたリアクトルであって、
前記コイルに通電可能に接合されたバスバーと、
前記バスバーと前記容器とを電気遮断するとともに熱伝達自在に連結する連結部と、
を備えたことを特徴とするリアクトル。
続きを表示(約 630 文字)
【請求項2】
前記容器の底面には、冷却フィンが形成されていることを特徴とする請求項1に記載のリアクトル。
【請求項3】
前記容器の外側に隣接するバスバーの端子台を備え、
前記連結部は、前記端子台に配置されていることを特徴とする請求項1に記載のリアクトル。
【請求項4】
前記連結部は、絶縁放熱シートであり、
前記絶縁放熱シートは、前記バスバーと前記容器との間に介在していることを特徴とする請求項3に記載のリアクトル。
【請求項5】
前記バスバーと前記絶縁放熱シートとの間には、熱伝導部材が配置されていることを特徴とする請求項4に記載のリアクトル。
【請求項6】
前記絶縁放熱シートは、前記容器の側壁との間に介在していることを特徴とする請求項4に記載のリアクトル。
【請求項7】
前記容器の前記側壁と前記絶縁放熱シートとは接触しているとともに、前記絶縁放熱シートと前記バスバーとは接触しており、
前記バスバーを前記容器の前記側壁に向けて押圧する付勢手段を有していることを特徴とする請求項6に記載のリアクトル。
【請求項8】
前記容器の前記側壁は、下方に向かうほど前記容器の外側に向けて徐々に離れるように変位する傾斜面を有しており、
前記絶縁放熱シートは、前記傾斜面に設けられていることを特徴とする請求項6に記載のリアクトル。
発明の詳細な説明
【技術分野】
【0001】
本発明は、リアクトルに関する。
続きを表示(約 1,600 文字)
【背景技術】
【0002】
従来、筐体内に配置された端子台に円柱状の冷却端子を設けた電子変換装置が知られている(例えば、特許文献1参照)。具体的には、この電子変換装置は、冷却端子の上端にバスバーが電気的に接続されるとともに下端が筐体の底部に配置された冷却機構に熱的に接続されている。
このような電子変換装置によれば、バスバーに発生したジュール熱を、冷却端子を介して筐体の底部の冷却機構へと伝達することができる。
【0003】
ところで、電気自動車やHEV(Hybrid Electrical Vehicle)などには、例えばバッテリとモータとの間で電力変換を行う電力変換装置が設置されている。このような電力変換装置は、インテリジェントパワーモジュールやコンデンサ、DC-DCコンバータ、リアクトルなどを備えている。
リアクトルは、コアの周囲に巻回された巻き線からなるコイルが所定の容器内に樹脂にてポッティングされて構成されている。コイルの末端は、バスバーに接続され、バスバーはジュール熱を発生する。そのためリアクトルにおいてはバスバーの冷却が望まれる。
【先行技術文献】
【特許文献】
【0004】
特許第6233541号公報
【発明の概要】
【発明が解決しようとする課題】
【0005】
しかしながら、リアクトルは、容器内のスペースのほとんどを樹脂にてポッティングされたコイルが占めている。そのため、リアクトルのバスバーは、これを冷却するために従来の冷却端子を設けた端子台(例えば、特許文献1参照)を適用することが困難になっている。
【0006】
本発明の課題は、容器内にコイルが樹脂にてポッティングされた構成であっても、コイルに電気的に接続するバスバーを効率よく冷却することができるリアクトルを提供することにある。
【課題を解決するための手段】
【0007】
本発明は、冷媒が接する底面を有する容器内にコイルがポッティングされたリアクトルであって、前記コイルに通電可能に接合されたバスバーと、前記バスバーと前記容器とを電気遮断するとともに熱伝達自在に連結する連結部と、を備えたことを特徴とする。
【発明の効果】
【0008】
本発明のリアクトルによれば、容器内にコイルが樹脂にてポッティングされた構成であっても、コイルに電気的に接続するバスバーを効率よく冷却することができる。
【図面の簡単な説明】
【0009】
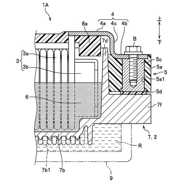
本発明の第1実施形態に係るリアクトルの全体斜視図である。
図1の冷却端子台側でのII-II部分拡大断面図である。
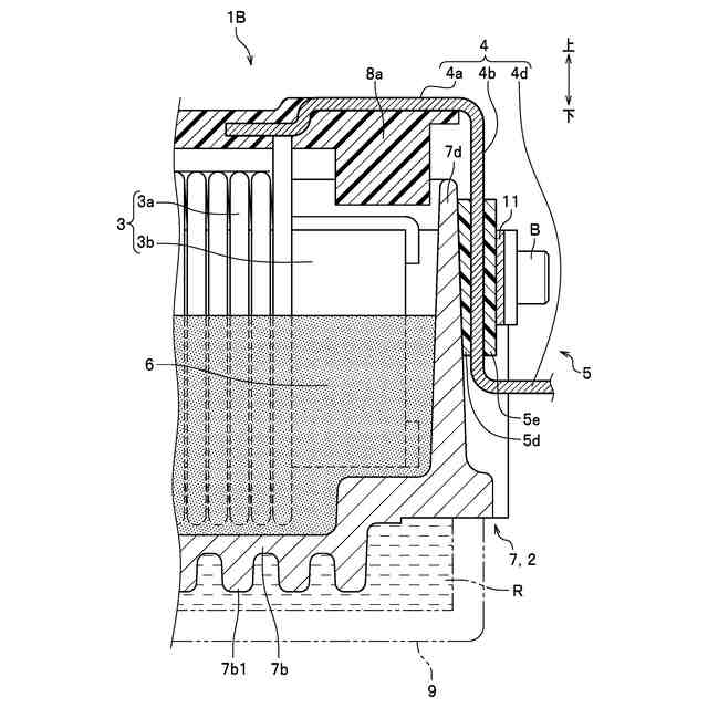
本発明の第2実施形態に係るリアクトルの部分拡大斜視図である。
図3AのIIIB-IIIB断面図である。
本発明の第3実施形態に係るリアクトルの部分拡大斜視図である。
図4AのIVB-IVB断面図である。
【発明を実施するための形態】
【0010】
次に、本発明のリアクトルを実施するための形態(実施形態)について、適宜図面を参照しながら詳細に説明する。
以下では、本発明について、電気自動車やHEV(Hybrid Electrical Vehicle)、燃料電池車などに搭載され、モータなどの負荷とバッテリとの間に配置される電力変換装置を構成するリアクトルを例にとって説明するが本発明はこれに限定されるものではない。
本実施形態のリアクトルは、樹脂にてコイルをポッティングした容器の外側に隣接するようにバスバーの冷却端子台を有する構成となっている。
(【0011】以降は省略されています)
この特許をJ-PlatPat(特許庁公式サイト)で参照する
関連特許
本田技研工業株式会社
車両
29日前
本田技研工業株式会社
差圧式電解装置
23日前
本田技研工業株式会社
スポット溶接方法
9日前
本田技研工業株式会社
回転電機のロータ
22日前
本田技研工業株式会社
電動無段変速装置
25日前
本田技研工業株式会社
駆動装置ユニット
26日前
本田技研工業株式会社
給電システムおよび給電方法
1か月前
本田技研工業株式会社
情報処理方法及びプログラム
8日前
本田技研工業株式会社
制御装置、および、制御方法
9日前
本田技研工業株式会社
負極、固体電池及び積層体の製造方法
1か月前
本田技研工業株式会社
正極、固体電池及び固体電池の製造方法
1か月前
本田技研工業株式会社
二酸化炭素回収装置及び二酸化炭素回収方法
1か月前
本田技研工業株式会社
情報処理装置、情報処理方法、およびプログラム
8日前
本田技研工業株式会社
移動体の制御装置、移動体の制御方法、およびプログラム
3日前
本田技研工業株式会社
学習装置、推定装置、学習方法、推定方法及びプログラム
29日前
本田技研工業株式会社
作動装置
8日前
本田技研工業株式会社
制御装置
10日前
本田技研工業株式会社
車両、制御方法、プログラム、記憶媒体、及び情報処理装置
8日前
本田技研工業株式会社
移動体支援装置および移動体システム
23日前
APB株式会社
蓄電セル
22日前
東ソー株式会社
絶縁電線
24日前
個人
フレキシブル電気化学素子
1か月前
株式会社ユーシン
操作装置
1か月前
ローム株式会社
半導体装置
1か月前
ローム株式会社
半導体装置
23日前
日新イオン機器株式会社
イオン源
1か月前
マクセル株式会社
電源装置
16日前
株式会社東芝
端子台
16日前
株式会社GSユアサ
蓄電装置
17日前
株式会社GSユアサ
蓄電装置
9日前
株式会社ホロン
冷陰極電子源
1か月前
株式会社GSユアサ
蓄電設備
1か月前
株式会社GSユアサ
蓄電設備
1か月前
太陽誘電株式会社
コイル部品
1か月前
株式会社GSユアサ
蓄電装置
17日前
三菱電機株式会社
回路遮断器
3日前
続きを見る
他の特許を見る