TOP
|
特許
|
意匠
|
商標
特許ウォッチ
Twitter
他の特許を見る
公開番号
2025152233
公報種別
公開特許公報(A)
公開日
2025-10-09
出願番号
2024054034
出願日
2024-03-28
発明の名称
移動システム
出願人
本田技研工業株式会社
代理人
弁理士法人桐朋
主分類
G06T
19/00 20110101AFI20251002BHJP(計算;計数)
要約
【課題】臨場感のある画面をプレイヤーに提供する、近時では良好な移動システムを提供する。
【解決手段】移動システム10において、ユーザUaが搭乗可能な移動体である自移動体12aは、自移動体12aの周囲の現実空間に対応する仮想空間画像を生成する画像生成部36を有し、ユーザUaに装着されるヘッドマウントディスプレイ14を介してに、画像生成部36によって生成される仮想空間画像を、ユーザUaに提供する。
【選択図】図1
特許請求の範囲
【請求項1】
ユーザが搭乗可能な移動体である自移動体と、
前記自移動体の周囲の現実空間に対応する仮想空間画像を生成する画像生成部と、
前記ユーザに装着されるとともに、前記画像生成部によって生成される前記仮想空間画像を前記ユーザに提供するヘッドマウントディスプレイと、
を備える、移動システム。
続きを表示(約 1,000 文字)
【請求項2】
請求項1に記載の移動システムにおいて、
前記自移動体とは別の移動体である他移動体を検出する外界センサを備え、
前記画像生成部は、前記外界センサにより検出される前記他移動体を含む前記仮想空間画像を生成する、移動システム。
【請求項3】
請求項1に記載の移動システムにおいて、
前記自移動体とは別の移動体である他移動体を検出する外界センサを備え、
前記外界センサにより検出される前記他移動体と前記自移動体との間の距離が予め決められた距離である所定距離未満であるか否かを判定する判定部と、
前記他移動体と前記自移動体との間の距離が前記所定距離未満であることが前記判定部によって判定された場合に、前記自移動体を自律的に移動させる制御部を備える、移動システム。
【請求項4】
請求項3に記載の移動システムにおいて、
前記制御部は、前記自移動体が前記他移動体に追従移動するように前記自移動体を制御する、移動システム。
【請求項5】
請求項1に記載の移動システムにおいて、
ゲーム画像の表示に関する前記ユーザによる指示を受け付ける受付部を備え、
前記画像生成部は、前記ゲーム画像を表示することが前記受付部によって受け付けられた場合には、前記ゲーム画像を含む前記仮想空間画像を生成する、移動システム。
【請求項6】
請求項2に記載の移動システムにおいて、
音響信号を生成する音響生成部と、
前記音響生成部により生成された前記音響信号に応じた音響を前記ユーザに提供する音響出力部と、
を備え、
前記音響生成部は、前記他移動体の位置に応じて前記音響信号を変化させる、移動システム。
【請求項7】
請求項1に記載の移動システムにおいて、
前記自移動体の外界を検出する外界センサと、
前記外界センサにより検出される物体を認識する認識部を備え、
前記画像生成部は、予め決められた物体である特定物体が前記認識部により認識される場合に、前記特定物体に対応する画像を含む前記仮想空間画像を生成する、移動システム。
【請求項8】
請求項7に記載の移動システムにおいて、
前記特定物体は、前記ユーザによる指示に基づいて決定され得る、移動システム。
発明の詳細な説明
【技術分野】
【0001】
本開示は、移動システムに関する。
続きを表示(約 1,400 文字)
【背景技術】
【0002】
特許文献1には、飛行遊戯機等に用いられる座席動揺装置が開示される。この座席動揺装置において、プレイヤーは、座席に着座するとともに、ヘッドマウントディスプレイを装着する。この座席動揺装置は、座席を前後方向、左右方向、上下方向に移動させることにより、臨場感のある座席の動きをプレイヤーに提供する。また、この座席動揺装置は、映像を映し出すことにより、臨場感のある画面をプレイヤーに提供する。
【先行技術文献】
【特許文献】
【0003】
特開平9-146446号公報
【発明の概要】
【発明が解決しようとする課題】
【0004】
特許文献1は、移動を疑似体験することができる据え置きの遊戯機を開示しているに過ぎない。近時では良好な移動システムの提供が望まれる。
【0005】
本発明は、上述した課題を解決することを目的とする。
【課題を解決するための手段】
【0006】
本開示の態様は、ユーザが搭乗可能な移動体である自移動体と、前記自移動体の周囲の現実空間に対応する仮想空間画像を生成する画像生成部と、前記ユーザに装着されるとともに、前記画像生成部によって生成される前記仮想空間画像を前記ユーザに提供するヘッドマウントディスプレイと、を備える、移動システムである。
【発明の効果】
【0007】
本発明によれば、良好な移動システムを提供することができる。
【図面の簡単な説明】
【0008】
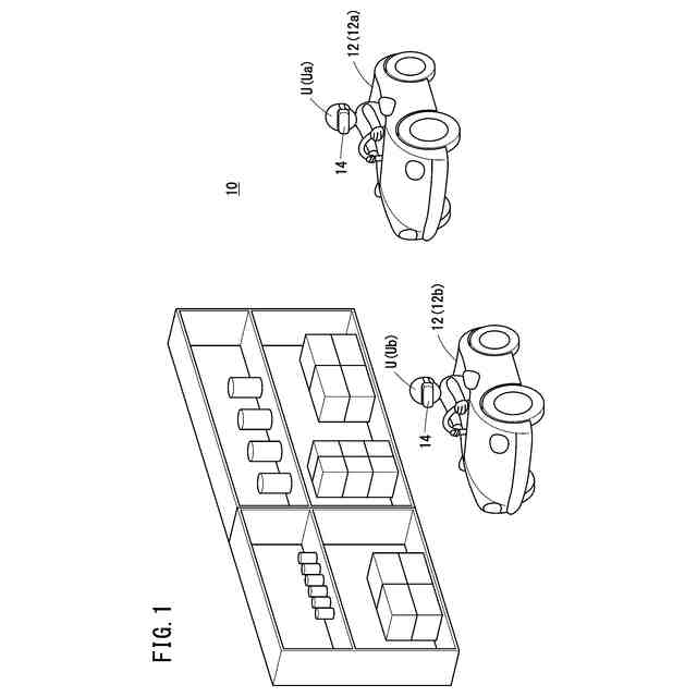
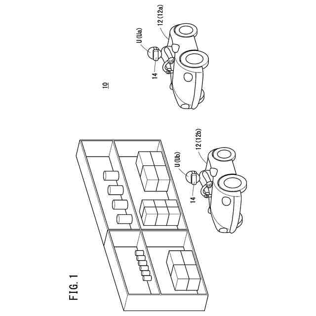
図1は、第1実施形態に係る移動システムの概略構成図である。
図2は、第1実施形態に係る自移動体の機能ブロック図である。
図3は、第1実施形態に係るヘッドマウントディスプレイの機能ブロック図である。
図4は、仮想空間画像の表示に関するシーケンス図である。
図5Aは、現実空間画像を示す図である。図5Bは、仮想空間画像を示す図である。
図6は、第2実施形態に係る自移動体の機能ブロック図である。
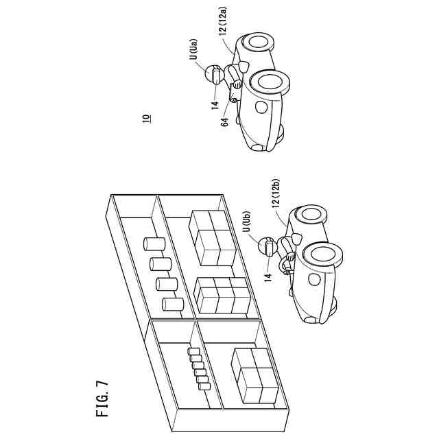
図7は、第5実施形態に係る移動システムの概略構成図である。
【発明を実施するための形態】
【0009】
本明細書で説明する移動システムは、移動体に搭乗して所定の現実空間(スーパーマーケット、ショッピングモール、体育館等)を移動するユーザに対して、現実空間画像に対応する仮想空間画像を提供する。移動システムによれば、ユーザは、娯楽施設に赴くことなく仮想空間(娯楽空間)を疑似体験することができる。
【0010】
[1 第1実施形態]
[1-1 移動システム10の構成]
図1は、第1実施形態に係る移動システム10の概略構成図である。移動システム10は、1以上の移動体12と、1以上のヘッドマウントディスプレイ14とを備える。各々の移動体12には、ヘッドマウントディスプレイ14を装着したユーザUが搭乗する。一のユーザUaが搭乗する移動体12を自移動体12aと称する。他のユーザUbが搭乗する移動体12を他移動体12bと称する。移動体12とヘッドマウントディスプレイ14とは相互に無線通信が可能である。
(【0011】以降は省略されています)
この特許をJ-PlatPat(特許庁公式サイト)で参照する
関連特許
本田技研工業株式会社
車両
1か月前
本田技研工業株式会社
車両
1か月前
本田技研工業株式会社
車両
1か月前
本田技研工業株式会社
車両
1か月前
本田技研工業株式会社
車両
1か月前
本田技研工業株式会社
飛行体
1か月前
本田技研工業株式会社
固体電池
1か月前
本田技研工業株式会社
発電セル
1か月前
本田技研工業株式会社
内燃機関
1か月前
本田技研工業株式会社
排気装置
1か月前
本田技研工業株式会社
制御装置
1か月前
本田技研工業株式会社
固体電池
1か月前
本田技研工業株式会社
触媒装置
1か月前
本田技研工業株式会社
排気装置
1か月前
本田技研工業株式会社
電気機器
1か月前
本田技研工業株式会社
エンジン
1か月前
本田技研工業株式会社
除草装置
1か月前
本田技研工業株式会社
電気機器
1か月前
本田技研工業株式会社
排気装置
1か月前
本田技研工業株式会社
二次電池
1か月前
本田技研工業株式会社
収容装置
1か月前
本田技研工業株式会社
清掃装置
1か月前
本田技研工業株式会社
電気部品
1か月前
本田技研工業株式会社
内燃機関
1か月前
本田技研工業株式会社
電動船外機
1か月前
本田技研工業株式会社
電極積層体
1か月前
本田技研工業株式会社
全固体電池
1か月前
本田技研工業株式会社
鞍乗型車両
1か月前
本田技研工業株式会社
鞍乗型車両
1か月前
本田技研工業株式会社
全固体電池
1か月前
本田技研工業株式会社
樹脂成型品
1か月前
本田技研工業株式会社
鞍乗型車両
1か月前
本田技研工業株式会社
リアクトル
1か月前
本田技研工業株式会社
蓄電システム
4日前
本田技研工業株式会社
始動制御装置
1か月前
本田技研工業株式会社
遊戯システム
1か月前
続きを見る
他の特許を見る