TOP
|
特許
|
意匠
|
商標
特許ウォッチ
Twitter
他の特許を見る
10個以上の画像は省略されています。
公開番号
2025151457
公報種別
公開特許公報(A)
公開日
2025-10-09
出願番号
2024052893
出願日
2024-03-28
発明の名称
車両
出願人
本田技研工業株式会社
代理人
弁理士法人航栄事務所
主分類
B60L
53/24 20190101AFI20251002BHJP(車両一般)
要約
【課題】充電時にモータにトルクが発生する状況でユーザの意図しない車両の移動を抑制しつつ、車両挙動が大きくなることを抑制可能な車両を提供する。
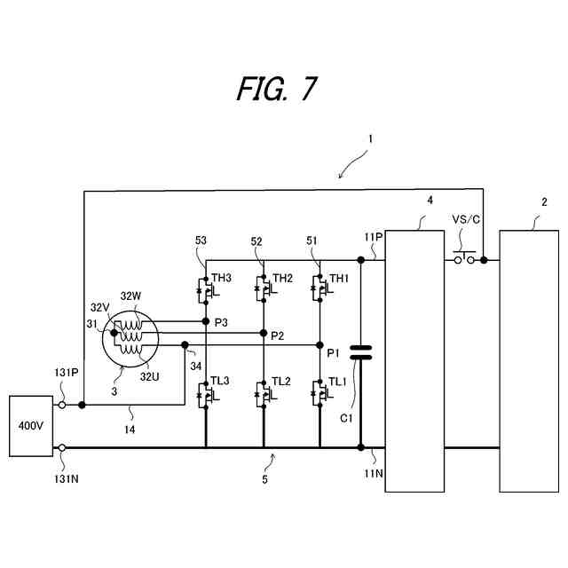
【解決手段】電動車両100は、バッテリ2と、3相モータ3と、インバータ5と、バッテリ2の充電時にバッテリ2に接続されるともに3相モータ3のいずれか一相のコイル32Uに接続される充電端子131Pと、バッテリ2の放電時にバッテリ2からの800Vの電圧で駆動し、バッテリ2を400Vの電圧で充電する時に3相モータ3及びインバータ5で昇圧された800Vの電圧で駆動する補機4と、バッテリ2の充電を制御する制御部10と、を備える。制御部10は、バッテリ2を400Vで充電する時に、1相昇圧モードと2相昇圧モードとを選択可能であって、車両の停止状態においてロータ37の停止位置が電気角で240°~300°である場合に2相昇圧モードを選択する。
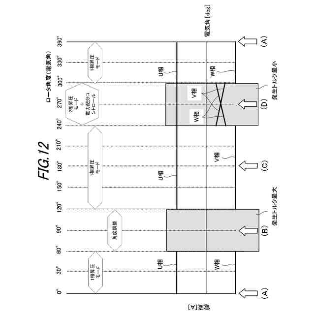
【選択図】図12
特許請求の範囲
【請求項1】
バッテリと、
中性点で連結された3相のコイルが巻回されたステータと、永久磁石を有するロータと、を備え、車輪を駆動するモータと、
前記バッテリからの直流電力を交流電力に変換して前記モータに供給するインバータと、
前記バッテリの充電時に前記バッテリに接続されるともに前記モータの前記3相のコイルのうち第1相のコイルに接続される充電端子と、
前記バッテリの放電時に前記バッテリからの第1電圧で駆動し、前記バッテリを前記第1電圧よりも低い第2電圧で充電する時に前記モータ及び前記インバータで昇圧された前記第1電圧で駆動する電気機器と、
前記バッテリの充電を制御する制御部と、を備える車両であって、
前記制御部は、前記バッテリを前記第2電圧で充電する時に、
前記モータの前記3相のコイルのうち第2相又は第3相のコイルと前記インバータで昇圧する1相昇圧モードと、
前記モータの前記3相のコイルのうち前記第2相及び前記第3相のコイルと前記インバータで昇圧する2相昇圧モードと、を選択可能であって、
前記制御部は、
前記車両の停止状態において前記モータの前記ロータの停止位置が前記第1相を起点として電気角で240°~300°の範囲内である場合に前記2相昇圧モードを選択し、
前記車両の停止状態において前記モータの前記ロータの停止位置が前記第1相を起点として電気角で240°~300°の範囲外である場合に前記1相昇圧モードを選択する、
車両。
続きを表示(約 960 文字)
【請求項2】
請求項1に記載の車両であって、
前記制御部は、
前記車両が停止する際に前記モータの前記ロータの停止位置が前記第1相を起点として電気角で60°~120°の範囲内である場合に、前記バッテリを充電する前にその範囲外となるように前記ロータを回転させる、
車両。
【請求項3】
請求項1に記載の車両であって、
前記制御部は、
前記車両が停止する際に前記モータの前記ロータの停止位置が前記第1相を起点として電気角で0°~60°、120°~240°、又は300°~360°の範囲内である場合に、前記1相昇圧モードを選択し、且つ、前記第2相及び前記第3相のうち前記ロータの回転が最小となる相を選択する、
車両。
【請求項4】
請求項1から3のいずれか1項に記載の車両であって、
前記バッテリと前記電気機器との電力伝達経路には断接装置が設けられ、
前記バッテリを前記第2電圧で充電する時には、前記断接装置により前記バッテリと前記電気機器との電力伝達を遮断する、
車両。
【請求項5】
請求項1に記載の車両であって、
前記制御部は、
前記1相昇圧モードにおいて、電流変化率を所定以下に制御する、
車両。
【請求項6】
請求項2に記載の車両であって、
前記制御部は、
パーキング機構が作動中であって、且つ、ブレーキペダルのON状態において、前記ロータの停止位置が前記第1相を起点として電気角で60°~120°の範囲内である場合に、
前記ブレーキペダルのONからOFFへの移行時に前記パーキング機構を非作動状態にせず前記ロータを回転させる制御を行う、
車両。
【請求項7】
請求項6に記載の車両であって、
前記ロータの回転は、電気角で最大30°である、
車両。
【請求項8】
請求項1に記載の車両であって、
前記制御部は、
前記2相昇圧モードでは、前記モータのロータが停止するように前記第2相のコイルを流れる電流と前記第3相のコイルを流れる電流を配分する、
車両。
発明の詳細な説明
【技術分野】
【0001】
本発明は、バッテリを搭載した車両に関する。
続きを表示(約 1,600 文字)
【背景技術】
【0002】
近年、より多くの人々が手ごろで信頼でき、持続可能かつ先進的なエネルギーへのアクセスを確保できるようにするため、エネルギーの効率化に貢献する二次電池を搭載するモビリティにおける充給電に関する研究開発が行われている。
【0003】
二次電池を搭載するモビリティにおける充給電に関し、充電スタンド等の充電設備には上限電圧が500Vの400V級、及び、上限電圧が1000Vの800V級の2種類が存在する。モビリティが400V級の充電設備にしか対応していない場合や800V級の充電設備にしか対応していない場合、急速充電性能を享受することができない。
【0004】
そこで、例えば特許文献1には、2つのバッテリを直列につなぐ直列充電モードと、2つのバッテリを並列につなぐ並列充電モードと、2つのバッテリのいずれか一方を充電する単独充電モードと、を切り替えて充電設備の充電電圧に合わせることが記載されている。
【0005】
また、特許文献1では、2つのバッテリの電力伝達経路上にモータが配置されているため、充電時に充電電流がモータのコイルを流れる際に充電電流によりトルクが発生し、モータが回転してしまうことが言及されている。
【0006】
これに対し特許文献1では、車両停止後にモータのロータをゼロトルク位置に移動させた後に充電を開始することが記載されているが、車両停止後にモータのロータを移動させる場合、パーキングブレーキを一度解除する必要がある。
【先行技術文献】
【特許文献】
【0007】
特許第7244075号
【発明の概要】
【発明が解決しようとする課題】
【0008】
しかしながら、パーキングブレーキを解除して車両を移動させることはユーザの意図しないものであるため、できる限り避けることが好ましい。
【0009】
本発明は、充電時にモータにトルクが発生する状況でユーザの意図しない車両の移動を抑制しつつ、車両挙動が大きくなることを抑制可能な車両を提供する。
【課題を解決するための手段】
【0010】
本発明は、
バッテリと、
中性点で連結された3相のコイルが巻回されたステータと、永久磁石を有するロータと、を備え、車輪を駆動するモータと、
前記バッテリからの直流電力を交流電力に変換して前記モータに供給するインバータと、
前記バッテリの充電時に前記バッテリに接続されるとともに前記モータの前記3相のコイルのうち第1相のコイルに接続される充電端子と、
前記バッテリの放電時に前記バッテリからの第1電圧で駆動し、前記バッテリを前記第1電圧よりも低い第2電圧で充電する時に前記モータ及び前記インバータで昇圧された前記第1電圧で駆動する電気機器と、
前記バッテリの充電を制御する制御部と、を備える車両であって、
前記制御部は、前記バッテリを前記第2電圧で充電する時に、
前記モータの前記3相のコイルのうち第2相又は第3相のコイルと前記インバータで昇圧する1相昇圧モードと、
前記モータの前記3相のコイルのうち前記第2相及び前記第3相のコイルと前記インバータで昇圧する2相昇圧モードと、を選択可能であって、
前記制御部は、
前記車両の停止状態において前記モータの前記ロータの停止位置が前記第1相を起点として電気角で240°~300°の範囲内である場合に前記2相昇圧モードを選択し、
前記車両の停止状態において前記モータの前記ロータの停止位置が前記第1相を起点として電気角で240°~300°の範囲外である場合に前記1相昇圧モードを選択する。
【発明の効果】
(【0011】以降は省略されています)
この特許をJ-PlatPat(特許庁公式サイト)で参照する
関連特許
本田技研工業株式会社
車両
1か月前
本田技研工業株式会社
車両
1か月前
本田技研工業株式会社
車両
1か月前
本田技研工業株式会社
車両
1か月前
本田技研工業株式会社
車両
1か月前
本田技研工業株式会社
飛行体
1か月前
本田技研工業株式会社
移動体
1か月前
本田技研工業株式会社
収容装置
1か月前
本田技研工業株式会社
二次電池
1か月前
本田技研工業株式会社
排気装置
1か月前
本田技研工業株式会社
触媒装置
1か月前
本田技研工業株式会社
除草装置
1か月前
本田技研工業株式会社
電気機器
1か月前
本田技研工業株式会社
電気部品
1か月前
本田技研工業株式会社
清掃装置
1か月前
本田技研工業株式会社
制御装置
1か月前
本田技研工業株式会社
固体電池
1か月前
本田技研工業株式会社
内燃機関
1か月前
本田技研工業株式会社
電気機器
1か月前
本田技研工業株式会社
固体電池
1か月前
本田技研工業株式会社
電気機器
1か月前
本田技研工業株式会社
排気装置
1か月前
本田技研工業株式会社
内燃機関
1か月前
本田技研工業株式会社
電気機器
1か月前
本田技研工業株式会社
固体電池
1か月前
本田技研工業株式会社
排気装置
1か月前
本田技研工業株式会社
発電セル
1か月前
本田技研工業株式会社
切断装置
1か月前
本田技研工業株式会社
ステータ
1か月前
本田技研工業株式会社
エンジン
1か月前
本田技研工業株式会社
全固体電池
1か月前
本田技研工業株式会社
リンク機構
1か月前
本田技研工業株式会社
鞍乗型車両
1か月前
本田技研工業株式会社
リアクトル
1か月前
本田技研工業株式会社
全固体電池
1か月前
本田技研工業株式会社
電極積層体
1か月前
続きを見る
他の特許を見る