TOP
|
特許
|
意匠
|
商標
特許ウォッチ
Twitter
他の特許を見る
10個以上の画像は省略されています。
公開番号
2025151423
公報種別
公開特許公報(A)
公開日
2025-10-09
出願番号
2024052833
出願日
2024-03-28
発明の名称
清掃装置
出願人
本田技研工業株式会社
代理人
弁理士法人桐朋
主分類
A47L
9/28 20060101AFI20251002BHJP(家具;家庭用品または家庭用設備;コーヒーひき;香辛料ひき;真空掃除機一般)
要約
【課題】保管部又は保管対象物を清掃できる清掃装置を提供する。
【解決手段】清掃装置であるクリーナ200は、バッテリ交換機のスロット16に挿抜可能に設けられる。スロット16は、モバイルバッテリを保管可能である。クリーナ200は、スロット16に挿入された状態で該スロット16の内部を清掃する清掃部202を備える。
【選択図】図11
特許請求の範囲
【請求項1】
保管対象物を保管可能な保管部を有する保管装置の該保管部に挿抜可能に設けられ、前記保管部に挿入された状態で該保管部の内部を清掃する清掃部を備える、清掃装置。
続きを表示(約 1,100 文字)
【請求項2】
請求項1記載の清掃装置において、
前記清掃部を収容する筐体をさらに備え、
前記筐体の外形形状である第1外形形状は、前記保管対象物の外形形状である第2外形形状に近似するように設けられる、清掃装置。
【請求項3】
請求項2記載の清掃装置において、
前記第1外形形状は、前記第2外形形状と略同等となるように設けられる、清掃装置。
【請求項4】
請求項3記載の清掃装置において、
前記第1外形形状は、前記筐体のうちの少なくとも前記保管部に挿入される範囲において、前記第2外形形状と同一寸法となるように設けられる、清掃装置。
【請求項5】
請求項1記載の清掃装置において、
前記清掃部を収容する筐体をさらに備え、
前記筐体の外形形状は、前記保管部の内形形状に近似するように設けられる、清掃装置。
【請求項6】
請求項5記載の清掃装置において、
前記内形形状は、前記保管部に対する該清掃装置の挿抜方向と直交する平面における形状が略矩形に形成され、
前記外形形状の前記平面における形状は、略矩形に形成される、清掃装置。
【請求項7】
請求項6記載の清掃装置において、
前記外形形状は、前記保管部に該清掃装置が挿入された状態で、該保管部の中央を通って前記挿抜方向に延びる軸線回りに前記清掃装置が回転不能となるように形成される、清掃装置。
【請求項8】
請求項1~7のいずれか1項に記載の清掃装置において、
前記保管対象物は、第1電気端子を有する第1電力装置であり、
前記保管装置は、前記第1電気端子と着脱可能な第2電気端子を有する第2電力装置であり、
前記清掃部は、該清掃装置が前記保管部に挿入された状態で、前記第2電気端子を清掃可能に設けられる、清掃装置。
【請求項9】
請求項1~8のいずれか1項に記載の清掃装置において、
前記保管対象物は、第1電気端子を有する第1電力装置であり、
前記保管装置は、前記第1電気端子と着脱可能な第2電気端子を有する第2電力装置であり、
該清掃装置は、前記保管部に挿入された状態で、前記第2電気端子を検査する検査部をさらに備える、清掃装置。
【請求項10】
請求項9記載の清掃装置において、
前記検査部は、前記第2電気端子に接続される検査用端子と、前記検査用端子に接続され、前記検査用端子を介して前記第2電気端子に電流を供給する検査用電源と、前記電流に基づいて前記第2電気端子の劣化の有無又は該劣化の状態を検知する検知部とを有する、清掃装置。
(【請求項11】以降は省略されています)
発明の詳細な説明
【技術分野】
【0001】
本発明は、清掃装置に関する。
続きを表示(約 1,400 文字)
【背景技術】
【0002】
特許文献1には、バッテリセルを有するバッテリ(保管対象物)を収容可能な保持装置(保管装置)が開示されている。保持装置には、複数のスロット(保管部)が設けられている。複数のスロットは、互いに同じ形状及び大きさを有する。複数のスロットの各々は、バッテリを挿抜可能に収容する。
【先行技術文献】
【特許文献】
【0003】
国際公開第2021/107069号
【発明の概要】
【発明が解決しようとする課題】
【0004】
保管装置は、屋外に設置されることがあり、屋外に設置されると、保管部に塵埃等の異物が溜まりやすい。また、保管対象物に異物が付着している状態で該保管対象物を保管部に保管した場合、保管対象物に付着した異物が保管部に溜まる可能性がある。保管部又は保管対象物を清掃できることが望ましい。
【0005】
本発明は、上記した課題を解決することを目的とする。
【課題を解決するための手段】
【0006】
本発明の第1の態様は、保管対象物を保管可能な保管部を有する保管装置の該保管部に挿抜可能に設けられ、前記保管部に挿入された状態で該保管部の内部を清掃する清掃部を備える、清掃装置である。
【0007】
本発明の第2の態様は、保管対象物を収容可能な収容部と、前記保管対象物が該収容部に収容された状態で該保管対象物の外部を清掃する他の清掃部と、を備える、清掃装置である。
【発明の効果】
【0008】
本発明によれば、保管部又は保管対象物を効率よく清掃することができる。
【図面の簡単な説明】
【0009】
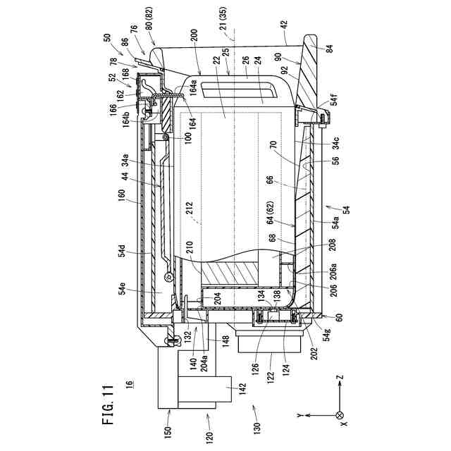
図1は、バッテリ交換機の斜視図である。
図2は、モバイルバッテリの斜視図である。
図3は、モバイルバッテリの平面図である。
図4は、モバイルバッテリの底面図である。
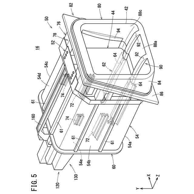
図5は、スロットの斜視図である。
図6は、スロットの斜視図である。
図7は、モバイルバッテリが収容されたスロットの断面図である。
図8は、図7のスロットの一部断面図である。
図9は、第1実施形態に係るクリーナの斜視図である。
図10は、図9のクリーナの底面図である。
図11は、クリーナが挿入されたスロットの断面図である。
図12は、第1変形例に係るクリーナの斜視図である。
図13は、図12のクリーナの底面図である。
図14は、図12のクリーナが挿入されたスロットの断面図である。
図15は、図12のクリーナの回路構成図である。
図16は、第2実施形態に係るクリーナが搭載されたバッテリ交換機の斜視図である。
図17は、モバイルバッテリが収容されたクリーナの断面図である。
図18は、モバイルバッテリが収容されたクリーナの断面図である。
図19は、モバイルバッテリが収容された第2変形例に係るクリーナの断面図である。
図20は、図19のクリーナの回路構成図である。
【発明を実施するための形態】
【0010】
[バッテリ交換機10の概略構成]
図1は、バッテリ交換機10(保管装置、第2電力装置)の斜視図である。
(【0011】以降は省略されています)
この特許をJ-PlatPat(特許庁公式サイト)で参照する
関連特許
本田技研工業株式会社
車両
1か月前
本田技研工業株式会社
車両
1か月前
本田技研工業株式会社
車両
1か月前
本田技研工業株式会社
車両
1か月前
本田技研工業株式会社
車両
1か月前
本田技研工業株式会社
飛行体
1か月前
本田技研工業株式会社
収容装置
1か月前
本田技研工業株式会社
排気装置
1か月前
本田技研工業株式会社
排気装置
1か月前
本田技研工業株式会社
清掃装置
1か月前
本田技研工業株式会社
固体電池
1か月前
本田技研工業株式会社
エンジン
1か月前
本田技研工業株式会社
発電セル
1か月前
本田技研工業株式会社
除草装置
1か月前
本田技研工業株式会社
排気装置
1か月前
本田技研工業株式会社
電気機器
1か月前
本田技研工業株式会社
電気部品
1か月前
本田技研工業株式会社
固体電池
1か月前
本田技研工業株式会社
内燃機関
1か月前
本田技研工業株式会社
内燃機関
1か月前
本田技研工業株式会社
電気機器
1か月前
本田技研工業株式会社
二次電池
1か月前
本田技研工業株式会社
制御装置
1か月前
本田技研工業株式会社
触媒装置
1か月前
本田技研工業株式会社
鞍乗型車両
1か月前
本田技研工業株式会社
電動船外機
1か月前
本田技研工業株式会社
電極積層体
1か月前
本田技研工業株式会社
樹脂成型品
1か月前
本田技研工業株式会社
全固体電池
1か月前
本田技研工業株式会社
全固体電池
1か月前
本田技研工業株式会社
リアクトル
1か月前
本田技研工業株式会社
鞍乗型車両
1か月前
本田技研工業株式会社
鞍乗型車両
1か月前
本田技研工業株式会社
始動制御装置
1か月前
本田技研工業株式会社
移動システム
1か月前
本田技研工業株式会社
作業システム
1か月前
続きを見る
他の特許を見る