TOP
|
特許
|
意匠
|
商標
特許ウォッチ
Twitter
他の特許を見る
10個以上の画像は省略されています。
公開番号
2025153668
公報種別
公開特許公報(A)
公開日
2025-10-10
出願番号
2024056261
出願日
2024-03-29
発明の名称
内燃機関
出願人
本田技研工業株式会社
代理人
個人
,
個人
主分類
F02B
75/32 20060101AFI20251002BHJP(燃焼機関;熱ガスまたは燃焼生成物を利用する機関設備)
要約
【課題】アトキンソンサイクルを実施する内燃機関において、偏心軸の動力伝達のための強度を確保しつつ軽量化を図る内燃機関を提供する。
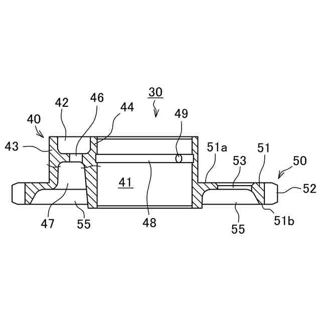
【解決手段】内歯車60と偏心軸30とを備えアトキンソンサイクルを実施する内燃機関において、偏心軸30は、コネクティングロッド16の大端部16aを回転可能に連結する大端連結部40と、内歯車60に噛合して回転する外歯車部50とを有し、外歯車部50に、外歯車部50に対して大端連結部40が偏心した偏心側Rから徐々に面積が大きくなる孔部53を有し、偏心軸の動力伝達のための強度を確保しつつ軽量化を図る。
【選択図】図3
特許請求の範囲
【請求項1】
内歯車(60)と偏心軸(30)とを備え、アトキンソンサイクルを実施する内燃機関において、
前記偏心軸(30)は、コネクティングロッド(16)の大端部(16a)を回転可能に連結する大端連結部(40)と、前記内歯車(60)に噛合して回転する外歯車部(50)とを有し、
前記外歯車部(50)に、前記外歯車部(50)に対して前記大端連結部(40)が偏心した偏心側(R)から徐々に面積が大きくなる孔部(53)を有することを特徴とする内燃機関。
続きを表示(約 760 文字)
【請求項2】
前記外歯車部(50)の一側面(51a)において、前記コネクティングロッド(16)の前記大端部(16a)との接触面に、前記外歯車部(50)の前記一側面(51a)の他の領域よりも表面粗さが低い低面粗領域(54)を有し、
複数の前記孔部(53)のすべてはそれぞれ前記低面粗領域(54)に一部が重なることを特徴とする請求項1に記載の内燃機関。
【請求項3】
前記偏心軸(30)の前記大端連結部(40)は、前記外歯車部(50)と同軸に、クランクピン(24)が挿通されるクランクピン挿通孔(41)を有し、
前記大端連結部(40)の前記クランクピン挿通孔(41)と前記大端連結部(40)との間の偏心した部分とは反対側の領域に、両面から第一肉抜き部(42)と第二肉抜き部(47)を有することを特徴とする請求項1に記載の内燃機関。
【請求項4】
前記第一肉抜き部(42)の外縁は、前記大端連結部(40)の外周壁部(43)を構成することを特徴とする請求項3に記載の内燃機関。
【請求項5】
前記第一肉抜き部(42)は、前記大端連結部(40)の外周に向かって放射状のリブ部(45)を構成することを特徴とする請求項3に記載の内燃機関。
【請求項6】
前記第一肉抜き部(42)は、前記リブ部(45)の間に位置して、前記大端連結部(40)の裏面へ貫通する貫通孔(46)を有することを特徴とする請求項5に記載の内燃機関。
【請求項7】
前記偏心軸(30)の前記外歯車部(50)の一側面(50a)と、前記コネクティングロッド(16)の前記大端部(16a)との間に、ワッシャー(70)が配置されることを特徴とする請求項3に記載の内燃機関。
発明の詳細な説明
【技術分野】
【0001】
本発明は、圧縮比よりも膨張比を大きくして熱効率を改善するアトキンソンサイクルの運転を実施する内燃機関に関する。
続きを表示(約 1,500 文字)
【背景技術】
【0002】
従来から、気候変動の緩和または影響軽減を目的とした取り組みが継続され、この実現に向けて二酸化炭素の排出量低減に関する研究開発が行われている。
ところで、二酸化炭素排出量低減に関する技術においては、内燃機関の燃焼効率を向上させるために、圧縮比よりも膨張比を大きくして熱効率を改善するべくアトキンソンサイクルの運転を実施する内燃機関が種々提案されている(例えば特許文献1参照)。
【0003】
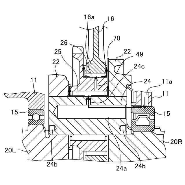
例えば先行技術文献1に開示されるような、クランクピンとコネクティングロッドの大端部の間に偏心軸が介在され、この偏心軸の大端連結部と一体に形成された外歯車部に、クランクケースに保持された内歯車が噛合して、クランク軸2回転に対して、外歯車部が3以上の奇数回転の周期で回転するように構成され、膨張行程の下死点のピストンの位置を圧縮行程の下死点のピストン位置より高くしてアトキンソンサイクルを実施する内燃機関がある。
【先行技術文献】
【特許文献】
【0004】
特開平4-241740号公報
【発明の概要】
【発明が解決しようとする課題】
【0005】
このような内燃機関では、偏心軸の外歯車部は内歯車の内側に配設されて内歯車に噛合して回転するとともに、外歯車部は大端連結部の外側に設けられるので、偏心軸自体が比較的大きくなる。さらに偏心軸の大端連結部はクランクシャフトからの動力をコネクティングロッドに伝達するための強度が求められるので、偏心軸自体の重量が増加してしまう。コネクティングロッドの大端部周辺は高速で回転するので振動の増大を招き、さらに偏心軸自体の遠心力によって発生するクランクピンとの間の荷重により軸受けの摩擦抵抗も増大するため、偏心軸は軽量化が求められるとともに、動力伝達のために必要とする強度も求められるという課題がある。また偏心軸は、クランクウェイトと相対的な回転を行うことから、軸方向の回転抵抗も課題である。
【0006】
本発明は上記した事情に鑑みてなされたものであり、偏心軸の動力伝達のための強度を確保しつつその軽量化を図り、燃焼効率を向上させるアトキンソンサイクルを実施する内燃機関を提供することを目的とする。
【課題を解決するための手段】
【0007】
本発明は、内歯車と偏心軸とを備え、アトキンソンサイクルを実施する内燃機関において、
前記偏心軸は、コネクティングロッドの大端部を回転可能に連結する大端連結部と、前記内歯車に噛合して回転する外歯車部とを有し、
前記外歯車部に、前記外歯車部に対して前記大端連結部が偏心した偏心側から徐々に面積が大きくなる孔部を有することを特徴とする内燃機関である。
【0008】
本発明は、上記したように構成されているので、偏心軸の動力伝達のために必要な強度を確保しつつ軽量化を図り、燃焼効率を図ることができる。
【0009】
上記構成において、前記外歯車部の一側面において、前記コネクティングロッドの前記大端部との接触面に、前記外歯車部の前記一側面の他の領域よりも表面粗さが細かい低面粗領域を有し、
複数の前記孔部のすべてはそれぞれ前記細低面粗領域に一部が重なるようにしてもよい。
【0010】
前記構成によれば、外歯車部の一側面のコネクティングロッドの大端部との非接触面から、外歯車部の一側面とコネクティングロッドの大端部との接触面に潤滑油が流入し、外歯車部と大端部との間の潤滑効果を発揮することができる。
(【0011】以降は省略されています)
この特許をJ-PlatPat(特許庁公式サイト)で参照する
関連特許
個人
バンケル型内燃機関の改良
1か月前
個人
擬似オイル発電装置
11日前
スズキ株式会社
車両の制御装置
1か月前
スズキ株式会社
車両の制御装置
1か月前
ダイハツ工業株式会社
発電装置
6日前
株式会社クボタ
作業車
1か月前
株式会社クボタ
作業車両
1か月前
トヨタ自動車株式会社
車両制御装置
1か月前
トヨタ自動車株式会社
制御装置
5日前
トヨタ自動車株式会社
エンジン制御装置
27日前
トヨタ自動車株式会社
内燃機関の制御装置
18日前
トヨタ自動車株式会社
内燃機関の制御装置
5日前
トヨタ自動車株式会社
フレックス燃料車両
18日前
川崎重工業株式会社
ガスタービンエンジン
28日前
Astemo株式会社
内燃機関の制御装置
5日前
三菱重工業株式会社
燃焼筒の取付方法
1か月前
富士電機株式会社
駆動回路
26日前
トヨタ自動車株式会社
水素エンジンの制御装置
26日前
三菱重工業株式会社
動力装置
1か月前
スズキ株式会社
多気筒エンジンの制御装置
20日前
三菱重工業株式会社
ガスタービン制御方法
1か月前
株式会社豊田自動織機
内燃機関
5日前
三菱重工業株式会社
ガスタービン起動方法
28日前
株式会社デンソー
部品の当接構造
1か月前
個人
タービン入口温度を下げて推力を増すターボファン・エンジン
1か月前
株式会社豊田自動織機
車両制御装置
1か月前
トヨタ自動車株式会社
エンジンシステム
1か月前
株式会社豊田自動織機
ターボチャージャ
13日前
株式会社豊田自動織機
ターボチャージャ
26日前
スズキ株式会社
内燃機関の吸気装置
5日前
三菱重工マリンマシナリ株式会社
過給システム
1か月前
トヨタ自動車株式会社
内燃機関を備えた車両の制御装置
1か月前
トヨタ自動車株式会社
車両駆動装置
13日前
カワサキモータース株式会社
エンジン
1か月前
カワサキモータース株式会社
エンジン
1か月前
スズキ株式会社
エンジンの排気浄化装置
13日前
続きを見る
他の特許を見る