TOP
|
特許
|
意匠
|
商標
特許ウォッチ
Twitter
他の特許を見る
公開番号
2025158816
公報種別
公開特許公報(A)
公開日
2025-10-17
出願番号
2024061710
出願日
2024-04-05
発明の名称
エンジンシステム
出願人
トヨタ自動車株式会社
代理人
弁理士法人片山特許事務所
主分類
F02D
41/14 20060101AFI20251009BHJP(燃焼機関;熱ガスまたは燃焼生成物を利用する機関設備)
要約
【課題】排気エミッションが向上したエンジンシステムを提供することを課題とする。
【解決手段】エンジンと、前記エンジンの排気を浄化すると共に酸素吸蔵能力を有した触媒と、前記エンジンの燃料カットからの復帰以降に前記触媒に流入する排気の空燃比がリッチ空燃比となるように前記エンジンを制御する復帰リッチ制御を実行する制御装置と、を備え、前記制御装置は、前記触媒の最大酸素吸蔵可能量を算出する算出部と、前記最大酸素吸蔵可能量が少ないほど前記復帰リッチ制御の実行期間を短縮する実行期間制御部と、を含むエンジンシステム。
【選択図】図2
特許請求の範囲
【請求項1】
エンジンと、
前記エンジンの排気を浄化すると共に酸素吸蔵能力を有した触媒と、
前記エンジンの燃料カットからの復帰以降に前記触媒に流入する排気の空燃比がリッチ空燃比となるように前記エンジンを制御する復帰リッチ制御を実行する制御装置と、を備え、
前記制御装置は、
前記触媒の最大酸素吸蔵可能量を算出する算出部と、
前記最大酸素吸蔵可能量が少ないほど前記復帰リッチ制御の実行期間を短縮する実行期間制御部と、を含む、エンジンシステム。
発明の詳細な説明
【技術分野】
【0001】
本発明は、エンジンシステムに関する。
続きを表示(約 1,400 文字)
【背景技術】
【0002】
エンジンが燃料カット中の場合、触媒には空気が供給されるため触媒の酸素吸蔵量が増大する。このため、エンジンの燃料カットからの復帰以降に触媒に流入する排気の空燃比がリッチ空燃比となるようにエンジンを制御する復帰リッチ制御が実行される。例えば、触媒の最大酸素吸蔵可能量が低いほど復帰リッチ制御での燃料噴射量を低減する技術がある(例えば特許文献1参照)。
【先行技術文献】
【特許文献】
【0003】
特開2016-121593号公報
【発明の概要】
【発明が解決しようとする課題】
【0004】
上記の技術のように燃料噴射量を低減すると、触媒に流入する排気の空燃比はリッチ空燃比から理論空燃比に近づく。酸素吸蔵量が多い触媒に流入する排気の空燃比が理論空燃比に近いと、触媒からのNOxの排出量が増大して、排気エミッションが悪化するおそれがある。
【0005】
そこで本発明は、排気エミッションが向上したエンジンシステムを提供することを目的とする。
【課題を解決するための手段】
【0006】
上記目的は、エンジンと、前記エンジンの排気を浄化すると共に酸素吸蔵能力を有した触媒と、前記エンジンの燃料カットからの復帰以降に前記触媒に流入する排気の空燃比がリッチ空燃比となるように前記エンジンを制御する復帰リッチ制御を実行する制御装置と、を備え、前記制御装置は、前記触媒の最大酸素吸蔵可能量を算出する算出部と、前記最大酸素吸蔵可能量が少ないほど前記復帰リッチ制御の実行期間を短縮する実行期間制御部と、を含むエンジンシステムによって達成できる。
【発明の効果】
【0007】
本発明によれば、排気エミッションが向上したエンジンシステムを提供できる。
【図面の簡単な説明】
【0008】
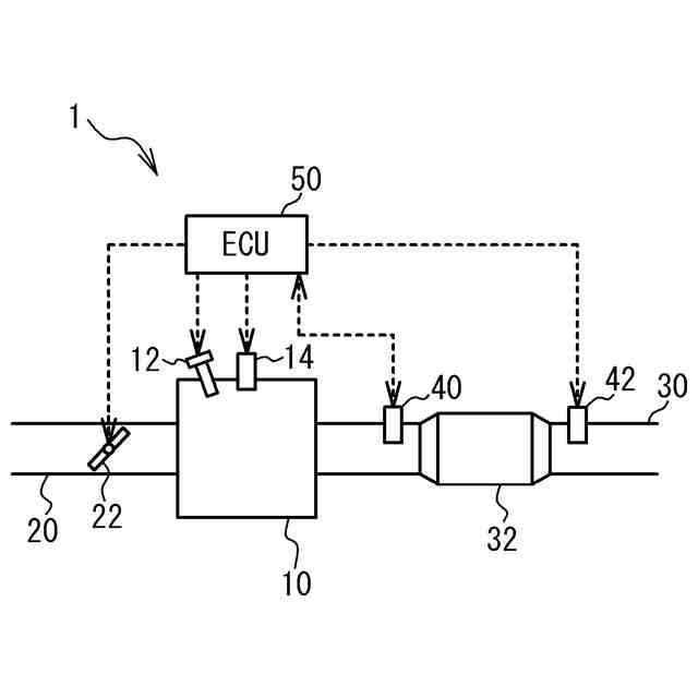
エンジンシステムの概略構成図である。
復帰リッチ制御を例示したフローチャートである。
OSCに応じた閾値α及びβを規定したマップの例示図である。
【発明を実施するための形態】
【0009】
[エンジンシステムの概略構成]
図1は、エンジンシステム1の概略構成図である。エンジンシステム1は、エンジン10、吸気通路20、及び排気通路30を有する。エンジンシステム1は、車両に搭載されている。車両は、例えば走行動力源としてエンジン10のみが搭載されたエンジン車両であってもよいし、走行動力源としてエンジン10と共にモータを備えたハイブリッド車両であってもよい。
【0010】
エンジン10は、複数の気筒を有した多気筒機関である。エンジン10には、筒内噴射弁12及び点火プラグ14が設けられている。筒内噴射弁12は、エンジン10の燃焼室内に燃料を直接噴射する。尚、筒内噴射弁12の代わりに、又は筒内噴射弁に加えてポート噴射弁が設けられていてもよい。点火プラグ14は、燃料と空気との混合気を点火する。吸気通路20には、スロットル弁22が設けられている。スロットル弁22は例えば不図示のアクチュエータなどにより駆動され、吸入空気量を調節する。
(【0011】以降は省略されています)
この特許をJ-PlatPat(特許庁公式サイト)で参照する
関連特許
トヨタ自動車株式会社
電池
2日前
トヨタ自動車株式会社
車両
2日前
トヨタ自動車株式会社
配管
3日前
トヨタ自動車株式会社
車両
3日前
トヨタ自動車株式会社
電池
8日前
トヨタ自動車株式会社
電動車
3日前
トヨタ自動車株式会社
電動車
2日前
トヨタ自動車株式会社
ロータ
3日前
トヨタ自動車株式会社
制御装置
3日前
トヨタ自動車株式会社
制御装置
3日前
トヨタ自動車株式会社
路側装置
15日前
トヨタ自動車株式会社
蓄電装置
2日前
トヨタ自動車株式会社
電動車両
15日前
トヨタ自動車株式会社
学習装置
2日前
トヨタ自動車株式会社
制御装置
3日前
トヨタ自動車株式会社
エンジン
3日前
トヨタ自動車株式会社
路側装置
15日前
トヨタ自動車株式会社
エンジン
2日前
トヨタ自動車株式会社
制御装置
2日前
トヨタ自動車株式会社
蓄電装置
2日前
トヨタ自動車株式会社
コネクタ
2日前
トヨタ自動車株式会社
制御装置
15日前
トヨタ自動車株式会社
路側装置
15日前
トヨタ自動車株式会社
判定装置
2日前
トヨタ自動車株式会社
蓄電セル
10日前
トヨタ自動車株式会社
制御装置
2日前
トヨタ自動車株式会社
監視装置
8日前
トヨタ自動車株式会社
製造設備
8日前
トヨタ自動車株式会社
蓄電装置
15日前
トヨタ自動車株式会社
反応容器
2日前
トヨタ自動車株式会社
路側装置
15日前
トヨタ自動車株式会社
蓄電装置
2日前
トヨタ自動車株式会社
電気自動車
2日前
トヨタ自動車株式会社
動力伝達装置
15日前
トヨタ自動車株式会社
車両制御装置
3日前
トヨタ自動車株式会社
車両側部構造
2日前
続きを見る
他の特許を見る