TOP
|
特許
|
意匠
|
商標
特許ウォッチ
Twitter
他の特許を見る
公開番号
2025167763
公報種別
公開特許公報(A)
公開日
2025-11-07
出願番号
2024072660
出願日
2024-04-26
発明の名称
動力伝達装置
出願人
トヨタ自動車株式会社
代理人
弁理士法人酒井国際特許事務所
主分類
F16H
57/04 20100101AFI20251030BHJP(機械要素または単位;機械または装置の効果的機能を生じ維持するための一般的手段)
要約
【課題】真空の雰囲気中において、摺動部の摩耗を低減することができる動力伝達装置を提供すること。
【解決手段】動力伝達装置は、真空の雰囲気中で用いられ、減速機のケースの内部と外部とに連通する酸素供給配管を備え、ケースの外部に配置される酸素供給配管の一端には、酸素の供給口が形成されており、ケースの内部に配置される酸素供給配管の他端には、酸素の排出口が形成されており、酸素の排出口が、ケース内のオイルパンに貯留された潤滑油に浸漬している。
【選択図】図1
特許請求の範囲
【請求項1】
真空の雰囲気中で用いられ、
減速機のケースの内部と外部とに連通する酸素供給配管を備え、
前記ケースの外部に配置される前記酸素供給配管の一端には、酸素の供給口が形成されており、
前記ケースの内部に配置される前記酸素供給配管の他端には、酸素の排出口が形成されており、
前記酸素の排出口は、前記ケース内のオイルパンに貯留された潤滑油に浸漬している、
動力伝達装置。
発明の詳細な説明
【技術分野】
【0001】
本開示は、動力伝達装置に関する。
続きを表示(約 1,100 文字)
【背景技術】
【0002】
特許文献1には、宇宙空間等の真空環境下で使用される固体潤滑方式の転がり軸受が開示されている。
【先行技術文献】
【特許文献】
【0003】
特開2017-106559号公報
【発明の概要】
【発明が解決しようとする課題】
【0004】
特許文献1で開示されているような固体潤滑剤を用いる方式では、摺動部の潤滑はできるものの、冷却を行うことはできない。そのため、摺動負荷や摺動回数の多い機器での使用や、放熱されにくい真空の雰囲気中での使用は特に不利となる。
【0005】
また、固体潤滑剤の代わりに液体の潤滑油を用いることも考えられるが、真空の雰囲気中では、潤滑油中の摩耗防止剤の被膜生成反応が進みづらいため、摺動部の摩耗が進行しやすくなるおそれがある。
【0006】
本開示は、上記に鑑みてなされたものであって、真空の雰囲気中において、摺動部の摩耗を低減することができる動力伝達装置を提供することを目的とする。
【課題を解決するための手段】
【0007】
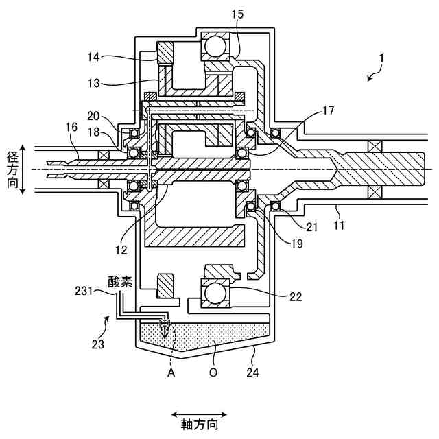
本開示に係る動力伝達装置は、真空の雰囲気中で用いられ、減速機のケースの内部と外部とに連通する酸素供給配管を備え、前記ケースの外部に配置される前記酸素供給配管の一端には、酸素の供給口が形成されており、前記ケースの内部に配置される前記酸素供給配管の他端には、酸素の排出口が形成されており、前記酸素の排出口が、前記ケース内のオイルパンに貯留された潤滑油に浸漬している。
【発明の効果】
【0008】
本開示によれば、潤滑油に酸素を供給することにより、真空の雰囲気中においても、ケース内のギヤ表面に保護被膜が再度生成されるため、摺動時の摩擦が低減され、長寿命化を実現することができる。
【図面の簡単な説明】
【0009】
図1は、実施形態に係る動力伝達装置の構成の一例を示す断面図である。
図2は、図1のA部で示した酸素供給配管の排出口の構成の一例を示す正面図である。
図3は、大気中および真空中における摺動後のギヤ表面の検出元素の一例を示すグラフである。
図4は、実施形態に係る動力伝達装置内の酸素量と保護被膜の厚さとの関係の一例を示すグラフである。
【発明を実施するための形態】
【0010】
本開示の実施形態に係る動力伝達装置について、図面を参照しながら説明する。なお、下記実施形態における構成要素には、当業者が置換可能かつ容易なもの、あるいは実質的に同一のものが含まれる。
(【0011】以降は省略されています)
この特許をJ-PlatPat(特許庁公式サイト)で参照する
関連特許
個人
ナット
1か月前
個人
ゲート弁バルブ
17日前
兼工業株式会社
バルブ
1か月前
竹内工業株式会社
ラッチ
2日前
株式会社三五
ドライブシャフト
1か月前
株式会社ニフコ
クリップ
17日前
アマテイ株式会社
釘
1か月前
株式会社ノナガセ
免震装置
1か月前
株式会社山谷設備
被覆除去具
9日前
カヤバ株式会社
シリンダ装置
1か月前
カヤバ株式会社
シリンダ装置
3日前
Astemo株式会社
緩衝器
1か月前
金子産業株式会社
筐体
18日前
株式会社小糸製作所
スクリュー
3日前
株式会社フジキン
バルブ
1か月前
株式会社パイオラックス
保持具
1か月前
株式会社パイオラックス
保持具
1か月前
株式会社パイオラックス
保持具
1か月前
NTN株式会社
焼成軸受
1か月前
星和電機株式会社
難燃性断熱材
1か月前
株式会社パイオラックス
留め具
2日前
レック株式会社
係止器具
1か月前
NTN株式会社
焼成軸受
1か月前
株式会社不二越
流路切換弁
9日前
株式会社KVK
配管カバー
17日前
個人
木ねじ成形型
1か月前
日本サーモスタット株式会社
弁装置
10日前
富士電機株式会社
パネル構造
9日前
株式会社クボタ
作業車
23日前
富士電機株式会社
パネル構造
9日前
旭有機材株式会社
流体制御弁
9日前
旭有機材株式会社
流体制御弁
9日前
日本精工株式会社
環境配慮型機械部品
1か月前
個人
ボルトに締め込むナットの緩み止の構造
1か月前
NTN株式会社
ボールねじ装置
1か月前
NTN株式会社
ボールねじ装置
1か月前
続きを見る
他の特許を見る