TOP
|
特許
|
意匠
|
商標
特許ウォッチ
Twitter
他の特許を見る
公開番号
2025167611
公報種別
公開特許公報(A)
公開日
2025-11-07
出願番号
2024072418
出願日
2024-04-26
発明の名称
制御装置
出願人
トヨタ自動車株式会社
代理人
弁理士法人 快友国際特許事務所
主分類
B23P
19/00 20060101AFI20251030BHJP(工作機械;他に分類されない金属加工)
要約
【課題】いくつかの部品が組付けられていない状態の車両を自走させて、第1の対象部品、第2の対象部品を車両に組付けることができる技術を提供する。
【解決手段】制御装置は、通常モード、工場モード、及び、フェールセーフモードのうちのいずれかのモードを選択的に実行可能に構成されている。制御装置は、工場モードを実行中に、工程情報を利用して、第1の場所に車両を自走させ、工場側設備から、車両への第1の対象部品の組付が実行したことを示す組付信号を受信し、工場側設備から組付信号が受信される場合に、メモリ内のダイアグ情報を利用して、第1の対象部品が正常に組付けられているのか否かを判定し、第1の対象部品が正常に組付けられていると判定される場合に、完了情報を工場側設備に送信し、第1の対象部品が正常に組付けられていると判定される場合に、工程情報を利用して、第2の場所に車両を自走させる。
【選択図】図2
特許請求の範囲
【請求項1】
車両に搭載される制御装置であって、
通常モード、工場モード、及び、フェールセーフモードのうちのいずれかのモードを選択的に実行可能に構成されており、
前記通常モードを実行中において、前記車両に搭載される部品の異常が検出される場合に、前記フェールセーフモードを実行し、前記工場モードを実行中において、前記異常が検出されても、前記フェールセーフモードを実行しないように構成されており、
前記車両に組付けられる複数の部品に対応するダイアグ情報を記憶するメモリと、
工場側設備から起動指示を受信する第1の受信部と、
前記工場側設備から工程情報を受信する第2の受信部と、
前記工場側設備から前記起動指示が受信される場合に、前記工場モードを実行するモード実行部と、
前記工場モードを実行中に、前記工程情報を利用して、第1の対象部品を前記車両に組付けるための第1の場所に前記車両を自走させる第1の自走部と、
前記車両が前記第1の場所に自走した後に、前記工場側設備から、前記車両への前記第1の対象部品の組付が実行したことを示す組付信号を受信する第3の受信部と、
前記工場側設備から前記組付信号が受信される場合に、前記メモリ内の前記ダイアグ情報を利用して、前記第1の対象部品が正常に組付けられているのか否かを判定する判定部と、
前記第1の対象部品が正常に組付けられていると判定される場合に、前記第1の対象部品が正常に組付けられたことを示す完了情報を前記工場側設備に送信する送信部と、
前記第1の対象部品が正常に組付けられていると判定される場合に、前記工程情報を利用して、第2の対象部品を前記車両に組付けるための第2の場所に前記車両を自走させる第2の自走部と、
を備える、制御装置。
発明の詳細な説明
【技術分野】
【0001】
本明細書が開示する技術は、車両に搭載される制御装置に関する。
続きを表示(約 2,000 文字)
【背景技術】
【0002】
特許文献1に、工場内を自走可能な車両が開示されている。この車両は、工場側設備から受信される情報によって示される製造位置まで工場内を自走する。そして、車両が製造位置に自走した後に、部品が車両に組付けられる。
【先行技術文献】
【特許文献】
【0003】
米国出願公開2022/080955号明細書
【発明の概要】
【発明が解決しようとする課題】
【0004】
車両に搭載される制御装置の中には、車両に組付けられている部品に異常が発生しているのか否かを判定する制御装置が存在する。この制御装置は、車両に部品が組付けられていない場合、当該部品に異常が発生していると判定する。そして、制御装置は、部品に異常が発生していると判定する場合に、いわゆるフェールセーフモードを実行する。フェールセーフモードでは、車両の走行が禁止され得る。即ち、車両への全ての部品の組付が完了する前において、フェールセーフモードが実行されることに応じて、車両の走行が禁止され得る。このため、いくつかの部品が組付けられていない状態の車両を、工場内を自走させることができない。
【0005】
本明細書では、いくつかの部品が組付けられていない状態の車両を自走させて、第1の対象部品、第2の対象部品を車両に組付けることができる技術を提供する。
【課題を解決するための手段】
【0006】
本明細書が開示する第1の態様では、車両に搭載される制御装置は、通常モード、工場モード、及び、フェールセーフモードのうちのいずれかのモードを選択的に実行可能に構成されており、前記通常モードを実行中において、前記車両に搭載される部品の異常が検出される場合に、前記フェールセーフモードを実行し、前記工場モードを実行中において、前記異常が検出されても、前記フェールセーフモードを実行しないように構成されており、前記車両に組付けられる複数の部品に対応するダイアグ情報を記憶するメモリと、工場側設備から起動指示を受信する第1の受信部と、前記工場側設備から工程情報を受信する第2の受信部と、前記工場側設備から前記起動指示が受信される場合に、前記工場モードを実行するモード実行部と、前記工場モードを実行中に、前記工程情報を利用して、第1の対象部品を前記車両に組付けるための第1の場所に前記車両を自走させる第1の自走部と、前記車両が前記第1の場所に自走した後に、前記工場側設備から、前記車両への前記第1の対象部品の組付が実行したことを示す組付信号を受信する第3の受信部と、前記工場側設備から前記組付信号が受信される場合に、前記メモリ内の前記ダイアグ情報を利用して、前記第1の対象部品が正常に組付けられているのか否かを判定する判定部と、前記第1の対象部品が正常に組付けられていると判定される場合に、前記第1の対象部品が正常に組付けられたことを示す完了情報を前記工場側設備に送信する送信部と、前記第1の対象部品が正常に組付けられていると判定される場合に、前記工程情報を利用して、第2の対象部品を前記車両に組付けるための第2の場所に前記車両を自走させる第2の自走部と、を備える。
【0007】
上記の構成によると、車両は、制御装置が工場モードを実行可能なために、第1の対象部品、第2の対象部品が車両に組付けられていない状態においても、工場内を自走することができる。従って、車両を自走させて、第1の対象部品、第2の対象部品を車両に組付けることができる。
【図面の簡単な説明】
【0008】
車両生産システム2の構成を概略的に示す図である。
車両10の制御装置20によって実行される組付け処理のフローチャート図である。
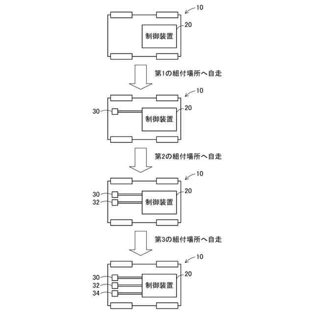
具体的なケースを示す図である。
【発明を実施するための形態】
【0009】
図1を参照して、車両生産システム2について説明する。車両生産システム2は、工場4で利用されるシステムであり、車両を生産するためのシステムである。車両生産システム2は、車両10と、工場側設備100と、を備えている。一例であるが、車両10は、バッテリ電動車、ハイブリッド電動車、燃料電池電動車、プラグインハイブリッド電動車である。
【0010】
車両10は、制御装置20と、第1の部品30と、第2の部品32と、第3の部品34と、を備えている。制御装置20は、いわゆるECUである。制御装置20は、CPU(図示省略)と、メモリ22と、を備えている。メモリ22には、第1の部品30~第3の部品34に対応するダイアグ情報24が記憶されている。ダイアグ情報24は、第1の部品30~第3の部品34に異常が判定しているのか否かを判定するための情報である。
(【0011】以降は省略されています)
この特許をJ-PlatPat(特許庁公式サイト)で参照する
関連特許
トヨタ自動車株式会社
電池
1日前
トヨタ自動車株式会社
電池
1日前
トヨタ自動車株式会社
電池
9日前
トヨタ自動車株式会社
車両
9日前
トヨタ自動車株式会社
電動車
9日前
トヨタ自動車株式会社
蓄電装置
1日前
トヨタ自動車株式会社
処理装置
1日前
トヨタ自動車株式会社
蓄電装置
9日前
トヨタ自動車株式会社
蓄電装置
1日前
トヨタ自動車株式会社
蓄電装置
1日前
トヨタ自動車株式会社
蓄電装置
2日前
トヨタ自動車株式会社
蓄電装置
1日前
トヨタ自動車株式会社
蓄電装置
1日前
トヨタ自動車株式会社
蓄電装置
1日前
トヨタ自動車株式会社
蓄電装置
1日前
トヨタ自動車株式会社
塗工装置
1日前
トヨタ自動車株式会社
蓄電装置
1日前
トヨタ自動車株式会社
蓄電装置
2日前
トヨタ自動車株式会社
蓄電装置
9日前
トヨタ自動車株式会社
蓄電装置
1日前
トヨタ自動車株式会社
蓄電装置
9日前
トヨタ自動車株式会社
蓄電装置
1日前
トヨタ自動車株式会社
蓄電装置
1日前
トヨタ自動車株式会社
蓄電装置
1日前
トヨタ自動車株式会社
エンジン
9日前
トヨタ自動車株式会社
蓄電装置
1日前
トヨタ自動車株式会社
蓄電装置
1日前
トヨタ自動車株式会社
車両装置
1日前
トヨタ自動車株式会社
制御装置
1日前
トヨタ自動車株式会社
制御装置
9日前
トヨタ自動車株式会社
制御装置
9日前
トヨタ自動車株式会社
判定装置
9日前
トヨタ自動車株式会社
エンジン
1日前
トヨタ自動車株式会社
反応容器
9日前
トヨタ自動車株式会社
電気自動車
9日前
トヨタ自動車株式会社
正極活物質
3日前
続きを見る
他の特許を見る