TOP
|
特許
|
意匠
|
商標
特許ウォッチ
Twitter
他の特許を見る
公開番号
2025174170
公報種別
公開特許公報(A)
公開日
2025-11-28
出願番号
2024080283
出願日
2024-05-16
発明の名称
蓄電装置
出願人
トヨタ自動車株式会社
代理人
弁理士法人深見特許事務所
主分類
H01M
50/367 20210101AFI20251120BHJP(基本的電気素子)
要約
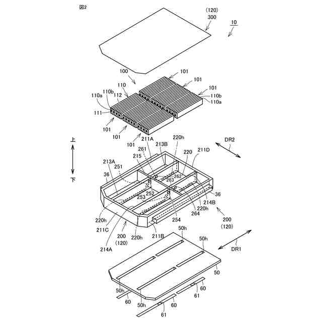
【課題】デブリの堆積を抑制しつつ、互いに隣り合う蓄電スタック間での熱の伝達を抑制可能な蓄電装置を提供する。
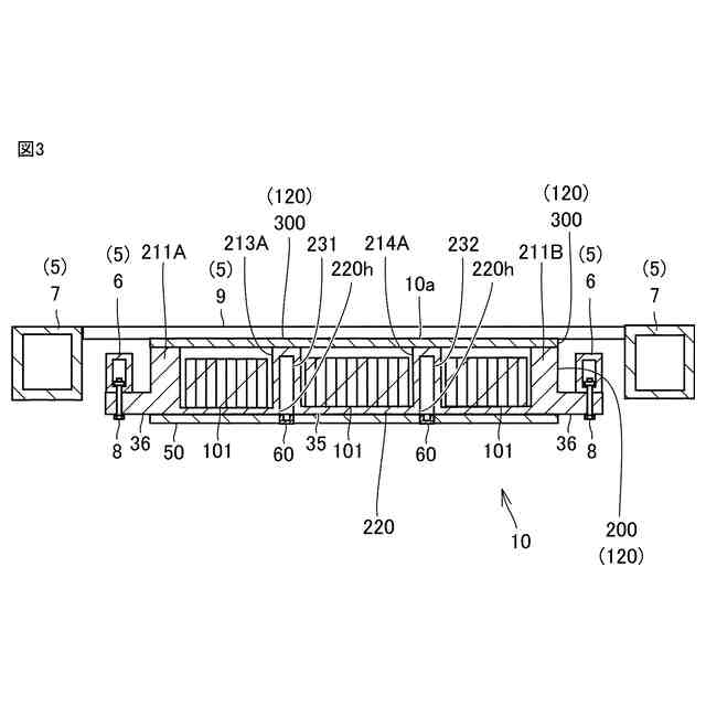
【解決手段】蓄電装置10は、開口部220hを有する収容ケース120と、蓄電モジュール100と、開口部220hを覆うフレーム部材と、蓄電モジュール100を冷却する冷却器50と、を備える。蓄電モジュール100は、互いに隣り合って配置された蓄電スタック101を含み、フレーム部材は、互いに隣り合って配置された蓄電スタック101の間に配置されており、フレーム部材の内側には、開口部220hに連通する排煙経路が位置しており、フレーム部材には、互いに隣り合って配置された蓄電スタック101のいずれかから排出されたガスを排煙経路に導入するための導入口が設けられており、冷却器50には、開口部220hに対応する位置に貫通孔50hが設けられている。
【選択図】図2
特許請求の範囲
【請求項1】
開口部を有する収容ケースと、
前記収容ケース内に配置された蓄電モジュールと、
前記開口部を覆うように前記収容ケース内に設けられたフレーム部材と、
前記蓄電モジュールを冷却する冷却器と、を備え、
前記蓄電モジュールは、互いに隣り合って配置された蓄電スタックを含み、
前記フレーム部材は、前記互いに隣り合って配置された蓄電スタックの間に配置されており、
前記フレーム部材の内側には、前記開口部に連通する排煙経路が位置しており、
前記フレーム部材には、前記互いに隣り合って配置された蓄電スタックのいずれかから排出されたガスを前記排煙経路に導入するための導入口が設けられており、
前記冷却器には、前記開口部に対応する位置に貫通孔が設けられている、蓄電装置。
続きを表示(約 160 文字)
【請求項2】
前記開口部および前記貫通孔のいずれか一方には、前記排煙経路から前記収容ケースの外部に前記ガスを排出するための排気弁が設けられている、請求項1に記載の蓄電装置。
【請求項3】
前記収容ケースは、底部を有し、
前記開口部は、前記底部に設けられている、請求項1または2に記載の蓄電装置。
発明の詳細な説明
【技術分野】
【0001】
本開示は、車両に搭載される蓄電装置に関する。
続きを表示(約 1,500 文字)
【背景技術】
【0002】
従来の蓄電装置として、国際公開第2020/134054号(特許文献1)には、複数の蓄電スタックの各々を配置する領域を区画するための区画部材(フレーム部材)を中空部材で構成し、当該中空部材の中空部を排煙経路として利用する構造が開示されている。中空部材には、蓄電装置から排出されたガスを導入するための複数の導入口が設けられている。
【先行技術文献】
【特許文献】
【0003】
国際公開第2020/134054号
【発明の概要】
【発明が解決しようとする課題】
【0004】
排煙経路を高温のガスが流れることにより、当該排煙経路が設けられたフレーム部材が高温となる。何ら手立てが無い場合には、フレーム部材から当該フレーム部材に隣り合う蓄電スタックに熱が伝わり、蓄電スタックが連鎖的に発熱することが起こり得る。また、排煙経路の出口部は、収容ケースの前壁部あるいは後壁部に設けられているため、出口部までの経路長が長くなり、排煙経路にデブリが堆積することも起こり得る。
【0005】
本開示は、上記のような問題に鑑みてなされたものであり、本開示の目的は、デブリの堆積を抑制しつつ、互いに隣り合う蓄電スタック間での熱の伝達を抑制可能な蓄電装置を提供することにある。
【課題を解決するための手段】
【0006】
本開示に基づく蓄電装置は、開口部を有する収容ケースと、上記収容ケース内に配置された蓄電モジュールと、上記開口部を覆うように上記収容ケース内に設けられたフレーム部材と、上記蓄電モジュールを冷却する冷却器と、を備える。上記蓄電モジュールは、互いに隣り合って配置された蓄電スタックを含む。上記フレーム部材は、上記互いに隣り合って配置された蓄電スタックの間に配置されている。上記フレーム部材の内側には、上記開口部に連通する排煙経路が位置している。上記フレーム部材には、上記互いに隣り合って配置された蓄電スタックのいずれかから排出されたガスを上記排煙経路に導入するための導入口が設けられている。上記冷却器には、上記開口部に対応する位置に貫通孔が設けられている。
【0007】
上記構成によれば、蓄電装置からフレーム部材の内側に位置する排煙経路に導入されたガスを底部の開口部および冷却器の貫通孔を介して収容ケースの外部に直接排出することができる。これにより、ガスの移動距離を短くでき、フレーム部材が高温になることを抑制できる。この結果、発熱した蓄電スタックとは反対側においてフレーム部材に隣り合う蓄電スタックに、フレーム部材から熱が伝わることを抑制でき、互いに隣り合う蓄電スタック間で熱連鎖を抑制できる。また、ガスの移動距離が短くしつつ、開口部および貫通孔を介してデブリも外部に排出することができるため、排煙経路でのデブリの堆積も抑制できる。
【0008】
上記本開示に基づく蓄電装置にあっては、上記開口部には、上記排煙経路から上記収容ケースの外部に上記ガスを排出するための排気弁が設けられていてもよい。
【0009】
上記構成によれば、冷却器の貫通孔および底部に設けられた開口部を介して、蓄電装置外の外気または異物等が、収容ケース内に侵入することを抑制できる。また、排気弁からデブリを蓄電装置外に排出することもできる。
【0010】
上記本開示に基づく蓄電装置にあっては、上記収容ケースは、底部を有する。上記開口部は、上記底部に設けられていてもよい。
(【0011】以降は省略されています)
この特許をJ-PlatPat(特許庁公式サイト)で参照する
関連特許
APB株式会社
蓄電セル
1か月前
東ソー株式会社
絶縁電線
1か月前
個人
フレキシブル電気化学素子
1か月前
マクセル株式会社
電源装置
29日前
日新イオン機器株式会社
イオン源
1か月前
株式会社ユーシン
操作装置
1か月前
ローム株式会社
半導体装置
1か月前
株式会社東芝
端子台
29日前
富士電機株式会社
電磁接触器
8日前
三菱電機株式会社
回路遮断器
16日前
株式会社GSユアサ
蓄電装置
8日前
株式会社ホロン
冷陰極電子源
1か月前
株式会社GSユアサ
蓄電装置
22日前
株式会社GSユアサ
蓄電設備
1か月前
株式会社GSユアサ
蓄電設備
1か月前
株式会社GSユアサ
蓄電装置
1か月前
太陽誘電株式会社
コイル部品
1か月前
株式会社GSユアサ
蓄電装置
1か月前
日本特殊陶業株式会社
保持装置
21日前
トヨタ自動車株式会社
バッテリ
1か月前
北道電設株式会社
配電具カバー
1か月前
トヨタ自動車株式会社
蓄電装置
1か月前
サクサ株式会社
電池の固定構造
1か月前
大電株式会社
電線又はケーブル
今日
トヨタ自動車株式会社
冷却構造
1か月前
日新イオン機器株式会社
基板処理装置
1か月前
トヨタ自動車株式会社
蓄電装置
1か月前
ノリタケ株式会社
熱伝導シート
1か月前
日本特殊陶業株式会社
保持装置
1か月前
ホシデン株式会社
複合コネクタ
2日前
トヨタ自動車株式会社
蓄電装置
今日
古河電気工業株式会社
端子
1か月前
日本無線株式会社
レーダアンテナ
23日前
甲神電機株式会社
変流器及び零相変流器
23日前
トヨタ自動車株式会社
電池パック
1か月前
トヨタ自動車株式会社
密閉型電池
1か月前
続きを見る
他の特許を見る