TOP
|
特許
|
意匠
|
商標
特許ウォッチ
Twitter
他の特許を見る
公開番号
2025172380
公報種別
公開特許公報(A)
公開日
2025-11-26
出願番号
2024077865
出願日
2024-05-13
発明の名称
正極活物質
出願人
トヨタ自動車株式会社
代理人
弁理士法人深見特許事務所
主分類
H01M
4/525 20100101AFI20251118BHJP(基本的電気素子)
要約
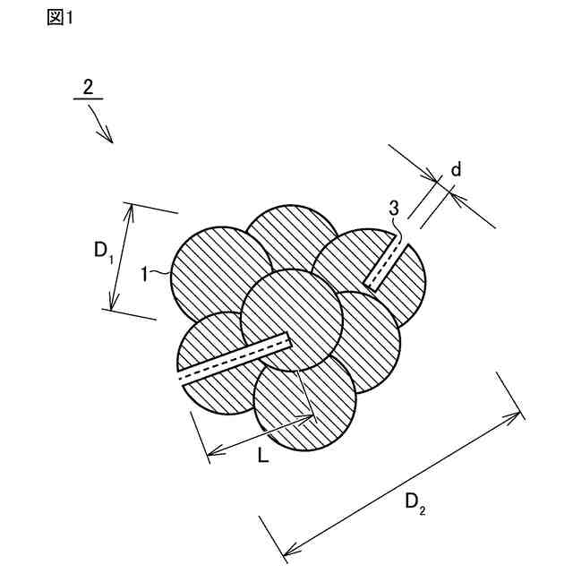
【課題】耐久性の改善。
【解決手段】正極活物質は、結晶子を含む。結晶子は単独で存在するか、または、二次粒子を形成している。二次粒子は、2から20個の結晶子を含む。結晶子の各々は、1μm以上の最大フェレ径を有する。結晶子、および、二次粒子の少なくとも一方に、開気孔が形成されている。開気孔は、10から500nmの開口径を有する。「0.006≦L/D<0.500」の関係が満たされている。「L」は、開気孔の経路長を示す。結晶子が単独で存在する場合、「D」は結晶子の最大フェレ径を示す。結晶子が二次粒子を形成している場合、「D」は二次粒子の最大フェレ径を示す。
【選択図】図1
特許請求の範囲
【請求項1】
結晶子を含み、
前記結晶子は単独で存在するか、または、二次粒子を形成しており、
前記二次粒子は、2から20個の前記結晶子を含み、
前記結晶子の各々は、1μm以上の最大フェレ径を有し、
前記結晶子、および、前記二次粒子の少なくとも一方に、開気孔が形成されており、
前記開気孔は、10から500nmの開口径を有し、
0.006≦L/D<0.500
の関係が満たされており、
前記Lは、前記開気孔の経路長を示し、
前記結晶子が単独で存在する場合、前記Dは前記結晶子の最大フェレ径を示し、かつ、
前記結晶子が前記二次粒子を形成している場合、前記Dは前記二次粒子の最大フェレ径を示す、
正極活物質。
続きを表示(約 240 文字)
【請求項2】
0.010≦L/D≦0.490
の関係が満たされている
請求項1に記載の正極活物質。
【請求項3】
前記開気孔は、前記結晶子の表面に開口している、
請求項1に記載の正極活物質。
【請求項4】
前記開気孔は、前記結晶子同士の間に開口している、
請求項1に記載の正極活物質。
【請求項5】
前記開気孔は、直線的に延びている、
請求項1から請求項4のいずれか1項に記載の正極活物質。
発明の詳細な説明
【技術分野】
【0001】
本開示は、正極活物質に関する。
続きを表示(約 1,300 文字)
【背景技術】
【0002】
国際公開第2022/137360号は、特定範囲の気孔率、平均気孔径および界面長を有する、リチウム複合酸化物焼結板を開示する。
【先行技術文献】
【特許文献】
【0003】
国際公開第2022/137360号
【発明の概要】
【発明が解決しようとする課題】
【0004】
正極活物質は、結晶子を含む。結晶子は、二次粒子を形成していることもある。充放電の繰り返しにより、結晶子は、膨張と収縮とを繰り返す。結晶子の体積変化によって、結晶子内に歪みが蓄積し得る。歪みの蓄積により、結晶子内でクラックが発生し得る。クラックの発生により、新生面が露出する。新生面が電解質と反応することにより、容量低下が促進されると考えられる。すなわち、耐久性が低下すると考えられる。
【0005】
本開示の目的は、耐久性の改善にある。
【課題を解決するための手段】
【0006】
1.正極活物質は、結晶子を含む。結晶子は単独で存在するか、または、二次粒子を形成している。二次粒子は、2から20個の結晶子を含む。結晶子の各々は、1μm以上の最大フェレ径を有する。結晶子、および、二次粒子の少なくとも一方に、開気孔が形成されている。開気孔は、10から500nmの開口径を有する。「0.006≦L/D<0.500」の関係が満たされている。「L」は、開気孔の経路長を示す。結晶子が単独で存在する場合、「D」は結晶子の最大フェレ径を示す。結晶子が二次粒子を形成している場合、「D」は二次粒子の最大フェレ径を示す。
【0007】
本開示においては、結晶子および二次粒子の少なくとも一方に、浅い微細孔が形成される。すなわち、開気孔の開口径は、10から500nmである。さらに、二次粒子(または結晶子)の最大フェレ径に対する、開気孔の経路長の比(L/D)が0.06以上0.500未満である。浅い微細孔は、結晶子の体積変化を緩和し得る。歪みの蓄積が軽減されることにより、耐久性の向上が期待される。なお、比(L/D)が0.006未満であると、結晶子の体積変化を十分緩和できない可能性がある。比(L/D)が0.500以上になると、かえって耐久性が低下する可能性がある。深い微細孔が粒子を分離することにより、体積変化を吸収し得る緩衝区間が狭くなるためと考えられる。
【0008】
2.上記「1」に記載の正極活物質は、例えば、次の構成を含んでいてもよい。「0.010≦L/D≦0.490」の関係が満たされている。
【0009】
3.上記「1」または「2」に記載の正極活物質は、例えば、次の構成を含んでいてもよい。開気孔は、結晶子の表面に開口している。
【0010】
4.上記「1」から「3」のいずれか1項に記載の正極活物質は、例えば、次の構成を含んでいてもよい。開気孔は、結晶子同士の間に開口している。
(【0011】以降は省略されています)
この特許をJ-PlatPat(特許庁公式サイト)で参照する
関連特許
APB株式会社
蓄電セル
1か月前
東ソー株式会社
絶縁電線
1か月前
マクセル株式会社
電源装置
27日前
ローム株式会社
半導体装置
1か月前
株式会社東芝
端子台
27日前
三菱電機株式会社
回路遮断器
14日前
株式会社GSユアサ
蓄電装置
6日前
株式会社GSユアサ
蓄電装置
20日前
富士電機株式会社
電磁接触器
6日前
株式会社GSユアサ
蓄電装置
28日前
株式会社GSユアサ
蓄電装置
28日前
トヨタ自動車株式会社
冷却構造
1か月前
ホシデン株式会社
複合コネクタ
今日
北道電設株式会社
配電具カバー
1か月前
日新イオン機器株式会社
基板処理装置
1か月前
日本特殊陶業株式会社
保持装置
19日前
トヨタ自動車株式会社
蓄電装置
28日前
トヨタ自動車株式会社
バッテリ
1か月前
日本特殊陶業株式会社
保持装置
1か月前
ヒロセ電機株式会社
電気コネクタ
6日前
株式会社デンソー
電子装置
1か月前
ローム株式会社
半導体モジュール
7日前
日亜化学工業株式会社
半導体レーザ素子
1か月前
トヨタ自動車株式会社
密閉型電池
29日前
住友電装株式会社
コネクタ
6日前
住友電装株式会社
コネクタ
1か月前
トヨタ自動車株式会社
電池パック
1か月前
トヨタ自動車株式会社
電池パック
1か月前
甲神電機株式会社
変流器及び零相変流器
21日前
ローム株式会社
半導体装置
1か月前
矢崎総業株式会社
コネクタ
6日前
日本無線株式会社
レーダアンテナ
21日前
株式会社レゾナック
冷却器
14日前
株式会社半導体エネルギー研究所
二次電池
1か月前
株式会社デンソー
半導体装置
6日前
マクセル株式会社
扁平形電池
1か月前
続きを見る
他の特許を見る