TOP
|
特許
|
意匠
|
商標
特許ウォッチ
Twitter
他の特許を見る
公開番号
2025171334
公報種別
公開特許公報(A)
公開日
2025-11-20
出願番号
2024076547
出願日
2024-05-09
発明の名称
エンジン
出願人
トヨタ自動車株式会社
代理人
個人
,
個人
主分類
F01M
13/00 20060101AFI20251113BHJP(機械または機関一般;機関設備一般;蒸気機関)
要約
【課題】クランクケースの換気に伴うエンジンオイルの撹拌を抑える。
【解決手段】一方向弁60を通じて開口63から導入された空気によりクランクケース15の内部を換気するエンジンにおいて、エンジンオイルの液面よりも上方、かつ開口63よりも下方に位置する隔壁71を有した遮蔽板70を、クランクケース15の内部における開口63の周辺の部分に設置した。
【選択図】図3
特許請求の範囲
【請求項1】
吸気通路と、
クランクシャフトを収容するとともにエンジンオイルを貯留するオイルパンを備えるクランクケースと、
前記吸気通路と前記クランクケースの内部とを連通する空気導入路と、
前記クランクケースの内部への前記空気導入路の開口の周辺の部分に設置されるとともに、当該エンジンの車両搭載時の状態における前記エンジンオイルの液面よりも上方、かつ前記開口よりも下方に位置する隔壁を有した遮蔽板と、
を備え、前記空気導入路を通じて前記吸気通路から空気を導入して前記クランクケースの換気を行うエンジン。
続きを表示(約 280 文字)
【請求項2】
前記クランクケースの内部には、前記オイルパンと前記クランクシャフトとの間に介設されたバッフルプレートが設置されており、
前記遮蔽板は、前記バッフルプレートと一体に設けられている
請求項1に記載のエンジン。
【請求項3】
前記遮蔽板は、前記隔壁から立設されて前記開口に正対する正面壁を有する請求項1に記載のエンジン。
【請求項4】
前記クランクケースには、前記空気導入路における前記クランクケースから前記吸気通路に向う方向のガスの流れを制限する一方向弁が取り付けられている請求項1に記載のエンジン。
発明の詳細な説明
【技術分野】
【0001】
本発明は、クランクケースの換気を行うエンジンに関する。
続きを表示(約 1,600 文字)
【背景技術】
【0002】
特許文献1に見られるように、吸気通路からクランクケースに空気を導入することで、クランクケース内のブローバイガスを換気する換気システムを備えるエンジンが知られている。
【先行技術文献】
【特許文献】
【0003】
特開2011-185181号公報
【発明の概要】
【発明が解決しようとする課題】
【0004】
クランクケースの内部には、エンジンオイルが貯留されている。そのため、換気のため、クランクケースに空気を導入すると、導入した空気の吹き付けにより、エンジンオイルが撹拌される場合がある。エンジンオイルが撹拌されると、気泡が混入して、エマルジョンが発生し易くなる。また、撹拌により、エンジンオイルがミスト化し易くなる。ミスト化したオイルの一部はブローバイガスと共にクランクケースから持ち去れられてしまう。そのため、換気のための空気の導入により、エンジンオイルの消費が増加する場合がある。
【課題を解決するための手段】
【0005】
上記課題を解決するエンジンは、吸気通路と、クランクシャフトを収容するとともにエンジンオイルを貯留するオイルパンを備えるクランクケースと、前記吸気通路と前記クランクケースの内部とを連通する空気導入路と、前記クランクケースの内部への前記空気導入路の開口の周辺の部分に設置されるとともに、当該エンジンの車両搭載時の状態における前記エンジンオイルの液面よりも上方、かつ前記開口よりも下方に位置する隔壁を有した遮蔽板と、を備え、前記空気導入路を通じて前記吸気通路から空気を導入して前記クランクケースの換気を行うように構成されている。
【発明の効果】
【0006】
上記エンジンには、クランクケースの換気に伴うエンジンオイルの撹拌を抑える効果がある。
【図面の簡単な説明】
【0007】
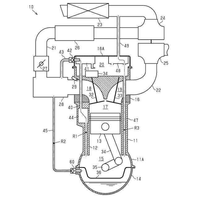
エンジンの一実施形態の構成を模式的に示す図である。
上記エンジンのオイルパン及びその近傍の側面図である。
上記エンジンの図2の3-3線に沿った断面構造を示す断面図である。
上記エンジンに設けられた遮蔽板及びその周辺の斜視図である。
【発明を実施するための形態】
【0008】
以下、エンジンの一実施形態を、図1~図4を参照して詳細に説明する。
<エンジン10の構成について>
まず、図1を参照して、エンジン10の構成を説明する。図1に示すエンジン10は、水素を燃焼して動力を発生する水素エンジンである。水素エンジンの場合、可燃な水素がブローバイガスに含まれる場合がある。そのため、水素エンジンには、ガソリンエンジンやディーゼルエンジンの場合よりも高いブローバイガスの換気性能が要求されている。
【0009】
エンジン10は、シリンダブロック11を備えている。シリンダブロック11の内部には、複数のシリンダ12が形成されている。図1には、複数のシリンダ12のうちの一つのみが表示されている。各シリンダ12にはそれぞれ、ピストン13が往復動自在に収容されている。シリンダ12におけるピストン13よりも上側の部分には、水素を燃焼する燃焼室17が形成されている。ピストン13は、コネクティングロッド34を介してクランクシャフト35に連結されている。
【0010】
シリンダブロック11の上部には、シリンダヘッド16が取り付けられている。シリンダヘッド16の内部には、シリンダ12毎にそれぞれ個別の吸気ポート18及び排気ポート19が形成されている。シリンダヘッド16の上側には、ヘッドカバー16Aが取り付けられている。ヘッドカバー16Aで覆われたシリンダヘッド16の上部内側には、動弁機構を収容する動弁室20が形成されている。
(【0011】以降は省略されています)
この特許をJ-PlatPat(特許庁公式サイト)で参照する
関連特許
トヨタ自動車株式会社
車両
1日前
トヨタ自動車株式会社
電動車
1日前
トヨタ自動車株式会社
蓄電装置
1日前
トヨタ自動車株式会社
判定装置
1日前
トヨタ自動車株式会社
制御装置
1日前
トヨタ自動車株式会社
蓄電装置
1日前
トヨタ自動車株式会社
蓄電装置
1日前
トヨタ自動車株式会社
反応容器
1日前
トヨタ自動車株式会社
車両側部構造
1日前
トヨタ自動車株式会社
巻線界磁型モータ
1日前
トヨタ自動車株式会社
巻線界磁型モータ
1日前
トヨタ自動車株式会社
車両スイッチ装置
1日前
トヨタ自動車株式会社
歯面磨き加工装置
1日前
トヨタ自動車株式会社
歯面磨き加工装置
1日前
トヨタ自動車株式会社
過給機冷却システム
1日前
トヨタ自動車株式会社
内燃機関の制御装置
1日前
トヨタ自動車株式会社
車両の空力特性制御装置
1日前
トヨタ自動車株式会社
降車支援装置及び降車支援システム
1日前
トヨタ自動車株式会社
ダイヤモンド量子センサのノイズ除去方法
1日前
トヨタ自動車株式会社
ユーザインターフェースの電力消費の削減
1日前
トヨタ自動車株式会社
端末装置、感情推定方法、及びプログラム
1日前
トヨタ自動車株式会社
電池
1日前
株式会社オートネットワーク技術研究所
オプション機器追加用内装部材
1日前
株式会社オートネットワーク技術研究所
オプション機器組込内装部材、オプション機器及び内装部材
1日前
トヨタ自動車株式会社
計測システム
1か月前
株式会社豊田自動織機
エンジン式産業車両
1か月前
株式会社三五
ハイブリッド車の排気システム
2日前
トヨタ自動車株式会社
エンジン
2日前
トヨタ自動車株式会社
エンジン
1日前
本田技研工業株式会社
排気装置
1か月前
本田技研工業株式会社
排気装置
1か月前
本田技研工業株式会社
排気装置
1か月前
株式会社クボタ
多目的車両
1か月前
株式会社SUBARU
エンジン制御装置
14日前
株式会社クボタ
多目的車両
1か月前
トヨタ自動車株式会社
排気浄化装置
2日前
続きを見る
他の特許を見る