TOP
|
特許
|
意匠
|
商標
特許ウォッチ
Twitter
他の特許を見る
公開番号
2025155378
公報種別
公開特許公報(A)
公開日
2025-10-14
出願番号
2024059183
出願日
2024-04-01
発明の名称
車両のエンジンルーム構造
出願人
トヨタ自動車株式会社
代理人
個人
,
個人
主分類
F01N
3/24 20060101AFI20251006BHJP(機械または機関一般;機関設備一般;蒸気機関)
要約
【課題】電気加熱式触媒装置の放射熱を有効活用する。
【解決手段】エンジン50と、エンジンルーム12及び車室を隔てているダッシュパネル14と、エンジン50からダッシュパネル14側へと延びている排気管60と、熱媒体が流通する流路が区画されている加熱装置32と、を備え、エンジン50とダッシュパネル14との間において、排気管60の一部は、通電されることによって発熱する触媒担体に触媒を担持した電気加熱式触媒装置70で構成されており、加熱装置32は、エンジン50及びダッシュパネル14の間に位置しており、且つ、加熱装置32の外面の一部は、電気加熱式触媒装置70の外面と向かい合っている。
【選択図】図1
特許請求の範囲
【請求項1】
車両のエンジンルーム内に配置されているエンジンと、前記エンジンルーム及び車室を隔てているダッシュパネルと、前記エンジンから前記ダッシュパネル側へと延びている排気管と、熱媒体が流通する流路が区画されている流路形成部材と、を備え、
前記エンジンと前記ダッシュパネルとの間において、前記排気管の一部は、通電されることによって発熱する触媒担体に触媒を担持した電気加熱式触媒装置で構成されており、
前記流路形成部材は、前記エンジン及び前記ダッシュパネルの間に位置しており、
且つ、前記流路形成部材の外面の一部は、前記電気加熱式触媒装置の外面と向かい合っている
車両のエンジンルーム構造。
続きを表示(約 630 文字)
【請求項2】
前記流路形成部材は、前記電気加熱式触媒装置に対して上側に位置している
請求項1に記載の車両のエンジンルーム構造。
【請求項3】
前記流路形成部材は、内部に冷却水が流通可能な流路が区画されているとともに当該流路を加熱可能なヒータを内蔵している加熱装置である
請求項1又は2に記載の車両のエンジンルーム構造。
【請求項4】
前記流路形成部材は、前記エンジン内に区画されたウォータージャケットに接続しているとともに内部を冷却水が流通可能な冷却水配管である
請求項1又は2に記載の車両のエンジンルーム構造。
【請求項5】
前記流路形成部材は、前記エンジンのオイルパン内に接続しているとともに内部を潤滑油が流通可能なオイル配管である
請求項1又は2に記載の車両のエンジンルーム構造。
【請求項6】
前記エンジンルーム内に配置されているとともに前記エンジンからの駆動力を変換して前記車両の駆動輪に伝達するトランスミッションを備え、
前記流路形成部材は、前記トランスミッションに接続しているとともに内部を作動油が流通可能なオイル配管である
請求項1又は2に記載の車両のエンジンルーム構造。
【請求項7】
加熱する前記熱媒体を異にする複数の前記流路形成部材を備えている
請求項1又は2に記載の車両のエンジンルーム構造。
発明の詳細な説明
【技術分野】
【0001】
この発明は、車両のエンジンルーム構造に関する。
続きを表示(約 1,600 文字)
【背景技術】
【0002】
特許文献1に開示されているエンジンの排気管は、当該排気管の途中に、電気加熱式触媒装置と、排熱回収器と、を備えている。電気加熱式触媒装置は、触媒担体と、触媒と、を備えている。触媒担体は、通電されることによって発熱する。触媒は、触媒担体に担持されている。排熱回収器は、電気加熱式触媒装置から流出した排気を回収する。排熱回収器は、回収した排気の熱によってエンジンの冷却水を温める。
【先行技術文献】
【特許文献】
【0003】
特開2011-132870号公報
【発明の概要】
【発明が解決しようとする課題】
【0004】
排気管が電気加熱式触媒装置を備えている特許文献1のような技術において、電気加熱式触媒装置は、自身の外周面から外部に向けて放射熱を発する。特許文献1の技術は、電気加熱式触媒装置から流出した排気の熱を利用する一方で電気加熱式触媒装置自身の放射熱の利用を考慮していない。そのため、特許文献1の技術は、電気加熱式触媒装置の放射熱を有効活用するという観点において改善の余地がある。
【課題を解決するための手段】
【0005】
上記課題を解決するための車両のエンジンルームの構造は、車両のエンジンルーム内に配置されているエンジンと、前記エンジンルーム及び車室を隔てているダッシュパネルと、前記エンジンから前記ダッシュパネル側へと延びている排気管と、熱媒体が流通する流路が区画されている流路形成部材と、を備え、前記エンジンと前記ダッシュパネルとの間において、前記排気管の一部は、通電されることによって発熱する触媒担体に触媒を担持した電気加熱式触媒装置で構成されており、前記流路形成部材は、前記エンジン及び前記ダッシュパネルの間に位置しており、且つ、前記流路形成部材の外面の一部は、前記電気加熱式触媒装置の外面と向かい合っている。
【発明の効果】
【0006】
上記の技術思想では、電気加熱式触媒装置の放射熱を有効活用できる。
【図面の簡単な説明】
【0007】
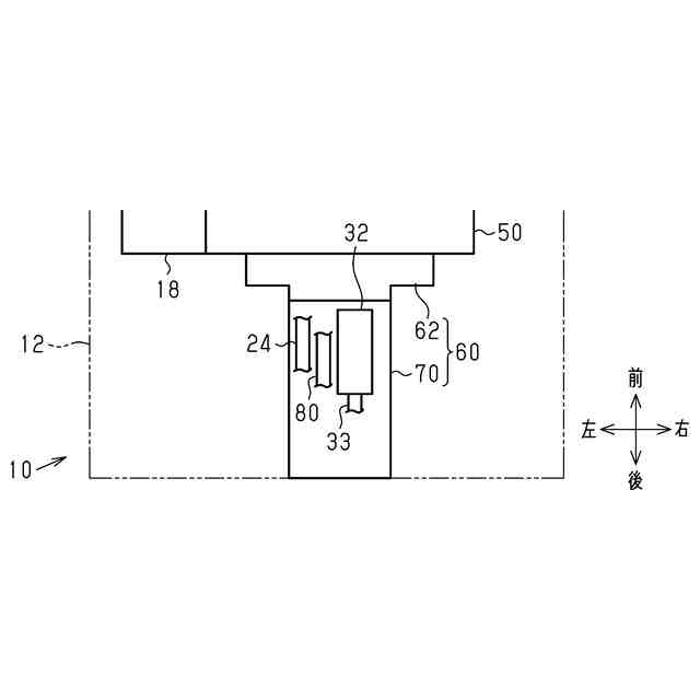
図1は、エンジンルームにおける各部材の配置の例を模式的に表した側面図である。
図2は、エンジンルームにおける各部材の配置の例を模式的に表した上面図である。
図3は、冷却水回路を説明する図である。
図4は、オイル回路を説明する図である。
図5は、車両の変更例を説明する図である。
【発明を実施するための形態】
【0008】
以下、プラグインハイブリッド車両を例として、車両のエンジンルーム構造の一実施形態を説明する。本実施形態では、車両を基準にして上下左右前後を規定する。すなわち、車両の運転席に運転者が座った場合の正面方向が前方向である。
【0009】
<全体構成>
図1及び図2に示すように、車両10は、エンジンルーム12を備えている。エンジンルーム12は、車両10における車室200に対して前側の部分に位置している。エンジンルーム12は、ダッシュパネル14、及びフェンダパネルなどで区画された空間である。ダッシュパネル14は、エンジンルーム12の後端で、車室200とエンジンルーム12とを隔てている。フェンダパネルは、車両10の前部における左右の外壁を構成している。
【0010】
図2に示すように、車両10は、駆動ユニット18を備えている。駆動ユニット18は、エンジンルーム12内に配置されている。駆動ユニット18は、2つのモータ、及び動力伝達機構などを備えている。2つのモータは、車両10の駆動源である。2つのモータは、図示しないバッテリとの間で電力を授受する。バッテリは、外部電源によって充電可能である。
(【0011】以降は省略されています)
この特許をJ-PlatPat(特許庁公式サイト)で参照する
関連特許
トヨタ自動車株式会社
車両
6日前
トヨタ自動車株式会社
電動車
6日前
トヨタ自動車株式会社
エンジン
6日前
トヨタ自動車株式会社
反応容器
6日前
トヨタ自動車株式会社
蓄電装置
6日前
トヨタ自動車株式会社
判定装置
6日前
トヨタ自動車株式会社
蓄電装置
6日前
トヨタ自動車株式会社
蓄電装置
6日前
トヨタ自動車株式会社
制御装置
6日前
トヨタ自動車株式会社
正極活物質
今日
トヨタ自動車株式会社
正極活物質
今日
トヨタ自動車株式会社
熱利用回路
今日
トヨタ自動車株式会社
車両側部構造
6日前
トヨタ自動車株式会社
情報処理方法
今日
トヨタ自動車株式会社
駐車支援装置
今日
トヨタ自動車株式会社
情報処理装置
今日
トヨタ自動車株式会社
車両の制御装置
6日前
トヨタ自動車株式会社
トイレ付き車両
6日前
トヨタ自動車株式会社
モータ制御装置
6日前
トヨタ自動車株式会社
車両用制御装置
6日前
トヨタ自動車株式会社
車両の制御装置
6日前
トヨタ自動車株式会社
車両の制御装置
6日前
トヨタ自動車株式会社
移動体管理装置
6日前
トヨタ自動車株式会社
車両スイッチ装置
6日前
トヨタ自動車株式会社
車両用レーダ装置
6日前
トヨタ自動車株式会社
燃料噴射制御装置
今日
トヨタ自動車株式会社
巻線界磁型モータ
6日前
トヨタ自動車株式会社
歯面磨き加工装置
6日前
トヨタ自動車株式会社
歯面磨き加工装置
6日前
トヨタ自動車株式会社
巻線界磁型モータ
6日前
トヨタ自動車株式会社
過給機冷却システム
6日前
トヨタ自動車株式会社
ステータの固定構造
6日前
トヨタ自動車株式会社
内燃機関の制御装置
6日前
トヨタ自動車株式会社
車両の空力特性制御装置
6日前
トヨタ自動車株式会社
負極および負極の製造方法
今日
株式会社アイシン
熱交換器
6日前
続きを見る
他の特許を見る