TOP
|
特許
|
意匠
|
商標
特許ウォッチ
Twitter
他の特許を見る
公開番号
2025172387
公報種別
公開特許公報(A)
公開日
2025-11-26
出願番号
2024077872
出願日
2024-05-13
発明の名称
燃料噴射制御装置
出願人
トヨタ自動車株式会社
代理人
個人
,
個人
主分類
F02D
41/06 20060101AFI20251118BHJP(燃焼機関;熱ガスまたは燃焼生成物を利用する機関設備)
要約
【課題】燃料の壁面付着を抑制する。
【解決手段】アルコールを含有する燃料を気筒12内に噴射するエンジン10の燃料噴射制御を行うECM30は、燃料の噴射開始時期に基づき、該噴射開始時期に燃料噴射を開始した場合に、噴射した燃料の壁面付着量を許容可能な範囲内に抑えられる燃料噴射量の最大値である最大噴射量を演算する演算処理を行う演算処理回路32を備えている。演算処理回路32は、多段噴射の実施に際して、各段の燃料噴射量を、各々の噴射開始時期についての上記演算処理の最大噴射量の演算値以下となるように設定する。
【選択図】図1
特許請求の範囲
【請求項1】
アルコールを含有する燃料を気筒内に噴射するエンジンの燃料噴射制御を行う装置であって、
燃料の噴射開始時期に基づき、該噴射開始時期に燃料噴射を開始した場合に、噴射した燃料の壁面付着量を許容可能な範囲内に抑えられる燃料噴射量の最大値である最大噴射量を演算する演算処理を行う演算処理回路を備えており、
かつ前記演算処理回路は、多段噴射の実施に際して各段の燃料噴射量を、各々の噴射開始時期についての前記演算処理の前記最大噴射量の演算値以下となるように設定する
燃料噴射制御装置。
発明の詳細な説明
【技術分野】
【0001】
本発明は、筒内噴射式エンジンに適用される燃料噴射制御装置に関する。
続きを表示(約 1,800 文字)
【背景技術】
【0002】
気筒内に燃料を噴射する筒内噴射式エンジンの燃料噴射制御装置として、特許文献1に記載の装置が知られている。この燃料噴射制御装置は、エタノール混合燃料を使用する筒内噴射式エンジンにおいて、燃料のエタノール濃度が高い場合には、2回に分けて燃料噴射を行うことで、エンジンオイルの燃料希釈を抑制している。
【先行技術文献】
【特許文献】
【0003】
特開2008-261231号公報
【発明の概要】
【発明が解決しようとする課題】
【0004】
筒内噴射式エンジンの冷間運転時には、噴射後、霧化し切れずに気筒壁面やピストン頂面に付着する燃料の量が多くなる。付着した燃料は燃焼に寄与しないため、その分、噴射する燃料の量を増量する必要がある。また、付着した燃料が完全燃焼せずに排出されることで、エミッションが悪化する虞もある。
【課題を解決するための手段】
【0005】
上記課題を解決する燃料噴射制御装置は、アルコールを含有する燃料を気筒内に噴射するエンジンの燃料噴射制御を行う装置であって、噴射開始時期に基づき、該噴射開始時期に燃料噴射を開始した場合に、噴射した燃料の壁面付着量を許容可能な範囲内に抑えられる燃料噴射量の最大値である最大噴射量を演算する演算処理を行う演算処理回路を備えており、かつ前記演算処理回路は、多段噴射の実施に際して各段の燃料噴射量を、各々の噴射開始時期についての前記演算処理の前記最大噴射量の演算値以下となるように設定するように構成されている。
【発明の効果】
【0006】
上記燃料噴射制御装置には、燃料の壁面付着を抑制する効果がある。
【図面の簡単な説明】
【0007】
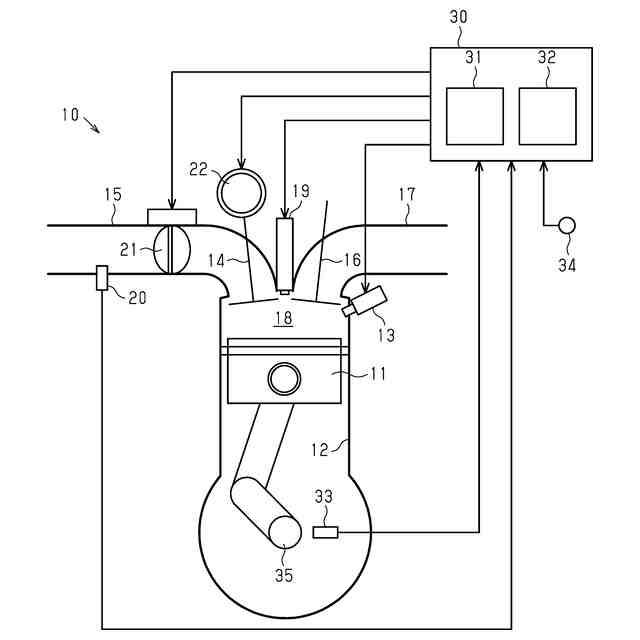
燃料噴射制御装置の一実施形態の構成を模式的に示す図である。
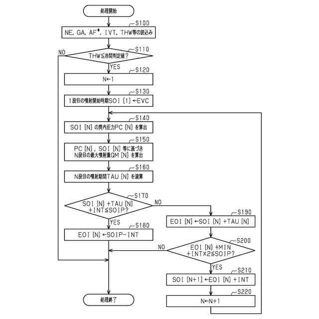
多段噴射に際して上記燃料噴射制御装置が実施する処理のフローチャートである。
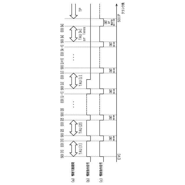
上記燃料噴射制御装置による多段噴射時の、(a)は噴射期間の設定態様の一例を、(b)及び(c)は噴射指令信号の出力態様の一例及び他の例を、それぞれを示すタイムチャートである。
【発明を実施するための形態】
【0008】
以下、燃料噴射制御装置の一実施形態を、図1~図3を参照して詳細に説明する。
<エンジン10の構成>
まず、図1を参照して、本実施形態の燃料噴射制御装置の制御対象とするエンジン10の構成を説明する。エンジン10は、ガソリンとアルコールとを混合したアルコール混合燃料を燃料として使用する車載用エンジンとして構成されている。以下の説明では、アルコール混合燃料を単に燃料と記載する。
【0009】
エンジン10は、ピストン11が往復動可能に配置された気筒12と、気筒12内に燃料を噴射するインジェクタ13と、を備えている。気筒12には、吸気バルブ14を介して吸気通路15が、排気バルブ16を介して排気通路17が、それぞれ接続されている。また、気筒12内には、燃焼室18がピストン11により区画形成されている。燃焼室18には、吸気通路15を通じて導入された吸気とインジェクタ13が噴射した燃料との混合気の燃焼が行われる。燃焼室18には、火花放電により混合気を着火する点火装置19が設置されている。吸気通路15には、エアフローメータ20とスロットルバルブ21と、が設置されている。エアフローメータ20は、吸気通路15の吸気流量GAを検出するセンサである。スロットルバルブ21は、吸気流量GAを調整するためのバルブである。更にエンジン10は、吸気バルブ14のバルブタイミングを可変とする可変動弁機構22を備えている。
【0010】
<燃料噴射制御装置の構成>
次に、同図1を参照して、本実施形態の燃料噴射制御装置の構成を説明する。エンジン10は、ECM(エンジン・コントロール・モジュール)30により制御されている。ECM30は、エンジン制御の一環として、エンジン10の燃料噴射制御を実施する。本実施形態の場合、こうしたECM30が、燃料噴射制御装置に対応している。
(【0011】以降は省略されています)
この特許をJ-PlatPat(特許庁公式サイト)で参照する
関連特許
個人
擬似オイル発電装置
12日前
個人
バンケル型内燃機関の改良
1か月前
スズキ株式会社
車両の制御装置
1か月前
スズキ株式会社
車両の制御装置
1か月前
ダイハツ工業株式会社
発電装置
7日前
株式会社クボタ
作業車
1か月前
株式会社クボタ
作業車両
1か月前
トヨタ自動車株式会社
車両制御装置
1か月前
トヨタ自動車株式会社
制御装置
6日前
トヨタ自動車株式会社
燃料噴射制御装置
今日
トヨタ自動車株式会社
エンジン制御装置
28日前
トヨタ自動車株式会社
内燃機関の制御装置
6日前
トヨタ自動車株式会社
内燃機関の制御装置
19日前
トヨタ自動車株式会社
フレックス燃料車両
19日前
川崎重工業株式会社
ガスタービンエンジン
29日前
Astemo株式会社
内燃機関の制御装置
6日前
日産自動車株式会社
吸気装置
今日
三菱重工業株式会社
燃焼筒の取付方法
1か月前
富士電機株式会社
駆動回路
27日前
トヨタ自動車株式会社
水素エンジンの制御装置
27日前
スズキ株式会社
多気筒エンジンの制御装置
21日前
三菱重工業株式会社
動力装置
1か月前
株式会社豊田自動織機
内燃機関
6日前
三菱重工業株式会社
ガスタービン起動方法
29日前
三菱重工業株式会社
ガスタービン制御方法
1か月前
株式会社デンソー
部品の当接構造
1か月前
個人
タービン入口温度を下げて推力を増すターボファン・エンジン
1か月前
三菱重工マリンマシナリ株式会社
過給システム
1か月前
トヨタ自動車株式会社
エンジンシステム
1か月前
株式会社豊田自動織機
ターボチャージャ
27日前
株式会社豊田自動織機
車両制御装置
1か月前
トヨタ自動車株式会社
内燃機関を備えた車両の制御装置
1か月前
トヨタ自動車株式会社
車両駆動装置
14日前
株式会社豊田自動織機
ターボチャージャ
14日前
スズキ株式会社
内燃機関の吸気装置
6日前
カワサキモータース株式会社
エンジン
1か月前
続きを見る
他の特許を見る