TOP
|
特許
|
意匠
|
商標
特許ウォッチ
Twitter
他の特許を見る
公開番号
2025172309
公報種別
公開特許公報(A)
公開日
2025-11-26
出願番号
2024077723
出願日
2024-05-13
発明の名称
吸気装置
出願人
日産自動車株式会社
代理人
個人
,
個人
,
個人
,
個人
主分類
F02M
35/10 20060101AFI20251118BHJP(燃焼機関;熱ガスまたは燃焼生成物を利用する機関設備)
要約
【課題】作業者の負担を低減することができる吸気装置を提供する。
【解決手段】本発明に係る吸気装置1は、取付フランジ5における下側取付孔520と対向する部分に凹部55を有する第1リブ54が設けられている。このため、凹部55を目印とすることで、下側取付孔520を目視することなく、凹部55を手掛かりに作業者が手探りで下側取付孔520にアクセス可能となる。これにより、吸気装置1の取付作業時に、作業者が例えばしゃがんだり、或いは腰を屈めて取付フランジ5を下方からのぞき込むなど、下側取付孔520を目視した状態でボルト6を下側取付孔520に挿入する必要がなくなり、作業者の負担を低減することができる。
【選択図】図1
特許請求の範囲
【請求項1】
シリンダヘッドの側部にオーバーハングするかたちで片持ち状に支持され、前記シリンダヘッドの側部に開口する吸気ポートに接続された吸気装置であって、
前記吸気ポートに吸気を導くサージタンクと、
前記サージタンクと前記シリンダヘッドとの間に介在し、内部に冷媒を通流させることによって、前記サージタンクを介して導かれた吸気を冷却する冷却装置と、
前記冷却装置と前記シリンダヘッドとの間に介在し、前記冷却装置を前記シリンダヘッドの側部に取り付ける取付フランジと、
前記冷却装置を挟んで前記取付フランジの上部及び下部にそれぞれ前記シリンダヘッドの気筒列方向に沿って複数設けられた上側取付孔及び下側取付孔と、
前記上側取付孔及び前記下側取付孔に挿通され、前記取付フランジを前記シリンダヘッドに締結する締結部材と、
下方へ突出するように前記取付フランジと一体に形成されたものであり、前記下側取付孔に対して前記オーバーハングの方向にオフセットした位置に前記気筒列方向において連続的又は断続的に設けられ、前記下側取付孔と対向する部分を上方へ窪ませた凹部を有する第1リブと、
を備えた、
吸気装置。
続きを表示(約 740 文字)
【請求項2】
請求項1に記載の吸気装置であって、
前記取付フランジと前記第1リブとの間に、前記取付フランジと前記第1リブとを繋ぐ複数の第2リブを有し、
前記第1リブは、前記気筒列方向に隣り合う前記第2リブ同士を繋ぐように前記気筒列方向に連続的に設けられ、前記気筒列方向において前記凹部の両側が接続されている、
吸気装置。
【請求項3】
請求項1に記載の吸気装置であって、
前記第1リブは、前記気筒列方向に断続的に設けられ、
前記気筒列方向に隣り合う前記第1リブの間に前記凹部が形成されている、
吸気装置。
【請求項4】
請求項1に記載の吸気装置であって、
前記取付フランジは、前記下側取付孔の下部に、下方へ突出する突起部を有する、
吸気装置。
【請求項5】
請求項1に記載の吸気装置であって、
前記サージタンクの外面に、前記下側取付孔に向かって連続する第3リブが設けられている、
吸気装置。
【請求項6】
請求項5に記載の吸気装置であって、
前記第3リブは、上下方向に沿って直線状に延びる縦リブである、
吸気装置。
【請求項7】
請求項5に記載の吸気装置であって、
前記第3リブは、
前記下側取付孔へ向かって下方へ直線状に延びる縦リブと、
それぞれ前記下側取付孔へ向かって下方へ斜交状に設けられ、前記縦リブに対して斜交する一対の斜交リブと、
を含み、
前記縦リブと前記一対の斜交リブとを組み合わせることで下向きの矢印状に形成されている、
吸気装置。
発明の詳細な説明
【技術分野】
【0001】
本発明は、冷却装置を内包する吸気装置に関する。
続きを表示(約 1,800 文字)
【背景技術】
【0002】
従来の吸気装置としては、例えば以下の特許文献1に記載されたものが知られている。
【0003】
冷却装置を内包する従来の吸気装置は、シリンダヘッドとの対向端部に設けられた取付フランジを介してシリンダヘッドに固定されていて、シリンダヘッドの側部からオーバーハングするように設けられている。具体的には、取付フランジの上部及び下部にそれぞれ設けられた複数の取付孔である上側取付孔及び下側取付孔を介して、ボルトによって締結されている。
【先行技術文献】
【特許文献】
【0004】
特開2012-219657号公報
【発明の概要】
【発明が解決しようとする課題】
【0005】
しかしながら、前記従来の吸気装置の場合、サージタンクとシリンダヘッドとの間に冷却装置が介在することにより、シリンダヘッドの側部にオーバーハングするように配置されている。このため、作業者が直立した状態では、特に取付フランジ部の下側取付孔を目視することが困難であり、吸気装置をシリンダヘッドに取り付ける際、作業者は、例えばしゃがんだり、腰を屈めて吸気装置の下方から下側取付孔をのぞき込むことにより、下側取付孔にボルトを挿通させる必要があった。このように、下側取付孔の目視に伴う屈伸作業が作業者の負担となっている点で、なおも改善の余地が残されていた。
【0006】
そこで、本発明は、前記従来の吸気装置の技術的課題に鑑みて案出されたものであり、作業者の負担を低減することができる吸気装置を提供することを目的としている。
【課題を解決するための手段】
【0007】
本発明は、その一態様として、シリンダヘッドの側部にオーバーハングするかたちで片持ち状に支持され、前記シリンダヘッドの側部に開口する吸気ポートに接続された吸気装置であって、前記吸気ポートに吸気を導くサージタンクと、前記サージタンクと前記シリンダヘッドとの間に介在し、内部に冷媒を通流させることによって、前記サージタンクを介して導かれた吸気を冷却する冷却装置と、前記冷却装置と前記シリンダヘッドとの間に介在し、前記冷却装置を前記シリンダヘッドの側部に取り付ける取付フランジと、前記冷却装置を挟んで前記取付フランジの上部及び下部にそれぞれ前記シリンダヘッドの気筒列方向に沿って複数設けられた上側取付孔及び下側取付孔と、前記上側取付孔及び前記下側取付孔に挿通され、前記取付フランジを前記シリンダヘッドに締結する締結部材と、下方へ突出するように前記取付フランジと一体に形成されたものであり、前記下側取付孔に対して前記オーバーハングの方向にオフセットした位置に前記気筒列方向において連続的又は断続的に設けられ、前記下側取付孔と対向する部分を上方へ窪ませた凹部を有する第1リブと、を備えている。
【発明の効果】
【0008】
本発明によれば、下側取付孔と対向する部分に凹部を有する第1リブが設けられている。このため、凹部を目印とすることにより、下側取付孔を目視することなく、作業者が手探りで下側取付孔にアクセス可能となる。具体的には、締結工具に取り付けた締結部材を、凹部を手掛かりに下側取付孔に挿入して締結することが可能となる。これにより、吸気装置の取付作業時に、作業者が例えばしゃがんだり、或いは腰を屈めて取付フランジ部を下方からのぞき込むなど、下側取付孔を目視した状態で締結部材を下側取付孔に挿入する必要がなくなり、作業者の負担を低減することができる。
【図面の簡単な説明】
【0009】
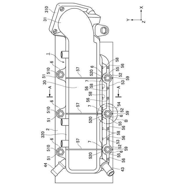
本発明に係る吸気装置の下方から視た斜視図である。
シリンダヘッドの側部に取り付けられた吸気装置の正面図である。
図2のA-A線断面図である。
図2のB部拡大図である。
本発明に係る第3リブの変形例を表した吸気装置の要部拡大図である。
【発明を実施するための形態】
【0010】
以下に、本発明に係る吸気装置の実施形態を図面に基づいて詳述する。なお、本実施形態では、従来と同様に、吸気装置を、過給機付きの自動車用エンジン(火花点火式内燃機関)に適用したものを例示する。
(【0011】以降は省略されています)
この特許をJ-PlatPat(特許庁公式サイト)で参照する
関連特許
日産自動車株式会社
二次電池
1か月前
日産自動車株式会社
電動車両
22日前
日産自動車株式会社
吸気装置
今日
日産自動車株式会社
内燃機関
19日前
日産自動車株式会社
電子機器
6日前
日産自動車株式会社
電池モジュール
27日前
日産自動車株式会社
電池モジュール
20日前
日産自動車株式会社
ロータシャフト
14日前
日産自動車株式会社
ロータシャフト
14日前
日産自動車株式会社
リチウム二次電池
19日前
日産自動車株式会社
車両用排気部構造
19日前
日産自動車株式会社
塗装方法及び自動車
21日前
日産自動車株式会社
エアレスタイヤ構造
6日前
日産自動車株式会社
ピックアップトラック
今日
日産自動車株式会社
支援方法及び支援装置
今日
日産自動車株式会社
エンジンのアンダカバー
27日前
株式会社ニフコ
締結構造
27日前
日産自動車株式会社
相乗り可否判定方法及び装置
1か月前
日産自動車株式会社
運転支援方法及び運転支援装置
28日前
日産自動車株式会社
運転支援方法及び運転支援装置
27日前
日産自動車株式会社
情報提供方法及び情報提供装置
6日前
日産自動車株式会社
施錠制御方法及び施錠制御装置
29日前
日産自動車株式会社
車両制御方法および車両制御装置
28日前
日産自動車株式会社
車両制御方法および車両制御装置
28日前
日産自動車株式会社
車両制御方法および車両制御装置
28日前
日産自動車株式会社
物体検出方法、及び物体検出装置
19日前
日産自動車株式会社
衝突回避方法、及び衝突回避装置
19日前
日産自動車株式会社
車体姿勢制御方法及び車体姿勢制御装置
28日前
日産自動車株式会社
地図情報生成方法及び地図情報生成装置
22日前
日産自動車株式会社
楽曲情報共有方法及び楽曲情報共有装置
19日前
日産自動車株式会社
車両の発進制御方法、車両の発進制御装置
19日前
日産自動車株式会社
内燃機関の制御方法及び内燃機関の制御装置
19日前
日産自動車株式会社
成形のための位置決め治具および位置決め方法
22日前
日産自動車株式会社
車両用内燃機関のトルクダウン制御方法および装置
1か月前
日産自動車株式会社
ターボチャージャの潤滑油吸い出し抑制方法および装置
19日前
日産自動車株式会社
表示制御方法及び表示制御装置
29日前
続きを見る
他の特許を見る