TOP
|
特許
|
意匠
|
商標
特許ウォッチ
Twitter
他の特許を見る
公開番号
2025166900
公報種別
公開特許公報(A)
公開日
2025-11-07
出願番号
2024071084
出願日
2024-04-25
発明の名称
楽曲情報共有方法及び楽曲情報共有装置
出願人
日産自動車株式会社
代理人
個人
,
個人
,
個人
主分類
G08G
1/09 20060101AFI20251030BHJP(信号)
要約
【課題】運転者の運転負荷と感情を考慮して車両間で楽曲情報を共有する。
【解決手段】楽曲情報共有装置3は、自車両の運転者と他車両のユーザとの間の嗜好の一致度合いを示す適合度を算出し、自車両の運転者の運転負荷の大きさに応じて設定された運転負荷値を算出し、自車両の運転者の感情を推定した感情推定値を算出し、適合度と運転負荷値と感情推定値とに基づいて、自車両の運転者と他車両のユーザとをマッチングできるか否かを判定するためのグルーピング点数を算出し、グルーピング点数が所定の閾値より大きい場合に自車両の運転者と他車両のユーザとをマッチングし、マッチングされた他車両のユーザから提供された楽曲情報を運転負荷値と感情推定値とに基づいて調整し、調整された楽曲情報を自車両の運転者に提供して共有する。
【選択図】図3
特許請求の範囲
【請求項1】
自車両と他車両との間で楽曲情報を共有する楽曲情報共有方法であって、
前記自車両の運転者と前記他車両のユーザとの間の嗜好の一致度合いを示す適合度を算出し、
前記自車両の運転者の運転負荷の大きさに応じて設定された運転負荷値を算出し、
前記自車両の運転者の感情を推定した感情推定値を算出し、
前記適合度と前記運転負荷値と前記感情推定値とに基づいて、前記自車両の運転者と前記他車両のユーザとをマッチングできるか否かを判定するためのグルーピング点数を算出し、
前記グルーピング点数が所定の閾値より大きい場合に、前記自車両の運転者と前記他車両のユーザとをマッチングし、
マッチングされた前記他車両のユーザから提供された楽曲情報を、前記運転負荷値と前記感情推定値とに基づいて調整し、
調整された前記楽曲情報を前記自車両の運転者に提供して共有する
楽曲情報共有方法。
続きを表示(約 950 文字)
【請求項2】
前記適合度は、前記自車両の運転者と前記他車両のユーザの属性、目的地、運転履歴、楽曲の嗜好のうちの少なくとも一つに基づいて算出される
請求項1に記載の楽曲情報共有方法。
【請求項3】
前記感情推定値は、前記自車両の周囲の環境情報と前記自車両の運転者の運転特性とに基づいて算出される
請求項1に記載の楽曲情報共有方法。
【請求項4】
前記適合度を算出した後に前記運転負荷値を算出する
請求項1に記載の楽曲情報共有方法。
【請求項5】
前記他車両のユーザから提供された前記楽曲情報は、音量、曲調、周波数成分のうちの少なくとも1つが調整される
請求項1に記載の楽曲情報共有方法。
【請求項6】
前記運転負荷値と前記感情推定値とに基づいて、前記自車両の運転者と前記他車両のユーザとの間で前記楽曲情報の共有を継続できるか否かを判定するための情報共有点数を算出し、
前記情報共有点数が所定の閾値以下である場合に、前記自車両の運転者と前記他車両のユーザとの間のマッチングを解除して前記楽曲情報の共有を中止する
請求項1に記載の楽曲情報共有方法。
【請求項7】
自車両と他車両との間で楽曲情報を共有する楽曲情報共有装置であって、
前記自車両の運転者と前記他車両のユーザとの間の嗜好の一致度合いを示す適合度を算出し、
前記自車両の運転者の運転負荷の大きさに応じて設定された運転負荷値を算出し、
前記自車両の運転者の感情を推定した感情推定値を算出し、
前記適合度と前記運転負荷値と前記感情推定値とに基づいて、前記自車両の運転者と前記他車両のユーザとをマッチングできるか否かを判定するためのグルーピング点数を算出し、
前記グルーピング点数が所定の閾値より大きい場合に、前記自車両の運転者と前記他車両のユーザとをマッチングし、
マッチングされた前記他車両のユーザから提供された楽曲情報を、前記運転負荷値と前記感情推定値とに基づいて調整し、
調整された前記楽曲情報を前記自車両の運転者に提供して共有する
楽曲情報共有装置。
発明の詳細な説明
【技術分野】
【0001】
本発明は、楽曲情報共有方法及び楽曲情報共有装置に関する。
続きを表示(約 1,400 文字)
【背景技術】
【0002】
従来では、ユーザにとって興味のある情報を効果的に提供することを可能にした情報共有システムが特許文献1に開示されている。特許文献1に開示された情報共有システムでは、目的地が共通する複数のユーザを特定してマッチングを行い、マッチングされた複数のユーザ間で映像情報や音声情報を共有していた。
【先行技術文献】
【特許文献】
【0003】
国際公開第2022/059332号
【発明の概要】
【発明が解決しようとする課題】
【0004】
しかしながら、上述した従来の情報共有システムでは、目的地によってマッチングしたユーザ間で情報を共有しているので、運転者の運転負荷や感情を考慮して情報を共有することができないという問題点があった。
【0005】
本発明は、上記課題に鑑みて成されたものであり、その目的は、運転者の運転負荷と感情を考慮して車両間で楽曲情報を共有することのできる楽曲情報共有方法及び楽曲情報共有装置を提供することである。
【課題を解決するための手段】
【0006】
本発明の一態様に係る楽曲情報共有方法及び楽曲情報共有装置は、適合度と運転負荷値と感情推定値とに基づいて、自車両の運転者と他車両のユーザとをマッチングできるか否かを判定するためのグルーピング点数を算出し、グルーピング点数が所定の閾値より大きい場合に、自車両の運転者と他車両のユーザとをマッチングし、マッチングされた他車両のユーザから提供された楽曲情報を、運転負荷値と感情推定値とに基づいて調整し、調整された楽曲情報を自車両の運転者に提供して共有する。
【発明の効果】
【0007】
本発明によれば、運転者の運転負荷と感情を考慮して車両間で楽曲情報を共有することができる。
【図面の簡単な説明】
【0008】
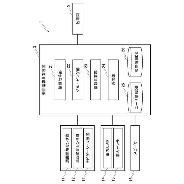
図1は、一実施形態に係る楽曲情報共有装置を備えた楽曲情報共有システムの構成を示すブロック図である。
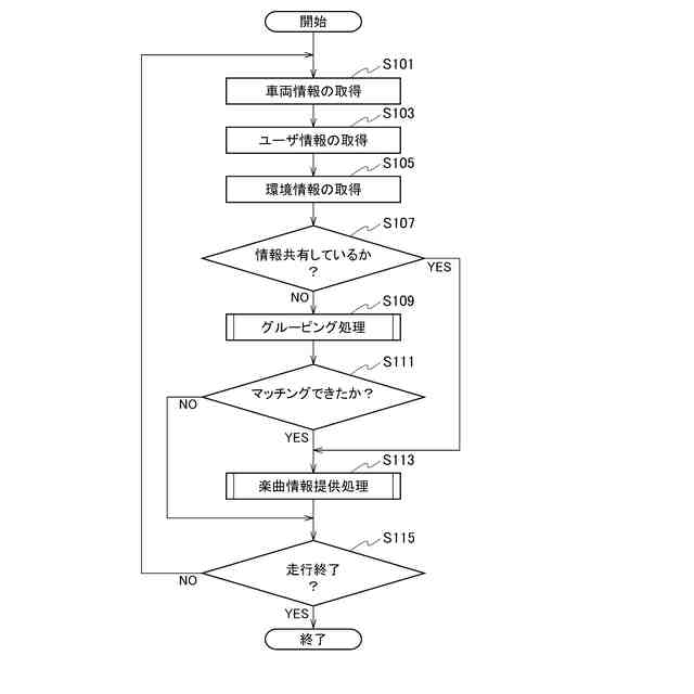
図2は、一実施形態に係る楽曲情報共有装置による楽曲情報共有処理の処理手順を示すフローチャートである。
図3は、一実施形態に係る楽曲情報共有装置によるグルーピング処理の処理手順を示すフローチャートである。
図4は、一実施形態に係る楽曲情報共有装置による楽曲情報提供処理の処理手順を示すフローチャートである。
図5は、一実施形態に係る楽曲情報共有装置による楽曲情報調整処理の処理手順を示すフローチャートである。
【発明を実施するための形態】
【0009】
以下、図面を参照し、本実施形態に係る楽曲情報共有方法及び楽曲情報共有装置について説明する。図面の記載において同一部分には同一符号を付して説明を省略する。
【0010】
[楽曲情報共有システムの構成]
図1を参照し、本実施形態に係る楽曲情報共有装置を備えた楽曲情報共有システムの構成を説明する。図1は、本実施形態に係る楽曲情報共有システムの構成を示すブロック図である。図1に示すように、楽曲情報共有システム1は、楽曲情報共有装置3と、他車両5とを備えている。また、楽曲情報共有装置3は、自車両に搭載された周囲環境センサ群11と、車両挙動センサ群12と、ナビゲーション装置13と、車内カメラ14と、車内センサ15と、スピーカ16に接続されている。
(【0011】以降は省略されています)
この特許をJ-PlatPat(特許庁公式サイト)で参照する
関連特許
日産自動車株式会社
吸気装置
3日前
日産自動車株式会社
保持機構
1か月前
日産自動車株式会社
内燃機関
22日前
日産自動車株式会社
保持機構
1か月前
日産自動車株式会社
二次電池
1か月前
日産自動車株式会社
二次電池
1か月前
日産自動車株式会社
電子機器
9日前
日産自動車株式会社
電動車両
25日前
日産自動車株式会社
積層型電池
1か月前
日産自動車株式会社
面圧付与機構
1か月前
日産自動車株式会社
面圧付与機構
1か月前
日産自動車株式会社
電池モジュール
1か月前
日産自動車株式会社
ロータシャフト
17日前
日産自動車株式会社
電池モジュール
1日前
日産自動車株式会社
ロータシャフト
17日前
日産自動車株式会社
電池モジュール
23日前
日産自動車株式会社
車両用排気部構造
22日前
日産自動車株式会社
リチウム二次電池
22日前
日産自動車株式会社
リチウム二次電池
1か月前
日産自動車株式会社
塗装方法及び自動車
24日前
日産自動車株式会社
エアレスタイヤ構造
9日前
日産自動車株式会社
全固体電池システム
1日前
日産自動車株式会社
支援方法及び支援装置
3日前
日産自動車株式会社
ピックアップトラック
3日前
日産自動車株式会社
ギヤ装置のブリーザ構造
1か月前
日産自動車株式会社
パワー半導体モジュール
1日前
日産自動車株式会社
エンジンのアンダカバー
1か月前
株式会社ニフコ
締結構造
1か月前
日産自動車株式会社
車両用荷室における排熱構造
1か月前
日産自動車株式会社
車両乗り合わせ方法及び装置
2日前
日産自動車株式会社
相乗り可否判定方法及び装置
1か月前
日産自動車株式会社
画像表示方法及び画像表示装置
1か月前
日産自動車株式会社
画像処理方法及び画像処理装置
1か月前
日産自動車株式会社
車両制御装置及び車両制御方法
1か月前
日産自動車株式会社
配車管理装置及び配車管理方法
1か月前
日産自動車株式会社
情報処理装置及び情報処理方法
1日前
続きを見る
他の特許を見る